h1_key

TI(德州仪器) TPS61161-Q1
德州仪器 (TI) 全系列产品在线购买
  • TI(德州仪器) TPS61161-Q1
  • TI(德州仪器) TPS61161-Q1
  • TI(德州仪器) TPS61161-Q1
  • TI(德州仪器) TPS61161-Q1
  • TI(德州仪器) TPS61161-Q1
  • TI(德州仪器) TPS61161-Q1
立即查看
您当前的位置: 首页 > 电源管理 > LED 驱动器 > 汽车 LED 驱动器 > TPS61161-Q1
TPS61161-Q1

TPS61161-Q1

正在供货

采用 2mm x 2mm QFN 封装且具有数字和 PWM 亮度控制功能的汽车类白光 LED 驱动器

产品详情
  • 说明
  • 特性
  • 参数
  • 封装 | 引脚 | 尺寸

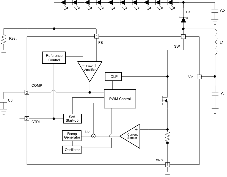
With a 40-V rated integrated switch FET, the TPS61161-Q1 is a boost converter that drives up to 10 LEDs in series. The boost converter runs at 600-kHz fixed switching frequency to reduce output ripple, improve conversion efficiency, and allow for the use of small external components.

The default white LED current is set with the external sensor resistor Rset, and the feedback voltage is regulated to 200 mV, as shown in the typical application. During the operation, the LED current can be controlled using the 1-wire digital interface (EasyScale protocol) through the CTRL pin. Alternatively, a pulse width modulation (PWM) signal can be applied to the CTRL pin through which the duty cycle determines the feedback reference voltage. In either digital or PWM mode, the TPS61161-Q1 does not burst the LED current; therefore, it does not generate audible noises on the output capacitor. For maximum protection, the device features integrated open LED protection that disables the TPS61161-Q1 to prevent the output from exceeding the absolute maximum ratings during open LED conditions.

The TPS61161 is available in a space-saving, 2-mm × 2-mm QFN (DRV) package with thermal pad.

  • Qualified for Automotive Applications
  • 2.7-V to 18-V Input Voltage Range
  • 38-V Open LED Protection for 10 LEDs
  • 200-mV Reference Voltage With ±2% Accuracy
  • Flexible Digital and PWM Brightness Control
  • Built-In Soft Start
  • Up to 90% Efficiency
  • 2-mm × 2-mm × 0.8-mm 6-pin QFN (DRV)
    Package With Thermal Pad
Number of channels1
TopologyBoost
RatingAutomotive
Operating temperature range (°C)-40 to 125
Vin (min) (V)2.7
Vin (max) (V)18
Vout (min) (V)2.7
Vout (max) (V)38
Iout (max) (A)0.02
Iq (typ) (mA)1.5
Switching frequency (max) (kHz)600
FeaturesGlobal dimming, Thermal shutdown
WSON (DRV)64 mm² 2 x 2
产品购买
  • 商品型号
  • 封装
  • 工作温度
  • 包装
  • 价格
  • 现货库存
  • 操作
10s
温馨提示:
订单商品问题请移至我的售后服务提交售后申请,其他需投诉问题可移至我的投诉提交,我们将在第一时间给您答复
返回顶部