h1_key

TI(德州仪器) TLC5947
德州仪器 (TI) 全系列产品在线购买
  • TI(德州仪器) TLC5947
  • TI(德州仪器) TLC5947
  • TI(德州仪器) TLC5947
  • TI(德州仪器) TLC5947
  • TI(德州仪器) TLC5947
  • TI(德州仪器) TLC5947
立即查看
您当前的位置: 首页 > 电源管理 > LED 驱动器 > RGB LED 驱动器 > TLC5947
TLC5947

TLC5947

正在供货

具有内部振荡器的 24 通道 12 位 PWM LED 驱动器

产品详情
  • 说明
  • 特性
  • 参数
  • 封装 | 引脚 | 尺寸

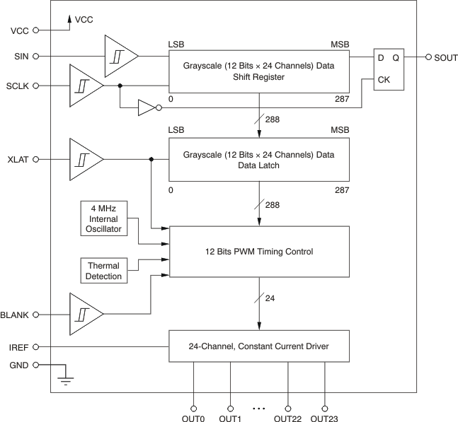
The TLC5947 is a 24-channel, constant-current sink LED driver. Each channel is individually adjustable with 4096 pulse-width modulated (PWM) steps. PWM control is repeated automatically with the programmed grayscale (GS) data. GS data are written via a serial interface port. The current value of all 24 channels is set by a single external resistor.

The TLC5947 has a thermal shutdown (TSD) function that turns off all output drivers during an over-temperature condition. All of the output drivers automatically restart when the temperature returns to normal conditions.

  • 24 Channels, Constant-Current Sink Output
  • 30-mA Capability (Constant-Current Sink)
  • 12-Bit (4096 Steps) PWM Grayscale Control
  • LED Power-Supply Voltage Up to 30 V
  • VCC = 3.0 V to 5.5 V
  • Constant-Current Accuracy:
    • Channel-to-Channel = ±2% (Typical)
    • Device-to-Device = ±2% (Typical)
  • CMOS Logic Level I/O
  • 30-MHz Data Transfer Rate (Standalone)
  • 15-MHz Data Transfer Rate (Cascaded Devices,
    SCLK Duty = 50%)
  • Shift Out Data Changes With Falling Edge to
    Avoid Data Shift Errors
  • Auto Display Repeat
  • 4-MHz Internal Oscillator
  • Thermal Shutdown (TSD):
    • Automatic Shutdown at OverTemperature Conditions
    • Restart Under Normal Temperature
  • Noise Reduction:
    • 4-Channel Grouped Delay to Prevent Inrush Current
  • Operating Temperature: –40°C to 85°C
Number of channels24
LED current per channel (mA)30
Vin (min) (V)3
Vin (max) (V)5.5
FeaturesPWM control, Thermal shutdown
Operating temperature range (°C)-40 to 85
RatingCatalog
HTSSOP (DAP)3289.1 mm² 11 x 8.1
VQFN (RHB)3225 mm² 5 x 5
产品购买
  • 商品型号
  • 封装
  • 工作温度
  • 包装
  • 价格
  • 现货库存
  • 操作
10s
温馨提示:
订单商品问题请移至我的售后服务提交售后申请,其他需投诉问题可移至我的投诉提交,我们将在第一时间给您答复
返回顶部