h1_key

TI(德州仪器) TPS61161
德州仪器 (TI) 全系列产品在线购买
  • TI(德州仪器) TPS61161
  • TI(德州仪器) TPS61161
  • TI(德州仪器) TPS61161
  • TI(德州仪器) TPS61161
  • TI(德州仪器) TPS61161
  • TI(德州仪器) TPS61161
立即查看
您当前的位置: 首页 > 电源管理 > LED 驱动器 > 背光 LED 驱动器 > TPS61161
TPS61161

TPS61161

正在供货

采用 2mm x 2mm WSON 封装且具有数字和 PWM 亮度控制功能的白光 LED 驱动器

产品详情
  • 说明
  • 特性
  • 参数
  • 封装 | 引脚 | 尺寸

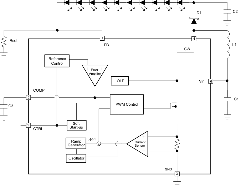
With a 40-V rated integrated switch FET, the TPS61160 and TPS61161 are boost converters that drive LEDs in series. The boost converters run at 600-kHz fixed switching frequency to reduce output ripple, improve conversion efficiency, and allow for the use of small external components.

The default white LED current is set with the external sensor resistor RSET, and the feedback voltage is regulated to 200 mV, as shown in the . During the operation, the LED current can be controlled using the one-wire digital interface (EasyScale protocol) through the CTRL pin. Alternatively, a pulse width modulation (PWM) signal can be applied to the CTRL pin through which the duty cycle determines the feedback reference voltage. In either digital or PWM mode, the TPS61160 and TPS61161 do not burst the LED current; therefore, they do not generate audible noises on the output capacitor. For maximum protection, the device features integrated open LED protection that disable the TPS61160 and/or TPS61161 to prevent the output voltage from exceeding the device's absolute maximum voltage ratings during open LED conditions.

The TPS61160 and TPS61161 are available in a space-saving, 2-mm × 2-mm WSON package with thermal pad.

For all available packages, see the orderable addendum at the end of the data sheet.

  • 2.7-V to 18-V Input Voltage Range
  • 26-V Open LED Protection (TPS61160)
  • 38-V Open LED Protection (TPS61161)
  • 200-mV Reference Voltage With ±2% Accuracy
  • Flexible Digital and PWM Brightness Control
  • Built-in Soft Start
  • Up to 90% Efficiency
Number of channels1
Vin (min) (V)2.7
Vin (max) (V)18
Vout (min) (V)2.7
Vout (max) (V)38
TypeInductive
Switching frequency (max) (kHz)600
Duty cycle (max) (%)93
LED current per channel (mA)20
Peak efficiency (%)90
TopologyBoost
FeaturesEasyScale 1-Wire Interface, Load Disconnect During Shutdown
Operating temperature range (°C)-40 to 85
RatingCatalog
WSON (DRV)64 mm² 2 x 2
产品购买
  • 商品型号
  • 封装
  • 工作温度
  • 包装
  • 价格
  • 现货库存
  • 操作
10s
温馨提示:
订单商品问题请移至我的售后服务提交售后申请,其他需投诉问题可移至我的投诉提交,我们将在第一时间给您答复
返回顶部