h1_key

TI(德州仪器) LP5523
德州仪器 (TI) 全系列产品在线购买
  • TI(德州仪器) LP5523
  • TI(德州仪器) LP5523
  • TI(德州仪器) LP5523
  • TI(德州仪器) LP5523
  • TI(德州仪器) LP5523
  • TI(德州仪器) LP5523
立即查看
您当前的位置: 首页 > 电源管理 > LED 驱动器 > RGB LED 驱动器 > LP5523
LP5523

LP5523

正在供货

具有内部程序存储器和集成电荷泵的 9 通道 RGB/白光 LED 驱动器 - DSBGA

产品详情
  • 说明
  • 特性
  • 参数
  • 封装 | 引脚 | 尺寸

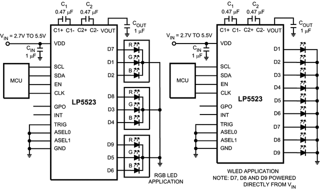
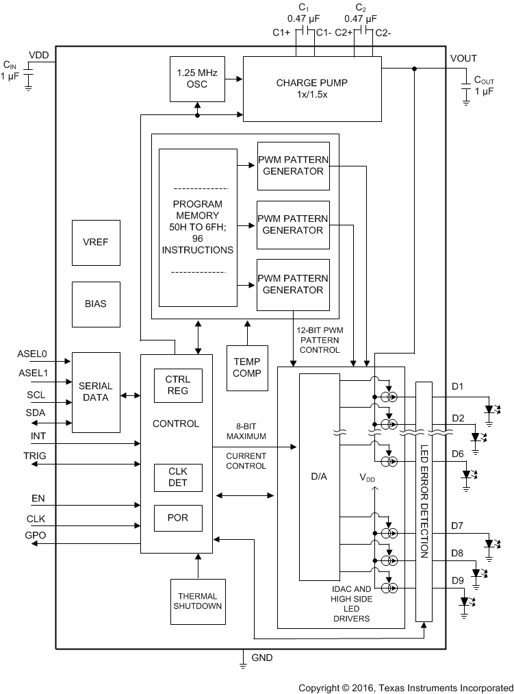
The LP5523 is a 9-channel LED driver designed to produce lighting effects for mobile devices. A high-efficiency charge pump enables LED driving over full Li-Ion battery voltage range. The device is equipped with an internal program memory, which allows operation without processor control.

The LP5523 maintains excellent efficiency over a wide operating range by autonomously selecting the best charge-pump gain based on LED forward voltage requirements. The LP5523 is able to automatically enter power-save mode when LED outputs are not active, thus lowering idle current consumption down to 10 µA (typical).

The LP5523 has an I2C-compatible control interface with four pin selectable addresses. The device has a flexible general purpose output (GPO), which can be used as a digital control pin for other devices. INT pin can be used to notify processor when a lighting sequence has ended (interrupt function). Also, the device has a trigger input interface, which allows synchronization, for example, between multiple LP5523 devices.

The device requires only four small, low-cost ceramic capacitors. The LP5523 is available in a tiny 25-pin DSBGA package (0.4-mm pitch).

For all available packages, see the orderable addendum at the end of the data sheet.

  • Three Independent Program Execution Engines, Nine Programmable Outputs with 25.5-mA Full-Scale Current, 8-Bit Current Setting Resolution, and 12-Bit PWM Control Resolution
  • Adaptive High-Efficiency 1×/1.5× Fractional Charge Pump - Efficiency Up to 94%
  • LED Drive Efficiency Up to 93%
  • Charge Pump With Soft Start and Overcurrent and Short-Circuit Protection
  • Built-in LED Test
  • 200-nA Typical Standby Current
  • Automatic Power-Save Mode
    IVDD = 10 µA (Typical)
  • Two-Wire I2C-Compatible Control Interface
  • Flexible Instruction Set
  • Large SRAM Program Memory
  • Small Application Circuit
  • Source (High-Side) Drivers
  • Architecture Supports Color Control
Number of channels9
LED current per channel (mA)25.5
LED configurationParallel
Program memoryYes
TopologyCharge pump
Programmable ramp controlYes
Vin (min) (V)2.7
Vin (max) (V)5.5
Iout (max) (A)0.225
FeaturesAnalog/PWM mixed dimming, Constant current, Current control, I2C control, Power-save mode, Programmable lighting engines
Iq (typ) (mA)0.8
Shutdown current (ISD) (typ) (µA)0.2
Operating temperature range (°C)-30 to 85
RatingCatalog
DSBGA (YFQ)254.84 mm² 2.2 x 2.2
产品购买
  • 商品型号
  • 封装
  • 工作温度
  • 包装
  • 价格
  • 现货库存
  • 操作
10s
温馨提示:
订单商品问题请移至我的售后服务提交售后申请,其他需投诉问题可移至我的投诉提交,我们将在第一时间给您答复
返回顶部