h1_key

TI(德州仪器) LM27964
德州仪器 (TI) 全系列产品在线购买
  • TI(德州仪器) LM27964
  • TI(德州仪器) LM27964
  • TI(德州仪器) LM27964
  • TI(德州仪器) LM27964
  • TI(德州仪器) LM27964
  • TI(德州仪器) LM27964
立即查看
您当前的位置: 首页 > 电源管理 > LED 驱动器 > 背光 LED 驱动器 > LM27964
LM27964

LM27964

正在供货

具有 I2C 兼容亮度控制功能的白光 LED 驱动器系统

产品详情
  • 说明
  • 特性
  • 参数
  • 封装 | 引脚 | 尺寸

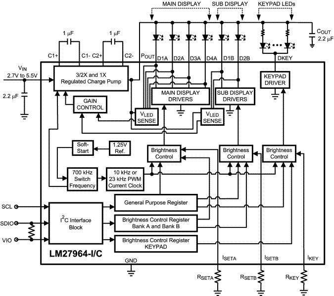
The LM27964 is a charge-pump-based white-LED driver that is ideal for mobile phone display backlighting. The LM27964 can drive up to 6 LEDs in parallel along with multiple keypad LEDs, with a total output current up to 180mA. Regulated internal current sources deliver excellent current matching in all LEDs.

The LED driver current sources are split into two independently controlled groups. The primary group (4 LEDs) can be used to backlight the main phone display and the second group (2 LEDs) can be used to backlight a secondary display. A single Keypad LED driver can power up to 16 keypad LEDs with a current of 5mA each. The LM27964 has an I2C compatible interface that allows the user to independently control the brightness on each bank of LEDs.

The LM27964 works off an extended Li-Ion input voltage range (2.7V to 5.5V). The device provides excellent efficiency without the use of an inductor by operating the charge pump in a gain of 3/2, or in Pass-Mode. The proper gain for maintaining current regulation is chosen, based on LED forward voltage, so that efficiency is maximized over the input voltage range.

The LM27964 is available in TI's small 24-pin WQFN Package (WQFN-24).

  • 87% Peak LED Drive Efficiency
  • 0.2% Current Matching between Current Sinks
  • Drives 6 LEDs with up to 30mA per LED in Two Distinct Groups, for Backlighting Two Displays (main LCD and sub LCD)
  • Dedicated Keypad LED Driver with up to 80mA of Drive Current
  • Independent Resistor-Programmable Current Settings
  • I2C Compatible Brightness Control Interface
  • Adaptive 1×- 3/2× Charge Pump
  • Extended Li-Ion Input: 2.7V to 5.5V
  • Small Low Profile Industry Standard Leadless Package, WQFN-24 : (4mm x 4mm x 0.8mm)
  • LM27964SQ-I LED PWM Frequency = 10kHz, LM27964SQ-C LED PWM frequency = 23kHz

All trademarks are the property of their respective owners.

Number of channels7
Vin (min) (V)2.7
Vin (max) (V)5.5
Vout (min) (V)2.7
Vout (max) (V)5.5
TypeCapacitive
Switching frequency (max) (kHz)900
Duty cycle (max) (%)100
LED current per channel (mA)30
Peak efficiency (%)87
TopologyBoost
FeaturesI2C control
Operating temperature range (°C)-30 to 85
RatingCatalog
WQFN (RTW)2416 mm² 4 x 4
产品购买
  • 商品型号
  • 封装
  • 工作温度
  • 包装
  • 价格
  • 现货库存
  • 操作
10s
温馨提示:
订单商品问题请移至我的售后服务提交售后申请,其他需投诉问题可移至我的投诉提交,我们将在第一时间给您答复
返回顶部