h1_key

TI(德州仪器) TPS62110
德州仪器 (TI) 全系列产品在线购买
  • TI(德州仪器) TPS62110
  • TI(德州仪器) TPS62110
  • TI(德州仪器) TPS62110
  • TI(德州仪器) TPS62110
  • TI(德州仪器) TPS62110
  • TI(德州仪器) TPS62110
立即查看
您当前的位置: 首页 > 电源管理 > 直流/直流开关稳压器 > 降压稳压器 > TPS62110
TPS62110

TPS62110

正在供货

采用 QFN-16 封装的可调节 1.5A、17V 输入电压降压转换器

产品详情
  • 说明
  • 特性
  • 参数
  • 封装 | 引脚 | 尺寸

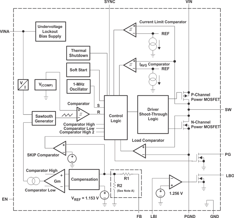
The TPS6211x devices are a family of low-noise synchronous step-down DC-DC converters that are ideally suited for systems powered from a 2- to 4-cell Li-ion battery or from a 12-V or 15-V rail.

The TPS6211x devices are synchronous pulse width modulation (PWM) converters with integrated N- and P-channel power MOSFET switches. Synchronous rectification is used to increase efficiency and to reduce external component count. To achieve highest efficiency over a wide load-current range, the converter enters a power-saving, pulse frequency modulation (PFM) mode at light load currents. Operating frequency is typically 1 MHz, allowing the use of small inductor and capacitor values. The device can be synchronized to an external clock signal in the range of 0.8 MHz to 1.4 MHz. For low-noise operation, the converter can be operated in PWM-only mode. In shutdown mode, the current consumption is reduced to less than 2 µA. The TPS6211x family of devices are available in the 16-pin (RSA) VQFN package, and operate over a free-air temperature range of –40°C to 85°C.

  • High-Efficiency Synchronous Step-Down
    Converter With up to 95% Efficiency
  • 3.1-V to 17-V Operating Input Voltage Range
  • Adjustable Output Voltage Range: 1.2 V to 16 V
  • Fixed Output Voltage Options Available in
    3.3 V and 5 V
  • Synchronizable to External Clock: Up to 1.4 MHz
  • Up to 1.5-A Output Current
  • High Efficiency Over a Wide Load-Current
    Range Due to PFM/PWM Operation Mode
  • 100% Maximum Duty Cycle for Lowest Dropout
  • 20-µA Quiescent Current (Typical)
  • Overtemperature and Overcurrent Protected
  • Available in 16-Pin VQFN Package
Vin (min) (V)3.1
Vin (max) (V)17
Vout (min) (V)1.2
Vout (max) (V)16
Iout (max) (A)1.5
Iq (typ) (mA)0.02
Switching frequency (min) (kHz)900
Switching frequency (max) (kHz)1100
FeaturesEnable, Forced PWM, Frequency synchronization, Light Load Efficiency, Power good, Synchronous Rectification
Operating temperature range (°C)-40 to 85
RatingCatalog
Regulated outputs (#)1
Control modeVoltage mode
Duty cycle (max) (%)100
TypeConverter
VQFN (RSA)1616 mm² 4 x 4
产品购买
  • 商品型号
  • 封装
  • 工作温度
  • 包装
  • 价格
  • 现货库存
  • 操作
10s
温馨提示:
订单商品问题请移至我的售后服务提交售后申请,其他需投诉问题可移至我的投诉提交,我们将在第一时间给您答复
返回顶部