h1_key

TI(德州仪器) TPS61071
德州仪器 (TI) 全系列产品在线购买
  • TI(德州仪器) TPS61071
  • TI(德州仪器) TPS61071
  • TI(德州仪器) TPS61071
  • TI(德州仪器) TPS61071
  • TI(德州仪器) TPS61071
  • TI(德州仪器) TPS61071
立即查看
您当前的位置: 首页 > 电源管理 > 直流/直流开关稳压器 > 升压稳压器 > TPS61071
TPS61071

TPS61071

正在供货

采用 ThinSOT-23 封装且具有强制 PWM 模式的可调节 600mA 开关、1200kHz 升压转换器

产品详情
  • 说明
  • 特性
  • 参数
  • 封装 | 引脚 | 尺寸

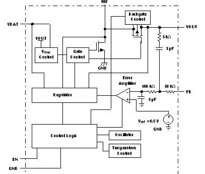
TPS6107x 器件为那些采用单节、双节或三节碱性电池、镍镉电池或镍氢电池供电的产品或单节锂离子电池或锂聚合物电池供电的产品提供了一款电源解决方案。 当采用单节碱性电池时,输出电流可变至高达 75 mA,并将电池放电到低至 0.9 V。它还可用于依靠一个3.3V 电压轨或单节锂离子电池产生 5V/200mA 输出。 升压转换器基于一个采用同步整流器的固定频率、脉宽调制 (PWM) 控制器,旨在实现最高的效率。 在低负载电流条件下,TPS61070 和 TPS61073 进入省电模式,以在宽负载电流范围内保持高效率。 在 TPS61071 和 TPS61072 中,省电模式被停用,因而强制转换器在某个固定的开关频率条件下操作。 升压开关中的最大峰值电流通常被限制为 600 mA。

TPS6107x 的输出电压由一个外部电阻分压器来设置。 可以停用转换器以最大限度地减少电池消耗。 在停机期间,将负载与电池完全断开。 该器件采用 6 引脚薄型 SOT23 封装 (DDC)。

  • 90% 高效同步升压转换器
    • 在 3.3 V 电压下可提供 75 mA 输出电流 (采用 0.9 V 输入时)
    • 在 3.3 V 电压下可提供 150 mA 输出电流 (采用 1.8 V 输入时)
  • 器件静态电流:19 µA(典型值)
  • 输入电压范围:0.9V 至 5.5V
  • 可调输出电压高达 5.5 V
  • 可提供省电模式版本,以
    改善低输出功率时的效率
  • 停机期间负载断开
  • 过温保护
  • 小型 6 引脚 Thin SOT23 封装
TopologyBoost
Vin (min) (V)0.9
Vin (max) (V)5.5
Vout (min) (V)1.8
Vout (max) (V)5.5
Switch current limit (typ) (A)0.7
TypeConverter
Regulated outputs (#)1
Switching frequency (min) (kHz)960
Switching frequency (max) (kHz)1440
Iq (typ) (mA)0.019
FeaturesSynchronous Rectification
Duty cycle (max) (%)100
Operating temperature range (°C)-40 to 85
RatingCatalog
SOT-23-THN (DDC)68.12 mm² 2.9 x 2.8
产品购买
  • 商品型号
  • 封装
  • 工作温度
  • 包装
  • 价格
  • 现货库存
  • 操作
10s
温馨提示:
订单商品问题请移至我的售后服务提交售后申请,其他需投诉问题可移至我的投诉提交,我们将在第一时间给您答复
返回顶部