h1_key

TI(德州仪器) UC2573
德州仪器 (TI) 全系列产品在线购买
  • TI(德州仪器) UC2573
  • TI(德州仪器) UC2573
  • TI(德州仪器) UC2573
  • TI(德州仪器) UC2573
  • TI(德州仪器) UC2573
  • TI(德州仪器) UC2573
立即查看
您当前的位置: 首页 > 电源管理 > 直流/直流开关稳压器 > 降压稳压器 > UC2573
UC2573

UC2573

正在供货

降压脉宽调制器步降稳压器

产品详情
  • 说明
  • 特性
  • 参数
  • 封装 | 引脚 | 尺寸

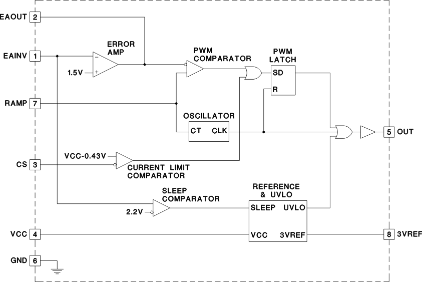
The UC3573 is a Buck pulse width modulator which steps down and regulates a positive input voltage. The chip is optimized for use in a single inductor buck switching converter employing an external PMOS switch. The block diagram consists of a precision reference, an error amplifier configured for voltage mode operation, an oscillator, a PWM comparator with latching logic, and a 0.5A peak gate driver. The UC3573 includes an undervoltage lockout circuit to insure sufficient input supply voltage is present before any switching activity can occur, and a pulse-by-pulse current limit. Input current can be sensed and limited to a user determined maximum value. In addition, a sleep comparator interfaces to the UVLO circuit which turns the chip off when the input voltage is below the UVLO threshold. This reduces the supply current to only 50uA, making the UC3573 ideal for battery powered applications.

  • Simple Single Inductor Buck PWM Stepdown Voltage Regulation
  • Drives External PMOS Switch
  • Contains UVLO Circuit
  • Includes Pulse-by-Pulse Current Limit
  • Low 50µA Sleep Mode Current
Vin (min) (V)4.2
Vin (max) (V)35
Vout (min) (V)1.5
Vout (max) (V)30
Iout (max) (A)0.5
Iq (typ) (mA)9
Switching frequency (min) (kHz)200
Switching frequency (max) (kHz)300
FeaturesEnable
Operating temperature range (°C)-40 to 85
Regulated outputs (#)1
Number of phases1
RatingCatalog
Control modeVoltage mode
TypeController
SOIC (D)829.4 mm² 4.9 x 6
产品购买
  • 商品型号
  • 封装
  • 工作温度
  • 包装
  • 价格
  • 现货库存
  • 操作
10s
温馨提示:
订单商品问题请移至我的售后服务提交售后申请,其他需投诉问题可移至我的投诉提交,我们将在第一时间给您答复
返回顶部