h1_key

TI(德州仪器) AWRL6432
德州仪器 (TI) 全系列产品在线购买
  • TI(德州仪器) AWRL6432
  • TI(德州仪器) AWRL6432
  • TI(德州仪器) AWRL6432
  • TI(德州仪器) AWRL6432
  • TI(德州仪器) AWRL6432
  • TI(德州仪器) AWRL6432
立即查看
您当前的位置: 首页 > 传感器 > 毫米波雷达传感器 > 汽车毫米波雷达传感器 > AWRL6432
AWRL6432

AWRL6432

正在供货

单芯片低功耗 57GHz 至 64GHz 汽车毫米波雷达传感器

产品详情
  • 说明
  • 特性
  • 参数
  • 封装 | 引脚 | 尺寸

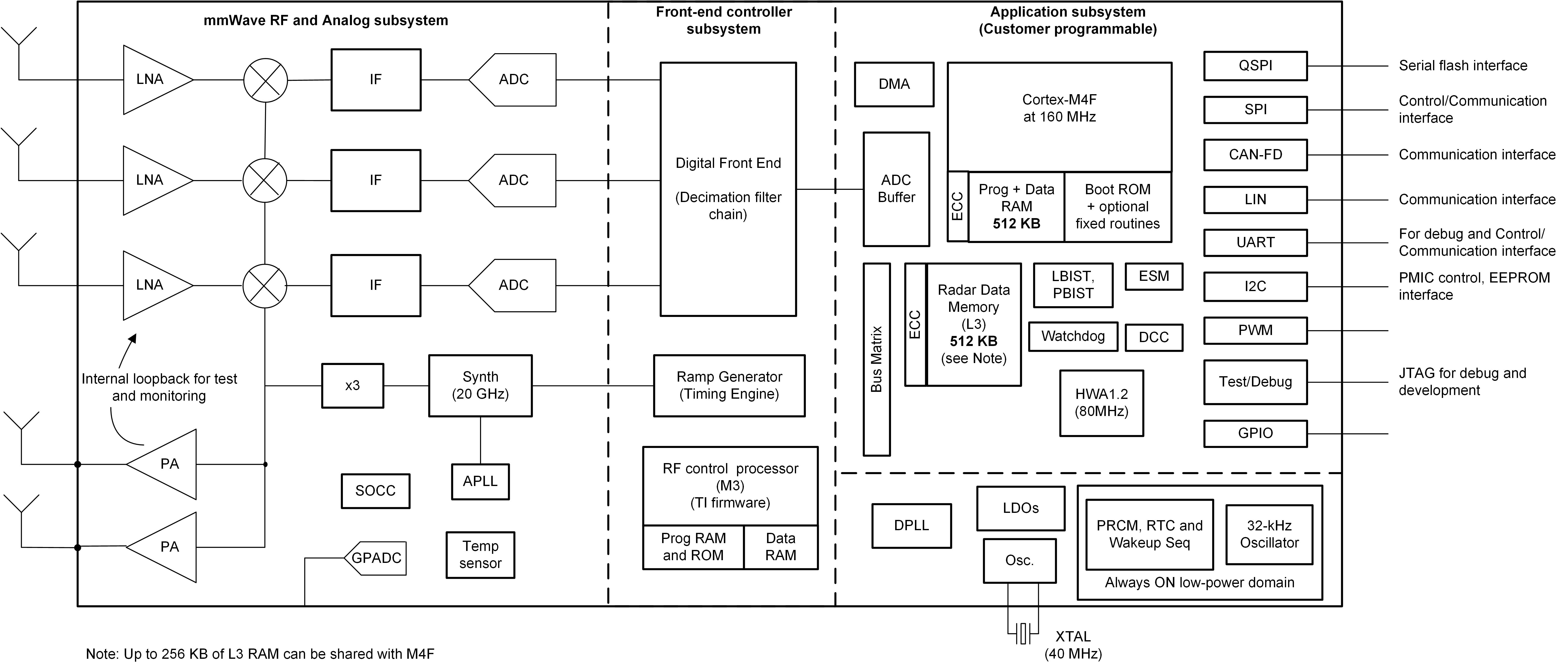
AWRL6432 毫米波传感器器件是一款基于 FMCW 雷达技术的集成式单芯片毫米波传感器。该器件能够在 57GHz 至 64GHz 频段内运行,主要分为四个电源域:

  • 射频/模拟子系统:该块包含发送和接收射频信号所需的所有射频和模拟元件。
  • 前端控制器子系统 (FECSS):FECSS 包含负责雷达前端配置、控制和校准的处理器。
  • 应用子系统 (APPSS):在 APPSS 中,该器件实现了一个用户可编程的 ARM Cortex M4,允许自定义控制和汽车接口应用。顶部子系统 (TOPSS) 是 APPSS 电源域的一部分,包含时钟和电源管理子块。
  • 硬件加速器 (HWA):HWA 块通过卸载通用雷达处理(例如 FFT、恒定误报率 (CFAR)、缩放和压缩)来对 APPSS 进行补充。

AWRL6432 专为上述每个电源域配备单独的旋钮,可根据用例要求控制其状态(上电或断电)。该器件还具有运行各种低功耗状态(如睡眠和深度睡眠)的功能,其中低功耗睡眠模式是通过时钟门控和关闭器件的内部 IP 块来实现的。该器件还提供了保留器件某些内容的选项,例如在此类情况下保留的应用图像或射频配置文件。

此外,该器件采用 TI 的低功耗 45nm RF CMOS 工艺制造,以超小的外形尺寸实现了出色的集成度。AWRL6432 专为汽车领域的低功耗、自监控、超精确雷达系统而设计,适用于车内儿童检测、入侵监测、手势检测和占位检测等应用。

  • FMCW 收发器
    • 集成 PLL、发送器、接收器、基带和 ADC
    • 57GHz - 64GHz 的覆盖范围,具有 7GHz 的连续带宽
    • 3 个接收通道和 2 个发送通道
    • 短距离(通常可达 25m)
    • 每个 Tx 的输出功率典型值为 11dBm
    • 12.5dB 典型噪声系数
    • 1MHz 时的典型相位噪声为 -89dBc/Hz
    • FMCW 运行
    • 5MHz IF 带宽,仅实部 Rx 通道
    • 基于分数 N PLL 的超精确线性调频脉冲引擎
    • 每个发送器二进制移相器
  • 处理要素
    • 具有单精度 FPU (160MHz) 的 Arm M4F 内核
    • 用于 FFT、对数幅度和 CFAR 运算 (80MHz) 的 TI 雷达硬件加速器 (HWA 1.2)
  • 支持多个低功耗模式
    • 空闲模式和深度睡眠模式
  • 电源管理
    • 1.8V 与 3.3V IO 支持
    • 内置的 LDO 网络,可增强 PSRR
    • BOM 优化模式和低功耗模式
    • 一个或两个电源轨适用于 1.8V IO 模式,两个或三个电源轨适用于 3.3V IO 模式
  • 封装尺寸:6.45mm × 6.45mm 器件
  • 内置校准和自检
    • 内置的固件 (ROM)
    • 片上自包含校准系统
  • 主机接口
    • UART
    • CAN-FD
    • SPI
    • LIN
  • 用于原始 ADC 样本采集的 RDIF(雷达数据接口)
  • 为用户应用提供的其他接口
    • QSPI
    • I2C
    • JTAG
    • GPIO
    • PWM 接口
  • 内部存储器
    • 1MB 片上 RAM
    • 用于雷达立方体的可配置 L3 共享存储器
    • (512/640/768KB) 的数据和代码 RAM
  • 以功能安全合规型为目标
    • 专为功能安全应用开发
    • 以硬件完整性高达 ASIL B 级为目标
  • 具有 12 x 12、102 个 BGA 焊球的 FCCSP 封装
  • 符合 AEC Q-100 标准
  • 时钟源
    • 用于主时钟的 40.0MHz 晶体
    • 支持外部驱动、频率为 40.0 MHz 的时钟(方波/正弦波)
    • 用于低功耗运行的 32kHz 内部振荡器
  • 支持工作温度范围
    • 工作结温范围:–40°C 至 125°C
Frequency range57 - 64 GHz
Number of receivers3
Number of transmitters2
ADC sampling rate (max) (Msps)12.5
Arm CPUArm Cortex-M4F at 160 MHz
Interface typeCAN-FD, I2C, LIN, QSPI, SPI, UART
Hardware acceleratorsRadar hardware accelerator
RAM (kByte)1024
RatingAutomotive
Operating temperature range (°C)-40 to 125
Power supply solutionLP87524B-Q1, LP87524J-Q1, LP87524P-Q1, LP87702-Q1
FCCSP (AMF)10241.6025 mm² 6.45 x 6.45
产品购买
  • 商品型号
  • 封装
  • 工作温度
  • 包装
  • 价格
  • 现货库存
  • 操作

很抱歉,暂时无法提供与“AWRL6432”系列相匹配的产品,您可以联系专属客服快速找货或在现货搜索框中重新搜索。

10s
温馨提示:
订单商品问题请移至我的售后服务提交售后申请,其他需投诉问题可移至我的投诉提交,我们将在第一时间给您答复
返回顶部