h1_key

TI(德州仪器) AWR1843AOP
德州仪器 (TI) 全系列产品在线购买
  • TI(德州仪器) AWR1843AOP
  • TI(德州仪器) AWR1843AOP
  • TI(德州仪器) AWR1843AOP
  • TI(德州仪器) AWR1843AOP
  • TI(德州仪器) AWR1843AOP
  • TI(德州仪器) AWR1843AOP
立即查看
您当前的位置: 首页 > 传感器 > 毫米波雷达传感器 > 汽车毫米波雷达传感器 > AWR1843AOP
AWR1843AOP

AWR1843AOP

正在供货

集成封装天线、DSP 和 MCU 的单芯片 76GHz 至 81GHz 汽车雷达传感器

产品详情
  • 说明
  • 特性
  • 参数
  • 封装 | 引脚 | 尺寸

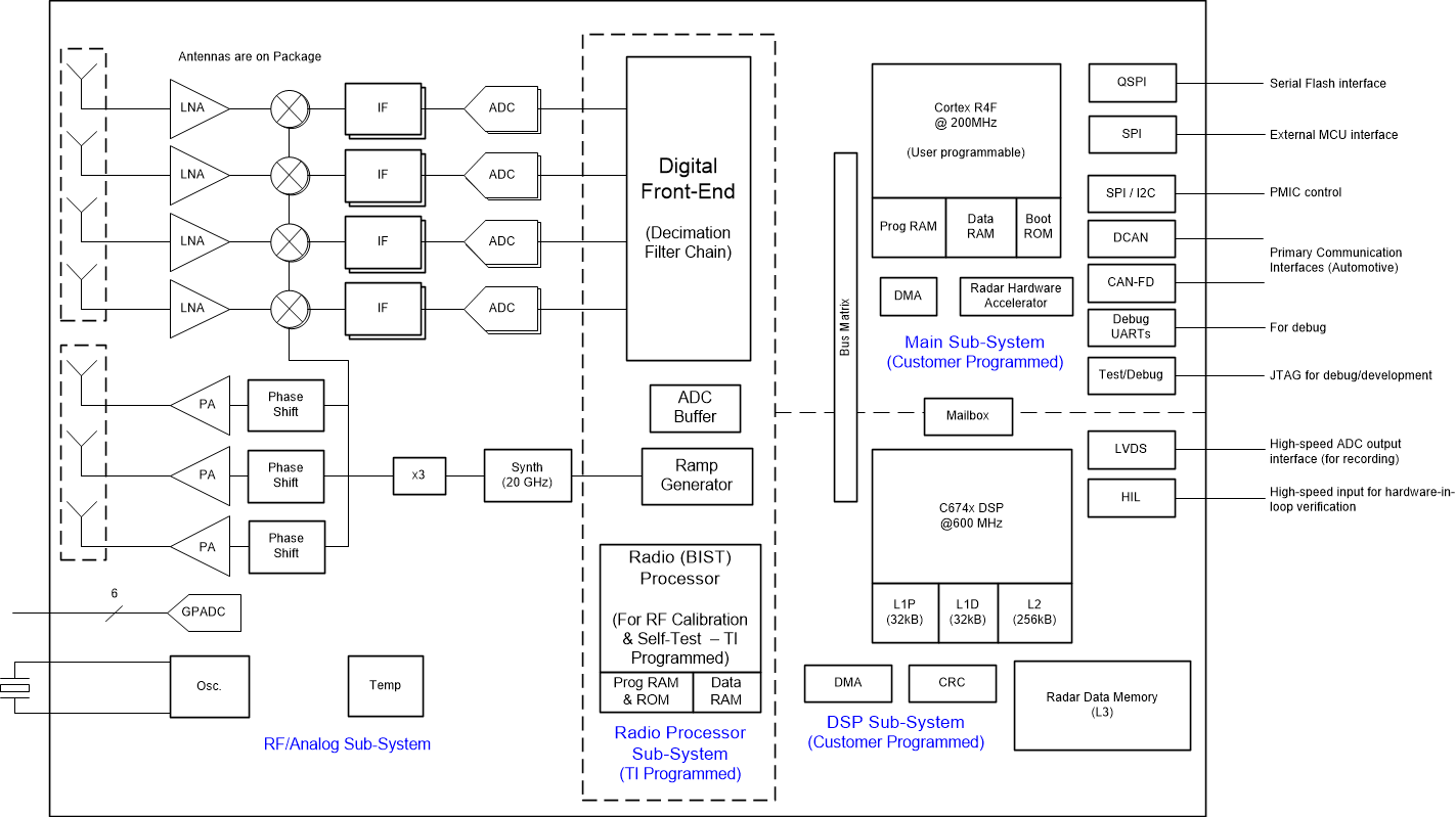
AWR1843AOP 是一款能够在 76GHz 至 81GHz 频带内运行的封装天线器件。该器件采用 TI 的低功耗 45nm RFCMOS 工艺进行构建,并且在超小封装中实现了出色的集成度。AWR1843AOP 是适用于汽车领域中低功耗、自监控、超精确雷达系统的理想解决方案。

它集成了一个 DSP 子系统,该子系统包含 TI 用于雷达信号处理的高性能 C674x DSP。该器件包含一个 BIST 处理器子系统,该子系统负责无线电配置、控制和校准。此外,该器件还包含用于汽车连接的用户可编程 Arm Cortex-R4F。硬件加速器区块 (HWA) 可执行雷达处理,并减轻 DSP 上的负载,从而执行更高级的算法。简单编程模型更改可支持各种传感器应用,并且能够进行动态重新配置,从而实现多模式传感器。此外,该器件作为完整的平台解决方案进行提供,该解决方案包括硬件参考设计、软件驱动程序、样例配置、API 指南以及用户文档。

  • FMCW 收发器
    • 集成 4 个接收器和 3 个发送器的封装天线 (AOP)
    • 集成 PLL、发送器、接收器、基带和 ADC
    • 76GHz 至 81GHz 的覆盖范围,具有 4GHz 的可用带宽
    • 基于分数 N PLL 的超精确线性调频脉冲引擎
    • TX 有效全向辐射功率 (EIRP):16dBm
    • RX 有效全向噪声图:10dB(76 至 81GHz)
    • 1MHz 时的相位噪声:
      • –95dBc/Hz(76 至 77GHz)
      • –93dBc/Hz(77 至 81GHz)
  • 内置校准和自检(监控)
    • 基于 Arm Cortex-R4F 的无线电控制系统
    • 内置固件 (ROM)
    • 针对工艺和温度进行自校准的系统
  • 用于 FMCW 信号处理的 C674x DSP
  • 片上存储器:2MB RAM
  • 用于物体跟踪和分类、AUTOSAR 和接口控制的 Arm Cortex-R4F 微控制器
    • 支持自主模式(从 QSPI 闪存加载用户应用)
  • 主机接口
    • CAN(两个实例,其中一个是 CAN-FD)
  • 为用户应用提供的其他接口
    • 多达 6 个通用 ADC 通道
    • 多达 2 个 SPI 端口
    • 多达 2 个 UART
    • I2C
    • GPIO
    • 用于原始 ADC 数据和调试仪表的双通道 LVDS 接口
  • 器件安全(在部分器件型号上
    • 支持经过身份验证和加密的安全引导
    • 具有密钥撤销功能的客户可编程根密钥、对称密钥(256 位)、非对称密钥(最高 RSA-2K)
    • 加密软件加速器 – PKA、AES(最高 256 位)、SHA(最高 256 位)、TRNG/DRGB
  • 符合功能安全标准
    • 专为功能安全应用开发
    • 可提供使功能安全系统设计满足 ISO26262 ASIL-D 要求的文档
    • 硬件完整性高达 ASIL-B 级
    • 安全相关认证
      • 经 TUV SUD 进行 ISO 26262 认证达到 ASIL B 级
  • 符合 AEC-Q100 标准
  • AWR1843AOP 高级特性
    • 嵌入式自监控,无需使用主机处理器
    • 复基带架构
    • 嵌入式干扰检测功能
    • 发送路径中的可编程相位旋转器,用于实现波束形成
  • 电源管理
    • 内置 LDO 网络,可增强 PSRR
    • I/O 支持双电压 3.3V/1.8V
  • 时钟源
    • 支持频率为 40MHz 的外部振荡器
    • 支持外部驱动、频率为 40MHz 的时钟(方波/正弦波)
    • 支持 40MHz 晶体与负载电容器相连接
  • 轻松的硬件设计
    • 0.8mm 间距、180 引脚 15mm × 15mm 覆晶 BGA 封装 (ALP),可实现轻松组装和低成本 PCB 设计
    • 小尺寸解决方案
  • 运行条件
    • 结温范围:–40°C 至 125°C
Frequency range76 - 81 GHz
Number of receivers4
Number of transmitters3
ADC sampling rate (max) (Msps)25
Arm CPUArm Cortex-R4F at 200 MHz
Interface typeCAN, CAN-FD, I2C, QSPI, SPI, UART
DSP typeC674x DSP 600MHz
Hardware acceleratorsRadar hardware accelerator
RAM (kByte)2048
RatingAutomotive
Operating temperature range (°C)-40 to 125
TI functional safety categoryFunctional Safety-Compliant
Power supply solutionLP87524B-Q1, LP87524J-Q1, LP87524P-Q1, LP87745-Q1
SecurityCryptographic acceleration, Device identity/keys, Secure boot, Secure software update, Software IP protection
FCCSP (ALP)180225 mm² 15 x 15
产品购买
  • 商品型号
  • 封装
  • 工作温度
  • 包装
  • 价格
  • 现货库存
  • 操作
10s
温馨提示:
订单商品问题请移至我的售后服务提交售后申请,其他需投诉问题可移至我的投诉提交,我们将在第一时间给您答复
返回顶部