h1_key

TI(德州仪器) AWR6843AOP
德州仪器 (TI) 全系列产品在线购买
  • TI(德州仪器) AWR6843AOP
  • TI(德州仪器) AWR6843AOP
  • TI(德州仪器) AWR6843AOP
  • TI(德州仪器) AWR6843AOP
  • TI(德州仪器) AWR6843AOP
  • TI(德州仪器) AWR6843AOP
立即查看
您当前的位置: 首页 > 传感器 > 毫米波雷达传感器 > 汽车毫米波雷达传感器 > AWR6843AOP
AWR6843AOP

AWR6843AOP

正在供货

集成封装天线、DSP 和 MCU 的单芯片 60GHz 至 64GHz 汽车雷达传感器

产品详情
  • 说明
  • 特性
  • 参数
  • 封装 | 引脚 | 尺寸

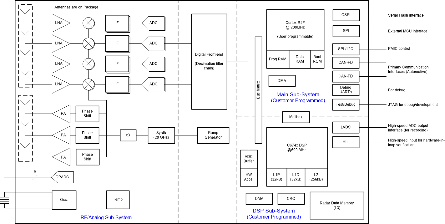
AWR6843AOP 是一款封装天线 (AOP) 器件,是德州仪器 (TI) 的单芯片雷达器件系列的升级版。该器件在极小的封装中实现了出色的集成度,是适用于汽车领域中低功耗、自监控、超精确雷达系统的理想解决方案。 当前提供多种符合汽车标准的型号,包括功能安全合规型器件 (ASIL-B) 和非功能安全器件。

它集成了一个 DSP 子系统,该子系统包含 TI 用于雷达信号处理的高性能 C674x DSP。该器件包含一个 BIST 处理器子系统,该子系统负责无线电配置、控制和校准。此外,该器件还包含用于汽车连接的用户可编程 Arm Cortex-R4F。硬件加速器区块 (HWA) 可执行雷达处理,并减轻 DSP 上的负载,从而执行更高级的算法。简单编程模型更改可支持各种传感器应用,并且能够进行动态重新配置,从而实现多模式传感器。此外,该器件作为完整的平台解决方案进行提供,该解决方案包括硬件参考设计、软件驱动程序、样例配置、API 指南以及用户文档。

  • FMCW 收发器
    • 集成 4 个接收器和 3 个发送器的封装天线 (AOP)
    • 集成 PLL、发送器、接收器、基带和 ADC
    • 60GHz 至 64GHz 的覆盖范围,具有 4GHz 的连续带宽
    • 支持 6 位移相器
    • 基于分数 N PLL 的超精确线性调频脉冲引擎
  • 内置校准和自检
    • 基于 Arm Cortex-R4F 的无线电控制系统
    • 内置固件 (ROM)
    • 针对工艺和温度进行自校准的系统
    • 在符合功能安全标准的器件上提供嵌入式自监控,无需主机处理器参与
  • 用于高级信号处理的 C674x DSP(仅限 AWR6843)
  • 用于 FFT、滤波和 CFAR 处理的硬件加速器
  • 存储器压缩
  • 用于物体检测和接口控制的 Arm® Cortex®-R4F 微控制器
    • 支持自主模式(从 QSPI 闪存加载用户应用)
  • 具有 ECC 的内部存储器
    • AWR6843:1.75MB,分为 MSS 程序 RAM (512KB)、MSS 数据 RAM (192KB)、DSP L1RAM (64KB) 和 L2 RAM (256KB) 以及 L3 雷达数据立方体 RAM (768KB)
    • AWR6443:1.4MB,分为 MSS 程序 RAM (512KB)、MSS 数据 RAM (192KB) 和 L3 雷达数据立方体 RAM (768KB)
    • 技术参考手册包括允许的大小修改
  • 为用户应用提供的其他接口
    • 多达 6 个 ADC 通道(低采样率监控)
    • 多达 2 个 SPI 端口
    • 多达 2 个 UART
    • 2 个 CAN-FD 接口
    • I2C
    • GPIO
    • 用于原始 ADC 数据和调试仪表的双通道 LVDS 接口
  • 器件安全(在部分器件型号上
    • 支持经过身份验证和加密的安全引导
    • 具有密钥撤销功能的客户可编程根密钥、对称密钥(256 位)、非对称密钥(最高 RSA-2K)
    • 加密软件加速器 – PKA、AES(最高 256 位)、SHA(最高 256 位)、TRNG/DRGB
  • 符合功能安全标准
    • 专为功能安全应用开发
    • 文档有助于使 ISO 26262 功能安全系统设计满足 ASIL-D 级要求
    • 硬件完整性高达 ASIL-B 级
    • 安全相关认证
      • 经 TUV SUD 进行 ISO 26262 认证达到 ASIL B 级
  • 符合 AEC-Q100 标准
  • 电源管理
    • 内置 LDO 网络,可增强 PSRR
    • I/O 支持双电压 3.3V/1.8V
  • 时钟源
    • 具有内部振荡器的 40.0MHz 晶体
    • 支持频率为 40MHz 的外部振荡器
    • 支持外部驱动、频率为 40MHz 的时钟(方波/正弦波)
  • 轻松的硬件设计
    • 0.8mm 间距、180 引脚 15mm × 15mm 覆晶 BGA 封装 (ALP),可实现轻松组装和低成本 PCB 设计
    • 小解决方案尺寸
  • 运行条件:
    • 结温范围为 –40°C 至 125°C
Frequency range57 - 64 GHz
Number of receivers4
Number of transmitters3
ADC sampling rate (max) (Msps)25
Arm CPUArm Cortex-R4F at 200 MHz
Interface type2 CAN-FD, I2C, QSPI, SPI, UART
DSP typeC674x DSP 600MHz
Hardware acceleratorsRadar hardware accelerator
RAM (kByte)1792
RatingAutomotive
Operating temperature range (°C)-40 to 125
TI functional safety categoryFunctional Safety-Compliant
Power supply solutionLP87524B-Q1, LP87524J-Q1, LP87524P-Q1, LP876242-Q1
SecurityCryptographic acceleration, Device identity/keys, Secure boot, Secure software update, Software IP protection
FCCSP (ALP)180225 mm² 15 x 15
产品购买
  • 商品型号
  • 封装
  • 工作温度
  • 包装
  • 价格
  • 现货库存
  • 操作
10s
温馨提示:
订单商品问题请移至我的售后服务提交售后申请,其他需投诉问题可移至我的投诉提交,我们将在第一时间给您答复
返回顶部