h1_key

TI(德州仪器) LM95233
德州仪器 (TI) 全系列产品在线购买
  • TI(德州仪器) LM95233
  • TI(德州仪器) LM95233
  • TI(德州仪器) LM95233
  • TI(德州仪器) LM95233
  • TI(德州仪器) LM95233
  • TI(德州仪器) LM95233
立即查看
您当前的位置: 首页 > 传感器 > 温度传感器和控制 IC > 数字温度传感器 > LM95233
LM95233

LM95233

正在供货

采用 TruTherm 技术且具有 SMBus 接口的 ±2°C 双路远程和本地温度传感器

产品详情
  • 说明
  • 特性
  • 参数
  • 封装 | 引脚 | 尺寸

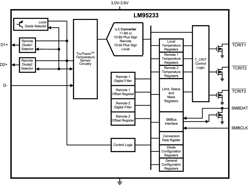
LM95233 is an 11-bit digital temperature sensor with a 2-wire System Management Bus (SMBus) interface that can monitor the temperature of two remote diodes as well as its own temperature. The LM95233 can be used to very accurately monitor the temperature of up to two external devices such as microprocessors, graphics processors or diode-connected 2N3904s. The LM95233's TruTherm BJT beta compensation technology allows sensing of 90nm or 65nm process thermal diodes accurately.

The LM95233 reports temperature in two different formats for +127.875°C/–128°C range and 0°C/255°C range. The LM95233 TCRIT1, TCRIT2 and TCRIT3 outputs are triggered when any unmasked channel exceeds its corresponding programmable limit and can be used to shutdown the system, to turn on the system fans or as a microcontroller interrupt function. The current status of the TCRIT1, TCRIT2 and TCRIT3 pins can be read back from the status registers. Mask registers are available for further control of the TCRIT outputs. LM95233's remote temperature channels have programmable digital filters to minimize unwanted TCRIT events when temperature spikes are encountered.

For optimum flexibility and accuracy each LM95233 channel includes, registers for sub-micron process or 2N3904 diode model selection as well as offset correction. A three level address pin allows connection of up to 3 LM95233s to the same SMBus master. The LM95233 includes power saving functions such as: programmable conversion rate, shutdown mode, and turn off of unused channels.

  • Accurately Senses Die Temperature of 2 Remote ICs or Diode Junctions and Local Temperature
  • TruTherm BJT Beta Compensation Technology Accurately Senses Sub-Micron Process Thermal Diodes
  • 0.125°C LSb Temperature Resolution
  • 0.03125°C LSb Remote Temperature Resolution with Digital Filter Enabled
  • +127.875°C/–128°C and 0°C/255°C Remote Ranges
  • Programmable Digital Filters and Analog Front End Filter
  • Remote Diode Fault Detection, Model Selection and Offset Correction
  • Mask and Status Register Support
  • 3 Programmable TCRIT Outputs with Programmable Shared Hysteresis
  • Programmable Conversion Rate and Shutdown Mode One-Shot Conversion Control
  • SMBus 2.0 Compatible Interface, Supports TIMEOUT
  • Three-Level Address Pin
  • 14-Pin WSON Package

Key Specifications

  • Local Temperature Accuracy: ±2.0 °C (max)
  • Remote Diode Temperature Accuracy: ±0.875 °C (max)
  • Supply Voltage: 3.0 to 3.6 V
  • Average Supply Current (1Hz conversion rate): 0.57 mA (typ)

TruTherm is a trademark of Texas Instruments. All trademarks are the property of their respective owners.

Local sensor accuracy (max)2
TypeRemote
Operating temperature range (°C)-40 to 140
Supply voltage (min) (V)3
Interface typeI2C, SMBus
Supply voltage (max) (V)3.6
FeaturesALERT, One-shot conversion
Supply current (max) (µA)500
Temp resolution (max) (Bits)11
Remote channels (#)2
Addresses3
RatingCatalog
WSON (NHL)1416 mm² 4 x 4
产品购买
  • 商品型号
  • 封装
  • 工作温度
  • 包装
  • 价格
  • 现货库存
  • 操作
10s
温馨提示:
订单商品问题请移至我的售后服务提交售后申请,其他需投诉问题可移至我的投诉提交,我们将在第一时间给您答复
返回顶部