h1_key

TI(德州仪器) LM75A
德州仪器 (TI) 全系列产品在线购买
  • TI(德州仪器) LM75A
  • TI(德州仪器) LM75A
  • TI(德州仪器) LM75A
  • TI(德州仪器) LM75A
  • TI(德州仪器) LM75A
  • TI(德州仪器) LM75A
立即查看
您当前的位置: 首页 > 传感器 > 温度传感器和控制 IC > 数字温度传感器 > LM75A
LM75A

LM75A

正在供货

具有 I2C/SMBus 接口的 2C 业界通用温度传感器

产品详情
  • 说明
  • 特性
  • 参数
  • 封装 | 引脚 | 尺寸

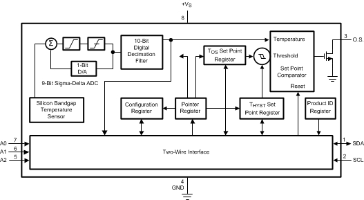
The LM75A is an industry-standard digital temperature sensor with an integrated sigma-delta analog-to-digital converter (ADC) and I2C interface. The LM75A provides 9-bit digital temperature readings with an accuracy of ±2°C from –25°C to 100°C and ±3°C over –55°C to 125°C.

The LM75A operates with a single supply from 2.7 V to 5.5 V. Communication is accomplished over a 2-wire interface which operates up to 400 kHz. The LM75A has three address pins, allowing up to eight LM75A devices to operate on the same 2-wire bus. The LM75A has a dedicated overtemperature output (O.S.) with programmable limit and hysteresis. This output has programmable fault tolerance, which lets the user to define the number of consecutive error conditions that must occur before O.S. is activated. The wide temperature and supply range and I2C interface make the LM75A ideal for a number of applications including base stations, electronic test equipment, office electronics, personal computers, and any other system in which thermal management is critical to performance. The LM75A is available in an SOIC-8 package and an VSSOP-8 package.

  • No External Components Required
  • Shutdown Mode to Minimize Power Consumption
  • Up to Eight LM75As can be Connected to a Single Bus
  • Power up Defaults Permit Stand-Alone Operation as Thermostat
  • Key Specifications:
    • Supply Voltage
      • LM75A: 2.7 V to 5.5 V
    • Supply Current
      • Operating: 280 µA (Typical)
      • Shutdown: 4 µA (Typical)
    • Temperature Accuracy
      • 25°C to 100°C: ±2°C (Max)
      • 55°C to 125°C: ±3°C (Max)
Local sensor accuracy (max)2
TypeLocal
Operating temperature range (°C)-55 to 125
Supply voltage (min) (V)2.7
Interface typeI2C, SMBus
Supply voltage (max) (V)5.5
FeaturesALERT, UL recognized
Supply current (max) (µA)500
Temp resolution (max) (Bits)9
Remote channels (#)0
Addresses8
RatingCatalog
SOIC (D)829.4 mm² 4.9 x 6
VSSOP (DGK)814.7 mm² 3 x 4.9
产品购买
  • 商品型号
  • 封装
  • 工作温度
  • 包装
  • 价格
  • 现货库存
  • 操作
10s
温馨提示:
订单商品问题请移至我的售后服务提交售后申请,其他需投诉问题可移至我的投诉提交,我们将在第一时间给您答复
返回顶部