h1_key

TI(德州仪器) TMUX6213
德州仪器 (TI) 全系列产品在线购买
  • TI(德州仪器) TMUX6213
  • TI(德州仪器) TMUX6213
  • TI(德州仪器) TMUX6213
  • TI(德州仪器) TMUX6213
  • TI(德州仪器) TMUX6213
  • TI(德州仪器) TMUX6213
立即查看
您当前的位置: 首页 > 开关与多路复用器 > 模拟开关和多路复用器 > TMUX6213
TMUX6213

TMUX6213

正在供货

具有 1.8V 逻辑控制的 36V 低导通电阻、1:1、4 通道多路复用器

产品详情
  • 说明
  • 特性
  • 参数
  • 封装 | 引脚 | 尺寸

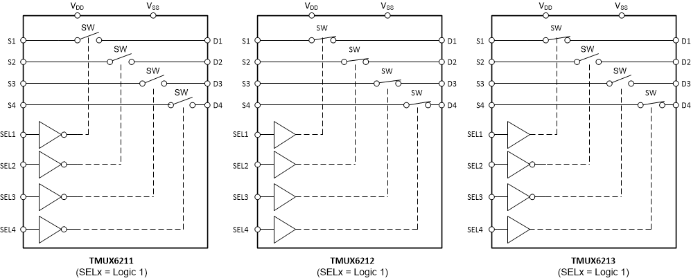
TMUX6211、 TMUX6212 和 TMUX6213 是互补金属氧化物半导体 (CMOS) 开关,具有四个独立可选的 1:1 单极单掷 (SPST) 开关通道。该器件支持单电源(4.5V 至 36 V)、双电源(±4.5V 至 ±18 V)或非对称电源(例如,VDD = 12V,VSS = –5V)。 TMUX621x 可支持源极 (Sx) 和漏极 (Dx) 引脚上 VSS 到 VDD 范围的双向模拟和数字信号。

TMUX621x 的开关通过 SELx 引脚上适当的逻辑控制输入控制。 TMUX621x 是精密开关和多路复用器系列器件,具有非常低的导通和关断泄漏电流,因此可用于高精度测量应用。

  • 双电源电压范围:±4.5V 至 ±18 V
  • 单电源电压范围:4.5V 至 36 V
  • 低导通电阻:2Ω
  • 高电流支持:330mA(最大值)(WQFN)
  • 高电流支持:220mA(最大值)(TSSOP)
  • –40°C 至 +125°C 工作温度
  • 兼容 1.8V 逻辑电平
  • 逻辑引脚上的集成下拉电阻器
  • 失效防护逻辑
  • 轨至轨运行
  • 双向运行
Configuration1
Number of channels4
Power supply voltage - single (V)5, 12, 16, 20, 36
Power supply voltage - dual (V)+/-10, +/-15, +/-18, +/-5
ProtocolsAnalog
Ron (typ) (Ω)2
CON (typ) (pF)145
ON-state leakage current (max) (µA)0.06
Supply current (typ) (µA)35
Bandwidth (MHz)90
Operating temperature range (°C)-40 to 125
Features1.8-V compatible control inputs, Break-before-make, Fail-safe logic
Input/output continuous current (max) (mA)370
RatingCatalog
Drain supply voltage (max) (V)36
Supply voltage (max) (V)36
Negative rail supply voltage (max) (V)-18
TSSOP (PW)1632 mm² 5 x 6.4
WQFN (RUM)1616 mm² 4 x 4
产品购买
  • 商品型号
  • 封装
  • 工作温度
  • 包装
  • 价格
  • 现货库存
  • 操作
10s
温馨提示:
订单商品问题请移至我的售后服务提交售后申请,其他需投诉问题可移至我的投诉提交,我们将在第一时间给您答复
返回顶部