h1_key

TI(德州仪器) TAS5828M
德州仪器 (TI) 全系列产品在线购买
  • TI(德州仪器) TAS5828M
  • TI(德州仪器) TAS5828M
  • TI(德州仪器) TAS5828M
  • TI(德州仪器) TAS5828M
  • TI(德州仪器) TAS5828M
  • TI(德州仪器) TAS5828M
立即查看
您当前的位置: 首页 > 音频 > 音频放大器 > 扬声器放大器 > TAS5828M
TAS5828M

TAS5828M

正在供货

具有集成音频处理器的 50W 立体声、数字输入、高性能、闭环、D 类音频放大器

产品详情
  • 说明
  • 特性
  • 参数
  • 封装 | 引脚 | 尺寸

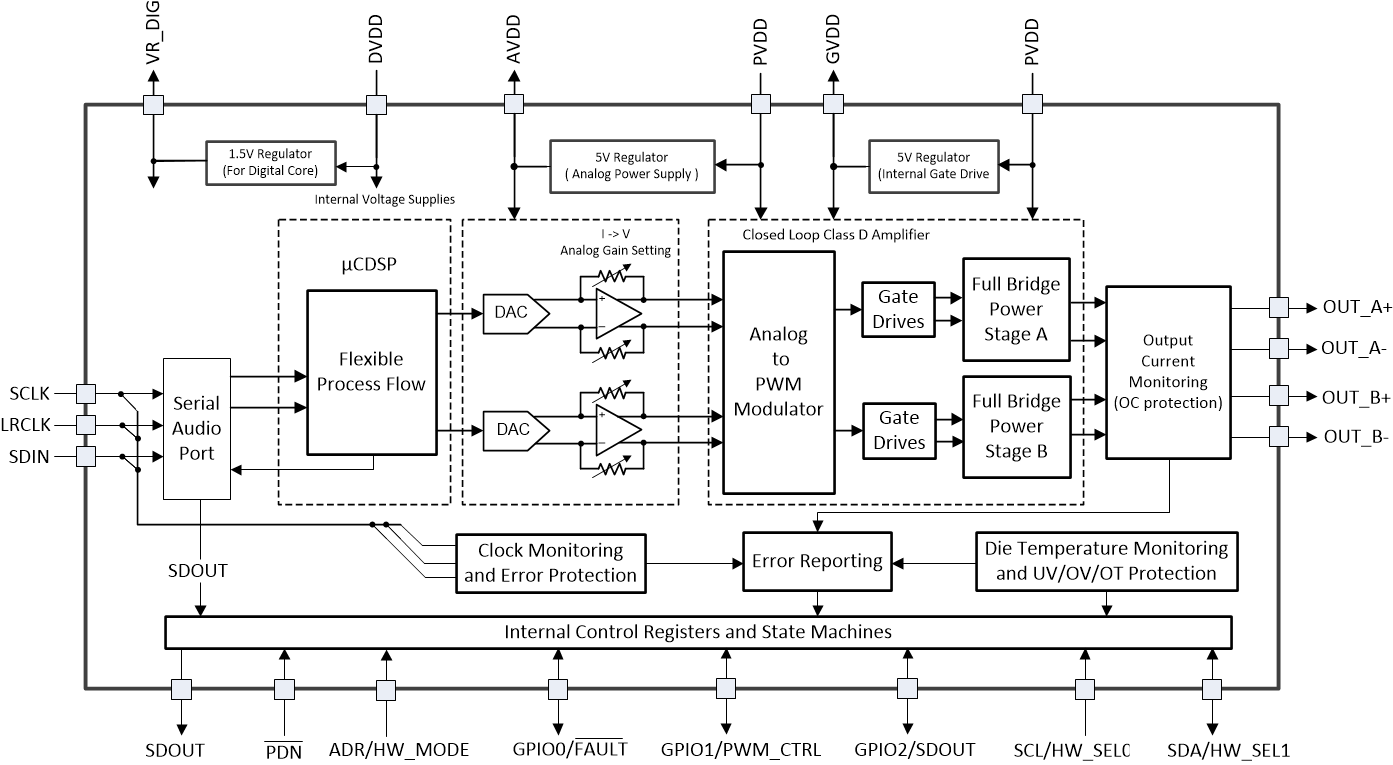
TAS5828M 是一款立体声、高性能闭环 D 类放大器,具有集成的音频处理器和高达 192kHz 的架构。

在设置为硬件控制模式时, TAS5828M 通过引脚配置支持开关频率、模拟增益、BTL/PBTL 模式和逐周期电流限制阈值。此模式专为免去终端系统软件驱动程序集成工作而设计。

  • 灵活的音频 I/O:
    • 支持 32kHz、44.1kHz、48kHz、88.2kHz、96kHz 和 192kHz 采样速率
    • 用于音频监控、子通道或回声消除的 I2S、LJ、RJ、TDM 和 SDOUT
    • 支持三线制数字音频接口(无需 MCLK)
  • 高效 D 类调制
    • 电源效率高于 90%,RDSon 为 90mΩ
  • 支持多路输出配置
    • 2 × 50W,2.0 模式 (4Ω, 23 V, THD + N = 1%)
    • 2 × 40W,2.0 模式 (6Ω, 24V, THD + N = 1%)
    • 1 × 100W,1.0 模式 (2Ω, 23 V, THD + N = 1%)
    • 1 × 80W,1.0 模式 (3Ω, 24V, THD + N = 1%)
  • 优异的音频性能:
    • 1W、1kHz、PVDD = 12V 的条件下,THD + N ≤ 0.03%
    • SNR ≥ 110dB(A 加权),ICN ≤ 40µVRMS
  • 灵活处理特性
    • 3 频带高级 DRC + 2 个 BQ + AGL + 2 个 BQ
    • 每通道 12 个 BQ、电平计
    • 96kHz、192kHz 处理器采样
    • 混合器、音量、动态 EQ、输出交叉开关
    • PVDD 检测和 Hybrid-Pro 算法音频信号跟踪
  • 灵活的电源配置
    • PVDD:4.5V 至 26.4V
    • DVDD 和 I/O:1.8V 或 3.3V
  • 出色的集成式自保护功能:
    • 过流错误 (OCE)
    • 逐周期电流限制
    • 过热警告 (OTW)
    • 过热错误 (OTE)
    • 欠压和过压锁定 (UVLO/OVLO)
    • PVDD 压降检测
  • 可轻松进行系统集成
    • I2C 软件或硬件控制模式
    • 与开环器件相比,所需的无源器件更少
Audio input typeDigital Input
ArchitectureClass-D
Speaker channels (max)Stereo
RatingCatalog
Power stage supply (max) (V)26.4
Power stage supply (min) (V)4.5
Load (min) (Ω)2
Output power (W)50
SNR (dB)110
THD + N at 1 kHz (%)0.03
Iq (typ) (mA)3.2
Control interfaceI2C
Closed/open loopClosed
Analog supply (min) (V)4.5
Analog supply voltage (max) (V)26.4
Sampling rate (max) (kHz)192
PSRR (dB)72
Operating temperature range (°C)-40 to 85
HTSSOP (DAD)3289.1 mm² 11 x 8.1
产品购买
  • 商品型号
  • 封装
  • 工作温度
  • 包装
  • 价格
  • 现货库存
  • 操作
10s
温馨提示:
订单商品问题请移至我的售后服务提交售后申请,其他需投诉问题可移至我的投诉提交,我们将在第一时间给您答复
返回顶部