h1_key

TI(德州仪器) TAS5822M
德州仪器 (TI) 全系列产品在线购买
  • TI(德州仪器) TAS5822M
  • TI(德州仪器) TAS5822M
  • TI(德州仪器) TAS5822M
  • TI(德州仪器) TAS5822M
  • TI(德州仪器) TAS5822M
  • TI(德州仪器) TAS5822M
立即查看
您当前的位置: 首页 > 音频 > 音频放大器 > 扬声器放大器 > TAS5822M
TAS5822M

TAS5822M

正在供货

具有 96kHz 增强处理能力的 35W、无电感器、数字输入、立体声闭环 D 类放大器

产品详情
  • 说明
  • 特性
  • 参数
  • 封装 | 引脚 | 尺寸

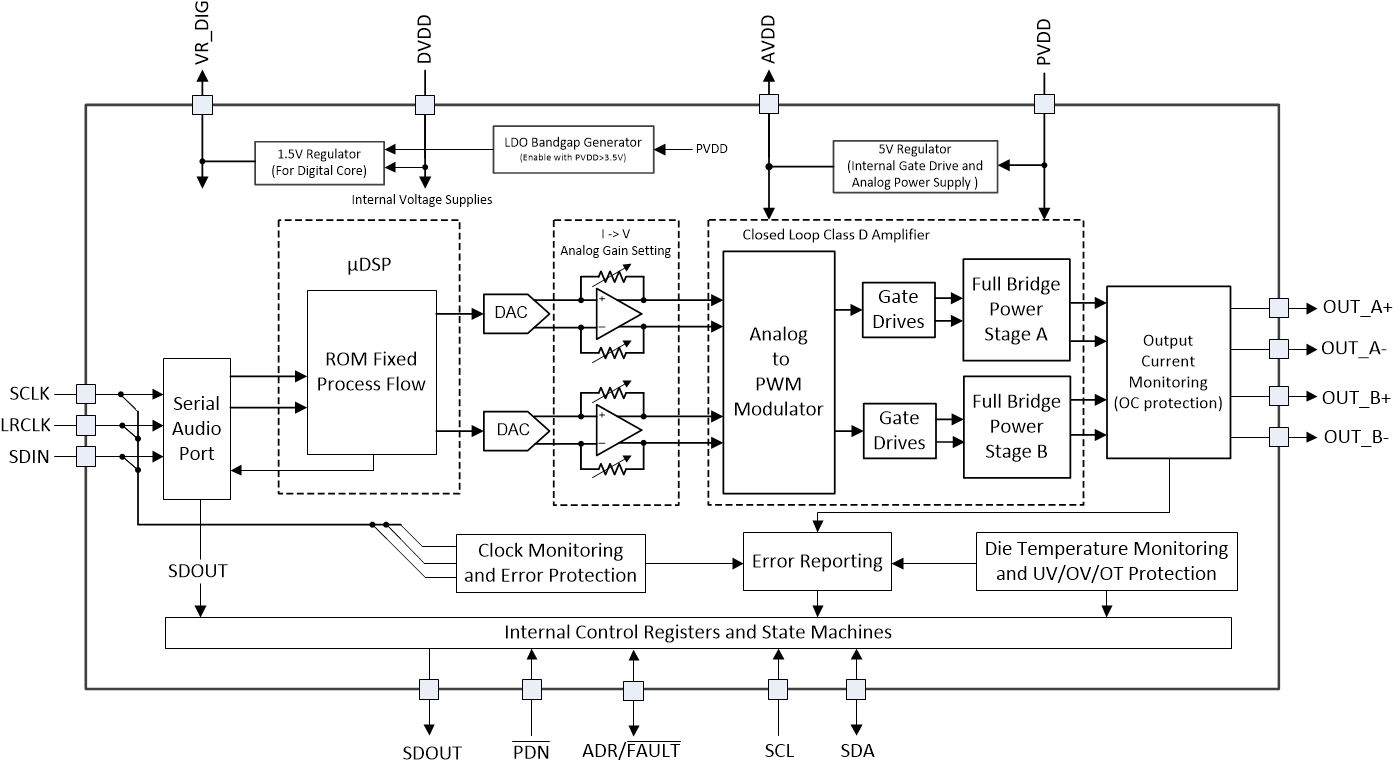
TAS5822M 是一款高效数字输入 D 类音频放大器,适用于驱动消费类、商用和工业电子产品中使用的扬声器。。

高性能闭环架构和宽开关频率范围可在大多数应用中减少无源器件并更大限度地减小电感器尺寸,从而减小解决方案的尺寸。TAS5822M 具有集成音频处理器,采用高达 96kHz 的架构,支持高级处理流程。

该器件支持高效 1SPW 调制,具有可调的 D 类环路带宽,可实现良好的音频性能。

  • 灵活的音频 I/O:
    • 支持 32kHz、44.1kHz、48kHz、88.2kHz、96kHz 采样率
    • I2S、LJ、RJ、TDM
    • 用于音频监控、子通道或回声消除的 SDOUT
    • PLL 集成,支持三线制数字音频接口(无需 MCLK)
    • 支持立体声桥接式或单声道并联桥接式负载(BTL 和 PBTL)
  • 高效 D 级运行:
    • 电源效率高于 90%,RDSon 为 90mΩ
  • 支持多路输出配置
    • 2.0 模式下(8Ω、24V、THD+N=1%),可提供 2 × 35W 的输出功率
    • 2.0 模式下(6Ω,18V,THD+N=1%),可提供 2 × 22W 的输出功率
  • 优异的音频性能:
    • 1W、1kHz、PVDD = 24V 的条件下,THD+N ≤ 0.06%
    • SNR ≥ 110dB(A 加权),ICN ≤ 40µVRMS
  • 增强的音频处理能力:
    • 采样率转换器
    • 96kHz 处理器采样
    • 直流阻断,2 ×14 个 BQ,THD 管理器
    • DPEQ,音量控制
    • 输入混合器、输出交叉开关
    • 四阶 2 频带 DRC + AGL
    • 过热折返
  • 灵活的电源配置
    • PVDD:4.5V 至 26.4V
    • DVDD 和 I/O:1.8V 或 3.3V
  • 出色的集成式自保护功能:
    • 过流错误 (OCE)
    • 过热警告 (OTW)
    • 过热错误 (OTE)
    • 欠压/过压锁定 (UVLO/OVLO)
  • 可轻松进行系统集成
    • I2C 软件控制
    • 减小了解决方案尺寸
      • 与开环器件相比,所需的无源器件更少
      • 采用全新 EMI 技术,具有超低 EMI
      • 大多数应用都不需要大型电感器
Audio input typeDigital Input
ArchitectureClass-D
Speaker channels (max)Stereo
RatingCatalog
Power stage supply (max) (V)26.4
Power stage supply (min) (V)4.5
Load (min) (Ω)6
Output power (W)35
SNR (dB)110
THD + N at 1 kHz (%)0.06
Control interfaceI2C
Closed/open loopClosed
Analog supply (min) (V)4.5
Analog supply voltage (max) (V)26.4
Sampling rate (max) (kHz)96
PSRR (dB)72
Operating temperature range (°C)-40 to 85
HTSSOP (DCP)3862.08 mm² 9.7 x 6.4
产品购买
  • 商品型号
  • 封装
  • 工作温度
  • 包装
  • 价格
  • 现货库存
  • 操作
10s
温馨提示:
订单商品问题请移至我的售后服务提交售后申请,其他需投诉问题可移至我的投诉提交,我们将在第一时间给您答复
返回顶部