h1_key

TI(德州仪器) PCM6240-Q1
德州仪器 (TI) 全系列产品在线购买
  • TI(德州仪器) PCM6240-Q1
  • TI(德州仪器) PCM6240-Q1
  • TI(德州仪器) PCM6240-Q1
  • TI(德州仪器) PCM6240-Q1
  • TI(德州仪器) PCM6240-Q1
  • TI(德州仪器) PCM6240-Q1
立即查看
您当前的位置: 首页 > 音频 > 音频转换器 > 音频 ADC > PCM6240-Q1
PCM6240-Q1

PCM6240-Q1

正在供货

具有集成可编程麦克风偏置和输入诊断功能的汽车类 4 通道音频 ADC

产品详情
  • 说明
  • 特性
  • 参数
  • 封装 | 引脚 | 尺寸

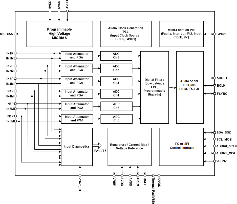
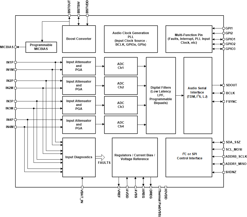
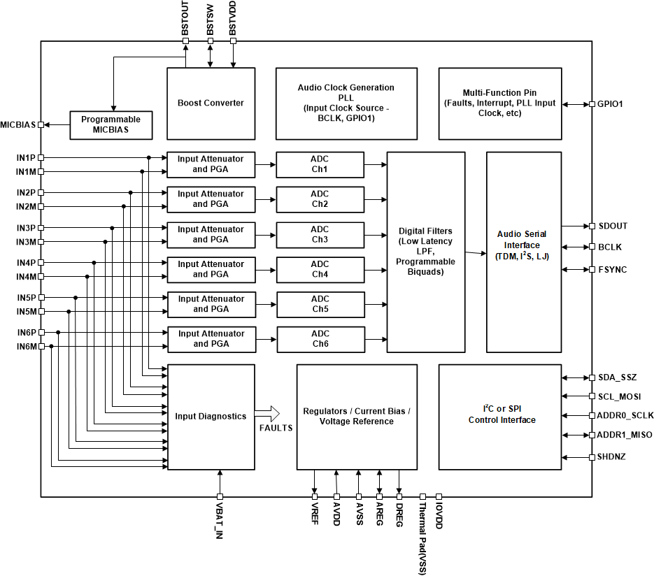
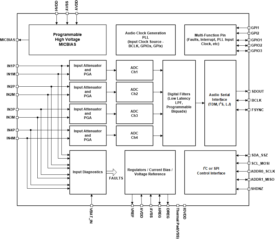
4 通道 PCM6x40-Q1(PCM6240-Q1、PCM6340-Q1)和 6 通道 PCM6x60-Q1(PCM6260-Q1、PCM6360-Q1)是高性能音频模数转换器 (ADC),支持高达 10VRMS 的模拟输入信号。PCM6x40-Q1 和 PCM6x60-Q1 (PCM6xx0-Q1) 支持线路和麦克风输入,并允许单端和差分输入配置。这类器件具有集成的高电压、可编程麦克风偏置和输入诊断电路,可直接连接到基于麦克风的汽车系统,提供全面的直接耦合输入故障诊断功能。PCM62x0-Q1 集成了一个高效的升压转换器,以通过外部低电压 3.3V 电源产生高电压麦克风偏置;而 PCM63x0-Q1 直接使用系统内随时可用的外部高电压电源 (HVDD),以产生高电压、可编程的麦克风偏置。PCM6xx0-Q1 集成了可编程通道增益、数字音量控制、低抖动锁相环 (PLL)、可编程高通滤波器 (HPF)、双二阶滤波器、低延迟滤波器模式,并可实现高达 768kHz 的采样率。PCM6xx0-Q1 支持时分多路复用 (TDM)、I2S 或左平衡 (LJ) 音频格式,并可通过 I2C 或 SPI 接口进行控制。这些集成的高性能 特性以及 3.3V 单电源运行,使 PCM6xx0-Q1 系列特别适用于空间受限的汽车系统。

  • 符合面向汽车 应用的 AEC-Q100 标准
    • 温度等级 1:–40°C ≤ TA ≤ +125°C
  • ADC 性能:
    • 线路差分输入动态范围:110dB
    • 麦克风差分输入动态范围:110dB
    • THD+N:-94dB
    • 通道相加模式可提高 SNR
  • ADC 输入电压:
    • 差分 10VRMS 满量程输入
    • 单端 5VRMS 满量程输入
  • ADC 采样率 (fS) = 8kHz 至 768kHz
  • 可编程通道设置:
    • 通道增益:0dB 至 42dB,步长 1dB
    • 数字音量控制:–100dB 至 27dB
    • 增益校准分辨率为 0.1dB
    • 相位校准分辨率为 163ns
  • 可编程麦克风偏置(5V 至 9V):
    • 具有集成的高效升压转换器,或
    • 具有外部高电压 HVDD 电源
  • 可编程麦克风输入故障诊断:
    • 开路输入或短路输入
    • 接地短路、MICBIAS 或 VBAT
    • 麦克风偏置过流保护
  • 低延迟信号处理滤波器选择
  • 可编程 HPF 和双二阶数字滤波器
  • I2C 或 SPI 控制
  • 音频串行数据接口:
    • 格式:TDM、I2S 或左平衡 (LJ)
    • 字长:16 位、20 位、24 位或 32 位
    • 主/从接口
  • 3.3V 单电源运行
  • I/O 电源运行:3.3V 或 1.8V
  • 功耗:在 48kHz 下 < 21.5mW/通道
Number of ADC channels4
Analog inputs4
Digital audio interfaceI2S, L, TDM
Control interfaceI2C, SPI
Sampling rate (max) (kHz)768
ADC SNR (typ) (dB)110
RatingAutomotive
Operating temperature range (°C)-40 to 125
WQFN (RTV)3225 mm² 5 x 5
产品购买
  • 商品型号
  • 封装
  • 工作温度
  • 包装
  • 价格
  • 现货库存
  • 操作
10s
温馨提示:
订单商品问题请移至我的售后服务提交售后申请,其他需投诉问题可移至我的投诉提交,我们将在第一时间给您答复
返回顶部