h1_key

TI(德州仪器) TAS5806M
德州仪器 (TI) 全系列产品在线购买
  • TI(德州仪器) TAS5806M
  • TI(德州仪器) TAS5806M
  • TI(德州仪器) TAS5806M
  • TI(德州仪器) TAS5806M
  • TI(德州仪器) TAS5806M
  • TI(德州仪器) TAS5806M
立即查看
您当前的位置: 首页 > 音频 > 音频放大器 > 扬声器放大器 > TAS5806M
TAS5806M

TAS5806M

正在供货

具有处理功能和 P2P 的 23W 立体声、45W 单声道、4.5V 至 26.4V、数字输入 D 类音频放大器

产品详情
  • 说明
  • 特性
  • 参数
  • 封装 | 引脚 | 尺寸

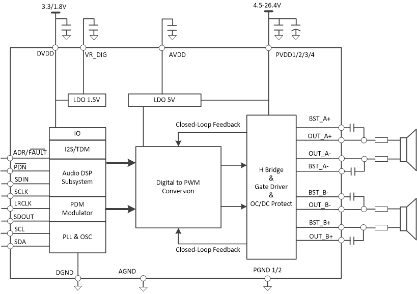
TAS5806M 是一款高效立体声闭环 D 类放大器,可提供具有低功率耗散和丰富声音的低成本数字输入解决方案。该器件的集成音频处理器和 96kHz 架构支持高级音频处理流程(包括 SRC、每通道 15 个 BQ、音量控制、音频混合、3 频带 4 阶 DRC、全频带 AGL、THD 管理器和电平计)。

TAS5806M 采用 TI 专有混合调制方案,消耗的静态电流很低(13.5V PVDD 下为 16.5mA),从而能够延长便携式音频 应用中的电池寿命。凭借先进的 EMI 抑制技术,对低于 10W 的 应用 ,设计人员可利用廉价的铁氧体磁珠滤波器来减小其布板空间并降低系统成本。

  • 支持多路输出配置
    • 2.0 模式(8Ω、21V、THD+N=1%)下可提供 2 × 23W 的功率
    • 单声道模式(4Ω、21V、THD+N=1%)下可提供 45W 的功率
  • 优异的音频性能
    • 1W、1kHz、PVDD = 12V 的条件下,THD+N ≤ 0.03%
    • SNR ≥ 107dB(A 加权),噪声级别 < 40µVRMS
  • 低静态电流(混合调制)
    • PVDD = 13.5V 且使用 22µH + 0.68µF 滤波器的情况下,电流为 16.5mA
  • 灵活的电源配置
    • PVDD:4.5V 至 26.4V
    • DVDD 和 I/O:1.8V 或 3.3V
  • 灵活的音频 I/O
    • I2S、LJ、RJ、TDM、3 线数字音频接口(无需 MCLK)
    • 支持 32、44.1、48、88.2、96kHz 采样率
    • 用于音频监控、子通道或回声消除的 SDOUT
  • 增强的音频处理能力
    • 多频带高级 DRC 和 AGL
    • 2×15 个 BQ、热折返、直流阻断
    • 输入混合器、输出交叉开关、电平计
    • 5 个 BQ + 单频带 DRC + THD 管理器(用于低音炮通道)
  • 集成式自保护功能
    • 邻近的引脚对引脚短路不会造成器件损坏
    • 过流错误 (OCE)
    • 过热警告 (OTW)
    • 过热错误 (OTE)
    • 欠压或过压锁定 (UVLO/OVLO)
  • 可轻松进行系统集成
    • I2C 软件控制
    • 减小了解决方案的尺寸
      • 与开环器件相比,所需的无源器件更少
      • 对于 PVDD ≤ 14V 的大多数情况,可实现无电感器运行(铁氧体磁珠)
  • 与 TAS5806MD 引脚对引脚兼容
Audio input typeDigital Input
ArchitectureClass-D
Speaker channels (max)Stereo
RatingCatalog
Power stage supply (max) (V)26.4
Power stage supply (min) (V)4.5
Load (min) (Ω)4
Output power (W)23
SNR (dB)107
THD + N at 1 kHz (%)0.03
Iq (typ) (mA)16.5
Control interfaceI2C
Closed/open loopClosed
Analog supply (min) (V)4.5
Analog supply voltage (max) (V)26.4
Sampling rate (max) (kHz)96
PSRR (dB)72
Operating temperature range (°C)-25 to 85
HTSSOP (DCP)3862.08 mm² 9.7 x 6.4
产品购买
  • 商品型号
  • 封装
  • 工作温度
  • 包装
  • 价格
  • 现货库存
  • 操作
10s
温馨提示:
订单商品问题请移至我的售后服务提交售后申请,其他需投诉问题可移至我的投诉提交,我们将在第一时间给您答复
返回顶部