h1_key

TI(德州仪器) TAS5780M
德州仪器 (TI) 全系列产品在线购买
  • TI(德州仪器) TAS5780M
  • TI(德州仪器) TAS5780M
  • TI(德州仪器) TAS5780M
  • TI(德州仪器) TAS5780M
  • TI(德州仪器) TAS5780M
  • TI(德州仪器) TAS5780M
立即查看
您当前的位置: 首页 > 音频 > 音频放大器 > 扬声器放大器 > TAS5780M
TAS5780M

TAS5780M

正在供货

20W 立体声、40W 单声道、4.5V 至 26.4V 电源电压、数字输入 D 类音频放大器

产品详情
  • 说明
  • 特性
  • 参数
  • 封装 | 引脚 | 尺寸

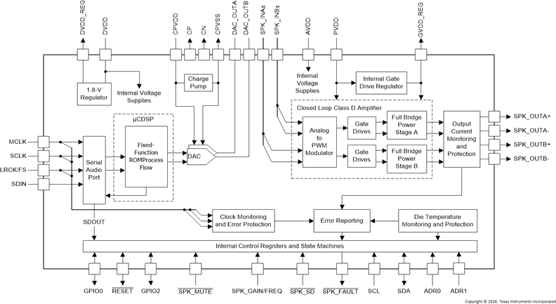
TAS5780M 器件是一款高性能、立体声闭环 D 类放大器,集成采用 96kHz 架构的音频处理器。为实现数模转换,该器件采用了应用 Burr-Brown™技术的高性能数模转换器 (DAC) 该器件仅需两个电源:一个是用于低压电路的 DVDD,另一个是用于高压电路的 PVDD。它采用标准的 I2C 通信软件控制端口实现控制。

输出金属氧化物半导体场效应晶体管 (MOSFET) 的 90mΩ rDS(on) 兼顾散热性能与器件成本,二者相得益彰。此外,该器件采用耐热增强型 48 引脚薄型小外形尺寸 (TSSOP),在现代消费类电子器件的较高工作环境温度下展现出优异的性能。

  • 灵活的音频 I/O 配置
    • 支持 I2S、TDM、LJ 和 RJ 数字输入
    • 支持采样速率
    • 立体声桥接负载 (BTL) 或单声道并行桥接负载 (PBTL) 运行
    • 1SPW 放大器调制
    • 支持三线制数字音频接口(无需 MCLK)
  • 高性能闭环架构(PVDD = 12V,RSPK = 8Ω,SPK_GAIN = 20dB)
    • 空闲声道噪声 = 62µVRMS (A-Wtd)
    • 总谐波失真 + 噪声 (THD+N) = 0.2% (1W/1kHz)
    • 信噪比 (SNR) = 100dB A-Wtd(以THD+N = 1% 为基准)
  • 固定功能处理 特性
    • 12 个 BiQuad
      • 12 个 BiQuad 实现快速变换的内部存储区切换
    • 双波段高级动态范围压缩 (DRC) + 自动增益限制 (AGL)
    • 动态参数均衡 (DPEQ)
    • 采样速率转换器 (SRC) 支持的频率包括 32kHz、44.1kHz、48kHz、88.2kHz、96kHz
    • 96kHz 处理器采样
  • 通信 特性
    • 通过 I2C 端口实现软件模式控制
    • 两个地址选择引脚 – 多达 4 个器件
  • 兼具稳定性 和可靠性
    • 时钟误差和短路保护
    • 过热和过流保护
Audio input typeDigital Input
ArchitectureClass-D
Speaker channels (max)Stereo
RatingCatalog
Power stage supply (max) (V)26.4
Power stage supply (min) (V)4.5
Load (min) (Ω)3
Output power (W)40
SNR (dB)103
THD + N at 1 kHz (%)0.2
Iq (typ) (mA)81.3
Control interfaceSoftware
Closed/open loopClosed
Analog supply (min) (V)4.5
Analog supply voltage (max) (V)26.4
Sampling rate (max) (kHz)96
Operating temperature range (°C)-25 to 85
HTSSOP (DCA)48101.25 mm² 12.5 x 8.1
产品购买
  • 商品型号
  • 封装
  • 工作温度
  • 包装
  • 价格
  • 现货库存
  • 操作
10s
温馨提示:
订单商品问题请移至我的售后服务提交售后申请,其他需投诉问题可移至我的投诉提交,我们将在第一时间给您答复
返回顶部