h1_key

TI(德州仪器) PCM1794A-Q1
德州仪器 (TI) 全系列产品在线购买
  • TI(德州仪器) PCM1794A-Q1
  • TI(德州仪器) PCM1794A-Q1
  • TI(德州仪器) PCM1794A-Q1
  • TI(德州仪器) PCM1794A-Q1
  • TI(德州仪器) PCM1794A-Q1
  • TI(德州仪器) PCM1794A-Q1
立即查看
您当前的位置: 首页 > 音频 > 音频转换器 > 音频 DAC > PCM1794A-Q1
PCM1794A-Q1

PCM1794A-Q1

正在供货

132dB、24 位、192kHz 高级分段音频立体声数模转换器

产品详情
  • 说明
  • 特性
  • 参数
  • 封装 | 引脚 | 尺寸

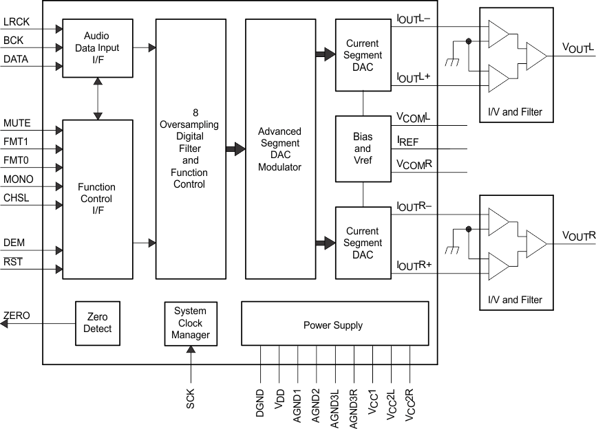
PCM1794A-Q1 器件是一款单片 CMOS 集成电路,由立体声数模转换器 (DAC) 和采用小型 28 引脚 SSOP 封装的支持电路组成。数据转换器采用德州仪器 (TI) 的高级分段 DAC 架构,拥有出色的动态性能和增强的时钟抖动耐受性。PCM1794A-Q1 器件提供均衡电流输出,允许用户从外部优化模拟性能。最高支持 200kHz 的采样速率。

  • 符合汽车应用要求
  • 具有符合 AEC-Q100 的下列结果:
    • 器件温度 1 级:-40℃ 至 +125℃ 的环境运行温度范围
    • 器件人体放电模式 (HBM) 分类等级 2
    • 器件组件充电模式 (CDM) 分类等级 C6
  • 24 位分辨率
  • 模拟性能:
    • 动态范围:
      • 132dB(9V RMS,单声道)
      • 129dB(4.5V RMS,立体声)
      • 127dB(2V RMS,立体声)
    • 总谐波失真 + 噪声 (THD+N):0.0004%
  • 差分电流输出:7.8mA p-p
  • 8× 过采样数字滤波器:
    • 阻带衰减:–130dB
    • 通带纹波:±0.00001dB
  • 采样频率:10kHz 至 200kHz
  • 系统时钟:128、192、256、384、512 或 768 fS,带自动检测功能
  • 接受 16 位和 24 位音频数据
  • 脉冲编码调制 (PCM) 数据格式:标准、I2S 和左对齐
  • 可供外部数字滤波器或数字信号处理器 (DSP) 选用的接口
  • 数字去加重功能
  • 数字滤波器衰减:急剧或缓慢
  • 软静音
  • 零标记
  • 双电源支持:5V 模拟、3.3V 数字
  • 5V 耐压数字输入
  • 小型 28 引脚紧缩小外形 (SSOP) 封装

应用

  • A/V 接收器
  • 汽车类主机
  • 乐器
  • 车载音频系统
  • 其他需要 24 位音频的应用

All trademarks are the property of their respective owners.

Number of DAC channels2
Analog inputs0
Analog outputs2
DAC SNR (typ) (dB)127
Sampling rate (max) (kHz)192
Control interfaceH/W
Resolution (Bits)24
ArchitectureAdvanced Segment
Operating temperature range (°C)-40 to 125
RatingAutomotive
SSOP (DB)2879.56 mm² 10.2 x 7.8
产品购买
  • 商品型号
  • 封装
  • 工作温度
  • 包装
  • 价格
  • 现货库存
  • 操作
10s
温馨提示:
订单商品问题请移至我的售后服务提交售后申请,其他需投诉问题可移至我的投诉提交,我们将在第一时间给您答复
返回顶部