h1_key

TI(德州仪器) PCM1690-Q1
德州仪器 (TI) 全系列产品在线购买
  • TI(德州仪器) PCM1690-Q1
  • TI(德州仪器) PCM1690-Q1
  • TI(德州仪器) PCM1690-Q1
  • TI(德州仪器) PCM1690-Q1
  • TI(德州仪器) PCM1690-Q1
  • TI(德州仪器) PCM1690-Q1
立即查看
您当前的位置: 首页 > 音频 > 音频转换器 > 音频 DAC > PCM1690-Q1
PCM1690-Q1

PCM1690-Q1

正在供货

具有差动输出的汽车类 113dB SNR 8 通道音频 DAC

产品详情
  • 说明
  • 特性
  • 参数
  • 封装 | 引脚 | 尺寸

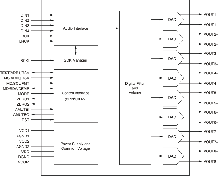
PCM1690-Q1 是一款具有差分输出的高性能、单芯片、24 位、8 通道、音频数模转换器 (DAC)。 8 通道、24 位 DAC 采用了增强型多级增量-累加 (ΔΣ) 调制器,并支持 8 kHz 至 192 kHz 的采样速率以及通过音频接口实现的 16/20/24/32 位宽度数字音频字长。 PCM1690-Q1 的音频接口支持时分多工 (TDM) 格式,另外还支持标准 I2S 左对齐、右对齐和 DSP 格式。

PCM1690-Q1 可在软件中通过一个三线式 SPI 兼容型接口、或二线式 I2C 兼容型串行接口进行控制,能够实现包括数字衰减、软静音、去加重等所有功能。 此外,硬件控制模式还可通过 2 个控制引脚来实现部分用户可编程功能。 PCM1690-Q1 采用 12-mm × 8-mm (12-mm × 6-mm 本体) HTSSOP-48 封装。

  • 符合汽车应用要求
  • 24 位 ΔΣ DAC
  • 8 通道 DAC:
    • 高性能:差分、fS = 48 kHz
    • THD+N: –94 dB
    • SNR: 113 dB
    • 动态范围: 113 dB
    • 采样速率: 8 kHz 至192 kHz
    • 系统时钟:128 fS, 192 fS, 256 fS, 384 fS, 512 fS, 768 fS, 1152 fS
    • 差分电压输出:8 VPP
    • 包括模拟低通滤波器
    • 4x/8x 过采样数字滤波器:
      • 通带纹波: ±0.0018 dB
      • 阻带衰减: –75 dB
    • 零标志
  • 高灵活音频接口:
    • I/F 格式: I2S、左/右对齐、DSP、TDM
    • 数据长度:16、20、24、32 位
  • 高灵活模式控制:
    • 三线式 SPI、二线式 I2C兼容型串行控制接口,或
      硬件控制
  • 通过 SPI 或 I2C I/F 实现的多功能::
    • 音频 I/F 格式选择: I2S、左对齐、右对齐、DSP、TDM
    • 数字衰减与软静音
    • 数字去加重:32 kHz、44.1 kHz、48  kHz
    • 数据极性控制
    • 断电
  • 通过硬件控制实现的多功能:
    • 音频 I/F 格式选择: I2S、TDM
    • 数字去加重滤波器:44.1 kHz
  • 通过时钟停止检测实现模拟静音
  • 外部复位引脚
  • 电源:
    • 5 V(用于模拟部分)与 3.3 V(用于数字部分)
  • 封装:HTSSOP-48
  • 工作温度范围:
    • –40°C to +85°C
  • 应用
    • Blu-ray(蓝光光盘) DVD 播放机
    • 高清 (HD) DVD 播放机
    • AV 接收器
    • 家庭影院
    • 汽车音频外部放大器
    • 汽车音频 AVN 应用

All trademarks are the property of their respective owners.

Number of DAC channels8
Analog inputs0
Analog outputs8
DAC SNR (typ) (dB)113
Sampling rate (max) (kHz)192
Control interfaceH/W, I2C, SPI
Resolution (Bits)24
ArchitectureCurrent Segment
Operating temperature range (°C)-40 to 85
RatingAutomotive
HTSSOP (DCA)48101.25 mm² 12.5 x 8.1
产品购买
  • 商品型号
  • 封装
  • 工作温度
  • 包装
  • 价格
  • 现货库存
  • 操作
10s
温馨提示:
订单商品问题请移至我的售后服务提交售后申请,其他需投诉问题可移至我的投诉提交,我们将在第一时间给您答复
返回顶部