h1_key

TI(德州仪器) TPA6141A2
德州仪器 (TI) 全系列产品在线购买
  • TI(德州仪器) TPA6141A2
  • TI(德州仪器) TPA6141A2
  • TI(德州仪器) TPA6141A2
  • TI(德州仪器) TPA6141A2
  • TI(德州仪器) TPA6141A2
  • TI(德州仪器) TPA6141A2
立即查看
您当前的位置: 首页 > 音频 > 音频放大器 > 耳机放大器 > TPA6141A2
TPA6141A2

TPA6141A2

正在供货

32mW 立体声模拟输入耳机放大器

产品详情
  • 说明
  • 特性
  • 参数
  • 封装 | 引脚 | 尺寸

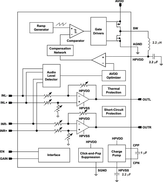
The TPA6141A2 (also known as TPA6141) is a Class-G DirectPath stereo headphone amplifier with selectable gain. Class-G technology maximizes battery life by adjusting the voltage supplies of the headphone amplifier based on the audio signal level. At low level audio signals, the internal supply voltage is reduced to minimize power dissipation. DirectPathTM technology eliminates external DC-blocking capacitors.

The device features fully differential inputs with an integrated low pass filter to reduce system noise pickup between the audio source and the headphone amplifier and to reduce DAC out-of-band noise. The high power supply noise rejection performance and differential architecture provides increased RF noise immunity. For single-ended input signals, connect INL+ and INR+ to ground.

The device operates from a 2.5 V to 5.5 V supply voltage. Class-G operation keeps total supply current below 5.0 mA while delivering 500 µW per channel into 32 . Shutdown mode reduces the supply current to less than 3 µA and is activated through the EN pin.

The device has built-in pop suppression circuitry to completely eliminate disturbing pop noise during turn-on and turn-off. The amplifier outputs have short-circuit and thermal-overload protection along with ±8 kV HBM ESD protection, simplifying end equipment compliance to the IEC 61000-4-2 ESD standard.

  • TI Class-G Technology Significantly Prolongs Battery Life and Music Playback Time
    • 0.6 mA / Ch Quiescent Current
    • 50% to 80% Lower Quiescent Current Than Ground-Referenced Class-AB Headphone Amplifiers
  • DirectPathTM Technology Eliminates Large Output DC-Blocking Capacitors
    • Outputs Biased at 0 V
    • Improves Low Frequency Audio Fidelity
  • Active Click and Pop Suppression
  • Fully Differential Inputs Reduce System Noise
    • Also Configurable as Single-Ended Inputs
  • SGND Pin Eliminates Ground Loop Noise
  • Wide Power Supply Range: 2.5 V to 5.5 V
  • 100 dB Power Supply Noise Rejection
  • Built-in Input Low Pass Filter
  • Gain Settings: 0 dB and 6dB
  • Short-Circuit Current Limiter
  • Thermal-Overload Protection
  • ±8 kV HBM ESD Protected Outputs
  • 0,4 mm Pitch, 1,6 mm × 1,6 mm 16-Bump WCSP (YFF) Package
  • APPLICATIONS
    • Cellular Phones / Music Phones
    • Smart Phones
    • Portable Media / MP3 Players
    • Portable CD / DVD Players

All trademarks are the property of their respective owners.

Output power (W)0.025
Analog supply (min) (V)2.5
Analog supply voltage (max) (V)5.5
Load (min) (Ω)16
PSRR (dB)105
RatingCatalog
Operating temperature range (°C)-40 to 85
Headphone channelsStereo
Volume controlNo
Shutdown current (ISD) (µA)1
ArchitectureClass-G
Iq per channel (typ) (mA)0.6
DSBGA (YFF)163.24 mm² 1.8 x 1.8
产品购买
  • 商品型号
  • 封装
  • 工作温度
  • 包装
  • 价格
  • 现货库存
  • 操作
10s
温馨提示:
订单商品问题请移至我的售后服务提交售后申请,其他需投诉问题可移至我的投诉提交,我们将在第一时间给您答复
返回顶部