h1_key

TI(德州仪器) TPA2051D3
德州仪器 (TI) 全系列产品在线购买
  • TI(德州仪器) TPA2051D3
  • TI(德州仪器) TPA2051D3
  • TI(德州仪器) TPA2051D3
  • TI(德州仪器) TPA2051D3
  • TI(德州仪器) TPA2051D3
  • TI(德州仪器) TPA2051D3
立即查看
您当前的位置: 首页 > 音频 > 音频放大器 > 扬声器放大器 > TPA2051D3
TPA2051D3

TPA2051D3

正在供货

具有 25mW 耳机驱动器的 2.9W 单声道、模拟输入 D 级音频放大器

产品详情
  • 说明
  • 特性
  • 参数
  • 封装 | 引脚 | 尺寸

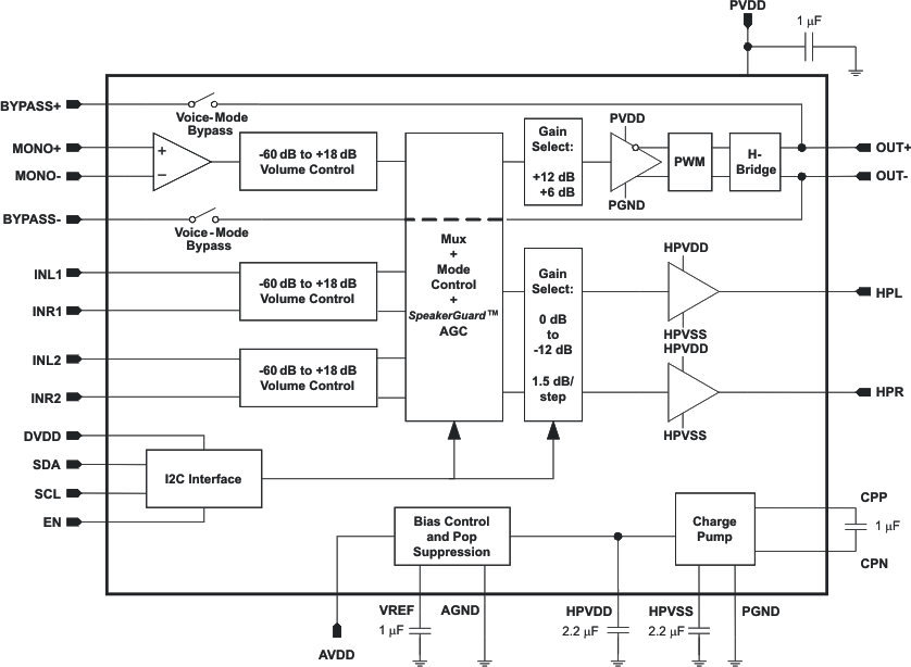
The TPA2051D3 is an audio subsystem with a mono Class-D power amplifier, a stereo DirectPath headphone amplifier, and bypass switches. The DirectPath headphone amplifier eliminates the need for external dc-blocking output capacitors. The built-in charge pump creates a negative supply voltage for the headphone amplifier, allowing a 0 V dc bias at the output. The DirectPath headphone amplifier drives 25 mW into 16 speakers from a 4.2 V supply.

The subsystem includes three inputs: A differential mono input and two stereo single-ended (SE) inputs. The stereo inputs are also configurable as differential mono inputs. Each input channel has an independent volume control. Seven operating modes provide input-to-output combinations and shutdown control. Operating mode and volume levels are controlled over a 1.8 V compatible I2C interface.

The TPA2051D3 uses SpeakerGuardTM technology to prevent output clipping distortion and excessive power to the speaker and headphones.

The Class-D amplifier includes a bypass mode. This allows the baseband IC (BB) to directly drive the 8 speaker. This is useful for dual-mode speaker phones in voice—only mode.

The Class-D amplifier uses 4.9 mA and the DirectPath amplifier uses 4.1 mA of typical quiescent current. Total supply current reduces to less than 1 µA in shutdown.

The TPA2051D3 is available in a 25-bump 2,16 mm × 2,11 mm, 0,4 mm pitch WCSP with less than 0.8 mm height.

  • Mono Class-D Amp: 730 mW into 8 from 3.6 V Supply (1% THD)
  • Class-D Bypass Switches
  • DirectPath Stereo Headphone Amplifier
    • No Output Capacitors Required
  • SpeakerGuard Automatic Gain Control (AGC)
  • One Differential Mono and Two Stereo Single-Ended Inputs
  • 3:1 Input MUX with Mode Control
  • 32-Step Volume Control for Both Input Channels
  • Independent Volume Controls for All Inputs
  • Independent Shutdown for Headphone and Class-D Amplifiers
  • I2C Interface
  • Short-Circuit and Thermal-Overload Protection
  • Operates from 2.5 V to 5.5 V
  • 25-Ball 2,16 mm × 2,11 mm, 0,4 mm pitch WCSP
  • APPLICATIONS
    • Smart Phones / Cellular Phones
    • Portable Media Players
    • Portable Gaming
    • Multimedia Platforms

Audio input typeAnalog Input
ArchitectureClass-D
Speaker channels (max)Mono
RatingCatalog
Power stage supply (max) (V)5.5
Power stage supply (min) (V)2.5
Load (min) (Ω)8
Output power (W)2.9
SNR (dB)97
THD + N at 1 kHz (%)0.04
Iq (typ) (mA)6.3
Control interfaceI2C
Closed/open loopOpen
Analog supply (min) (V)2.5
Analog supply voltage (max) (V)5.5
PSRR (dB)75
Operating temperature range (°C)-40 to 85
DSBGA (YFF)254.84 mm² 2.2 x 2.2
产品购买
  • 商品型号
  • 封装
  • 工作温度
  • 包装
  • 价格
  • 现货库存
  • 操作
10s
温馨提示:
订单商品问题请移至我的售后服务提交售后申请,其他需投诉问题可移至我的投诉提交,我们将在第一时间给您答复
返回顶部