h1_key

TI(德州仪器) PCM1795
德州仪器 (TI) 全系列产品在线购买
  • TI(德州仪器) PCM1795
  • TI(德州仪器) PCM1795
  • TI(德州仪器) PCM1795
  • TI(德州仪器) PCM1795
  • TI(德州仪器) PCM1795
  • TI(德州仪器) PCM1795
立即查看
您当前的位置: 首页 > 音频 > 音频转换器 > 音频 DAC > PCM1795
PCM1795

PCM1795

正在供货

32 位、采样频率为 192kHz 的高级分段音频立体声 DAC

产品详情
  • 说明
  • 特性
  • 参数
  • 封装 | 引脚 | 尺寸

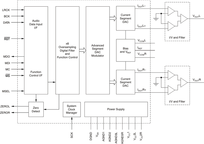
The PCM1795 device is a monolithic CMOS integrated circuit that includes stereo digital-to-analog converters (DACs) and support circuitry in a small SSOP-28 package. The data converters use TI’s advanced segment DAC architecture to achieve excellent dynamic performance and improved tolerance to clock jitter. The PCM1795 provides balanced current outputs, letting the user optimize analog performance externally. The PCM1795 accepts pulse code modulation (PCM) and direct stream digital (DSD) audio data formats, thus providing an easy interface to audio digital signal processors (DSPs) and decoder chips. The PCM1795 device also interfaces with external digital filter devices such as the DF1704, DF1706, and the PMD200 from Pacific Microsonics&trade. Sampling rates up to 200 kHz are supported. A full set of user-programmable functions is accessible through an SPI or I2C serial control port that supports register write and readback functions. The PCM1795 device also supports the time-division-multiplexed (TDM) command and audio (TDMCA) data format.

  • 32-Bit Resolution
  • Analog Performance:
    • Dynamic Range: 123 dB
    • THD+N: 0.0005%
  • Differential Current Output: 3.9 mAPP
  • 8× Oversampling Digital Filter:
    • Stop-Band Attenuation: –98 dB
    • Passband Ripple: ±0.0002 dB
  • Sampling Frequency: 10 kHz to 200 kHz
  • System Clock: 128, 192, 256, 384, 512, or
    768 fS With Autodetect
  • Accepts 16-, 24-, and 32-Bit Audio Data
  • PCM Data Formats: Standard, I2S, and Left-
    Justified
  • DSD Format Interface Available
  • Interface Available for Optional External Digital
    Filter or DSP
  • TDMCA or Serial Port (SPI™/I2C)
  • User-Programmable Mode Controls:
    • Digital Attenuation:
      0 dB to –120 dB, 0.5-dB/Step
    • Digital De-Emphasis
    • Digital Filter Roll-Off: Sharp or Slow
    • Soft Mute
    • Zero Flag for Each Output
  • Compatible With PCM1792A and PCM1796
    (Pins and Mode Controls)
  • Dual Supply Operation:
    • 5-V Analog, 3.3-V Digital
  • 5-V Tolerant Digital Inputs
  • Small SSOP-28 Package
Number of DAC channels2
Analog inputs0
Analog outputs2
DAC SNR (typ) (dB)123
Sampling rate (max) (kHz)200
Control interfaceI2C, SPI, TDMCA
Resolution (Bits)32
ArchitectureAdvanced Segment
Operating temperature range (°C)-25 to 85
RatingCatalog
SSOP (DB)2879.56 mm² 10.2 x 7.8
产品购买
  • 商品型号
  • 封装
  • 工作温度
  • 包装
  • 价格
  • 现货库存
  • 操作
10s
温馨提示:
订单商品问题请移至我的售后服务提交售后申请,其他需投诉问题可移至我的投诉提交,我们将在第一时间给您答复
返回顶部