h1_key

TI(德州仪器) PCM1690
德州仪器 (TI) 全系列产品在线购买
  • TI(德州仪器) PCM1690
  • TI(德州仪器) PCM1690
  • TI(德州仪器) PCM1690
  • TI(德州仪器) PCM1690
  • TI(德州仪器) PCM1690
  • TI(德州仪器) PCM1690
立即查看
您当前的位置: 首页 > 音频 > 音频转换器 > 音频 DAC > PCM1690
PCM1690

PCM1690

正在供货

具有差动输出的 113dB SNR 8 通道音频 DAC

产品详情
  • 说明
  • 特性
  • 参数
  • 封装 | 引脚 | 尺寸

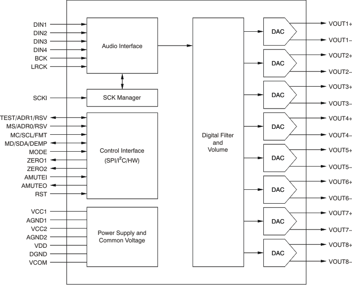
The PCM1690 device is a high-performance, single-chip, 24-bit, eight-channel, audio digital-to-analog converter (DAC) with differential outputs. The eight-channel, 24-bit DAC employs an enhanced, multi-level delta-sigma (ΔΣ) modulator and supports 8-kHz to 192-kHz sampling rates and a 16-/20-/24-/32-bit width digital audio input word on the audio interface. The audio interface of the PCM1690 supports the time-division-multiplexed (TDM) format in addition to the standard I2S, left-justified, right-justified, and DSP formats.

The PCM1690 can be controlled through a three-wire, SPI-compatible interface, or two-wire, I2C-compatible serial interface in software, which provides access to all functions including digital attenuation, soft mute, de-emphasis, and so forth. Also, hardware control mode provides a subset of user-programmable functions through two control pins. The PCM1690 is available in a 12-mm × 8-mm (12-mm × 6-mm body) HTSSOP-48 package.

For all available packages, see the orderable addendum at the end of the data sheet.

  • 24-Bit Delta-Sigma DAC
  • 8-Channel DAC:
    • High Performance: Differential, fS = 48 kHz
    • THD+N: –94 dB
    • SNR: 113 dB
    • Dynamic Range: 113 dB
    • Sampling Rate: 8 kHz to 192 kHz
    • System Clock: 128 fS, 192 fS, 256 fS, 384 fS,
      512 fS, 768 fS, 1152 fS
    • Differential Voltage Output: 8 VPP
    • Analog Lowpass Filter Included
    • 4x/8x Oversampling Digital Filter:
      • Passband Ripple: ±0.0018 dB
      • Stop Band Attenuation: –75 dB
    • Zero Flag
  • Flexible Audio Interface:
    • I/F Format: I2S™, Left-/Right-Justified, DSP,
      TDM
    • Data Length: 16, 20, 24, 32 Bits
  • Flexible Mode Control:
    • 3-Wire SPI, 2-Wire I2C-Compatible Serial
      Control Interface, or Hardware Control
  • Multiple Functions Through SPI or I2C I/F:
    • Audio I/F Format Select: I2S, Left-Justified,
      Right-Justified, DSP, TDM
    • Digital Attenuation and Soft Mute
    • Digital De-Emphasis: 32 kHz, 44.1 kHz,
      48 kHz
    • Data Polarity Control
    • Power Down
  • Multiple Functions Through H/W Control:
    • Audio I/F Format Select: I2S, TDM
    • Digital De-Emphasis Filter: 44.1 kHz
  • Analog Mute by Clock Halt Detection
  • External RESET Pin
  • Power Supplies:
    • 5 V for Analog and 3.3 V for Digital
  • Package: HTSSOP-48
  • Operating Temperature Range:
    • –40°C to +85°C
Number of DAC channels8
Analog inputs0
Analog outputs8
DAC SNR (typ) (dB)113
Sampling rate (max) (kHz)192
Control interfaceH/W, I2C, SPI
Resolution (Bits)24
ArchitectureCurrent Segment DAC
Operating temperature range (°C)-40 to 85
RatingCatalog
HTSSOP (DCA)48101.25 mm² 12.5 x 8.1
产品购买
  • 商品型号
  • 封装
  • 工作温度
  • 包装
  • 价格
  • 现货库存
  • 操作
10s
温馨提示:
订单商品问题请移至我的售后服务提交售后申请,其他需投诉问题可移至我的投诉提交,我们将在第一时间给您答复
返回顶部