h1_key

TI(德州仪器) PCM1681-Q1
德州仪器 (TI) 全系列产品在线购买
  • TI(德州仪器) PCM1681-Q1
  • TI(德州仪器) PCM1681-Q1
  • TI(德州仪器) PCM1681-Q1
  • TI(德州仪器) PCM1681-Q1
  • TI(德州仪器) PCM1681-Q1
  • TI(德州仪器) PCM1681-Q1
立即查看
您当前的位置: 首页 > 音频 > 音频转换器 > 音频 DAC > PCM1681-Q1
PCM1681-Q1

PCM1681-Q1

正在供货

105dB SNR 8 通道音频 DAC(汽车类)

产品详情
  • 说明
  • 特性
  • 参数
  • 封装 | 引脚 | 尺寸

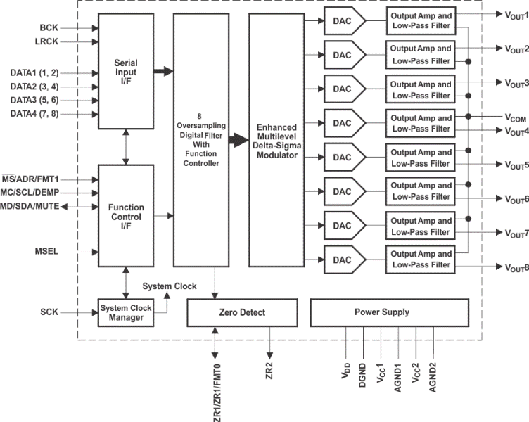
The PCM1681 and PCM1681-Q1 are CMOS monolithic integrated circuits which feature an eight-channel 24-bit audio digital-to-analog converter (DAC) and support circuitry in small 28-lead TSSOP PowerPAD packages. The DACs utilize Burr-Brown's enhanced multilevel delta-sigma (ΔΣ) architecture to achieve excellent signal-to-noise performance and a high tolerance to clock jitter.

The PCM1681 and PCM1681-Q1 accept TDM (time-division multiplexed) format in addition to industry-standard audio data formats with 16- to 24-bit audio data width. Sampling rates up to 200 kHz are supported. The PCM1681 and PCM1681-Q1 provide a sub-set of user-programmable functions through a parallel control port, in addition to a full set of user-programmable functions through a serial control port, SPI, or I2C. The PCM1681 supports –40°C to +85°C for consumer grade applications and the PCM1681-Q1 supports –40°C to +105°C for automotive audio grade systems.

  • Qualified for Automotive Applications: PCM1681-
    Q1
  • 24-Bit Resolution
  • Analog Performance:
    • Dynamic Range: 105 dB Typical
    • SNR: 105 dB Typical
    • THD+N: 0.002% Typical
    • Full-Scale Output: 3.75 VPP Typical
  • 4×/8× Oversampling Interpolation Filter:
    • Stop-Band Attenuation: –57 dB
    • Pass-Band Ripple: ±0.015 dB
  • Sampling Frequency: 5 kHz to 200 kHz
  • System Clock: 128 fS, 192 fS, 256 fS, 384 fS,
    512 fS, 768 fS, or 1152 fS with Autodetect
  • Zero Flags for Selectable Channel Combinations
  • Flexible Mode Control:
    • SPI™/I2C™ Dual Mode for Serial Port
    • Parallel Hardware Control with 4 Functions
  • User-Programmable Functions (in SPI/I2C):
    • Flexible Audio Data Formats:
      • Right-Justified, I2S™, Left-Justified, TDM,
        DSP
      • 16- and 24-Bit Audio Data
    • Digital Attenuation: Mode Selectable
      • 0 dB to –63 dB, 0.5 dB/step
      • 0 dB to –100 dB, 1 dB/step
    • Soft Mute
    • Digital De-Emphasis
    • Digital Filter Roll-Off: Sharp or Slow
    • Oversampling Mode
  • User-Programmable Functions (in H/W):
    • Flexible Audio Data Formats:
      • Right-Justified, I2S, Left-Justified, TDM
      • Soft Mute
      • Digital De-Emphasis
      • Oversampling Mode
  • Power Supply Voltage: 5-V Analog, 3.3-V Digital
  • Package: 28-Lead HTSSOP PowerPAD
  • Operation Temperature Range:
    • –40°C to 85°C for Consumer Grade
    • –40°C to 105°C for Automotive Audio Grade
Number of DAC channels8
Analog inputs0
Analog outputs8
DAC SNR (typ) (dB)105
Sampling rate (max) (kHz)200
Control interfaceH/W, I2C, SPI
Resolution (Bits)24
ArchitectureCurrent Segment DAC
Operating temperature range (°C)-40 to 105
RatingAutomotive
HTSSOP (PWP)2862.08 mm² 9.7 x 6.4
产品购买
  • 商品型号
  • 封装
  • 工作温度
  • 包装
  • 价格
  • 现货库存
  • 操作
10s
温馨提示:
订单商品问题请移至我的售后服务提交售后申请,其他需投诉问题可移至我的投诉提交,我们将在第一时间给您答复
返回顶部