h1_key

TI(德州仪器) TPA2013D1
德州仪器 (TI) 全系列产品在线购买
  • TI(德州仪器) TPA2013D1
  • TI(德州仪器) TPA2013D1
  • TI(德州仪器) TPA2013D1
  • TI(德州仪器) TPA2013D1
  • TI(德州仪器) TPA2013D1
  • TI(德州仪器) TPA2013D1
立即查看
您当前的位置: 首页 > 音频 > 音频放大器 > 扬声器放大器 > TPA2013D1
TPA2013D1

TPA2013D1

正在供货

具有集成升压转换器和可选增益的 2.7W 单声道、模拟输入 D 类音频放大器

产品详情
  • 说明
  • 特性
  • 参数
  • 封装 | 引脚 | 尺寸

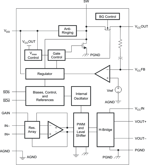
The TPA2013D1 device is a high efficiency Class-D audio power amplifier with an integrated boost converter. It drives up to 2.7 W (10% THD+N) into a 4-Ω speaker. With 85% typical efficiency, the TPA2013D1 helps extend battery life when playing audio.

The built-in boost converter generates the voltage rail for the Class-D amplifier. This provides a louder audio output than a stand-alone amplifier connected directly to the battery. It also maintains a consistent loudness, regardless of battery voltage. Additionally, the boost converter can be used to supply external devices.

The TPA2013D1 has an integrated low pass filter to improve RF rejection and reduce out-of-band noise, increasing the signal-to-noise ratio (SNR). A built-in PLL synchronizes the boost converter and Class-D switching frequencies, thus eliminating beat frequencies and improving audio quality. All outputs are fully protected against shorts to ground, power supply, and output-to-output shorts.

  • High Efficiency Integrated Boost Converter (Over
    90% Efficiency)
  • 2.2-W into an 8-Ω Load from a 3.6-V Supply
  • 2.7-W into an 4-Ω Load from a 3.6-V Supply
  • Operates from 1.8 V to 5.5 V
  • Efficient Class-D Prolongs Battery Life
  • Independent Shutdown for Boost Converter and
    Class-D Amplifier
  • Differential Inputs Reduce RF Common Noise
  • Built-In INPUT Low-Pass Filter Decreases RF and
    Out-of-Band Noise Sensitivity
  • Synchronized Boost and Class-D Eliminates Beat
    Frequencies
  • Thermal and Short-Circuit Protection
  • Available in 2.275-mm × 2.275-mm 16-ball WCSP
    and 4-mm × 4-mm 20-Lead QFN Packages
  • 3 Selectable Gain Settings of 2 V/V, 6 V/V, and
    10 V/V
Audio input typeAnalog Input
ArchitectureClass-D Boosted
Speaker channels (max)Mono
RatingCatalog
Power stage supply (max) (V)5.5
Power stage supply (min) (V)1.8
Load (min) (Ω)4
Output power (W)2.7
SNR (dB)95
THD + N at 1 kHz (%)1
Iq (typ) (mA)16.5
Control interfaceGPIO
Closed/open loopOpen
Analog supply (min) (V)2.3
Analog supply voltage (max) (V)5.2
PSRR (dB)95
Operating temperature range (°C)-40 to 85
DSBGA (YZH)165.0625 mm² 2.25 x 2.25
VQFN (RGP)2016 mm² 4 x 4
产品购买
  • 商品型号
  • 封装
  • 工作温度
  • 包装
  • 价格
  • 现货库存
  • 操作
10s
温馨提示:
订单商品问题请移至我的售后服务提交售后申请,其他需投诉问题可移至我的投诉提交,我们将在第一时间给您答复
返回顶部