h1_key

TI(德州仪器) TLV197-Q1
德州仪器 (TI) 全系列产品在线购买
  • TI(德州仪器) TLV197-Q1
  • TI(德州仪器) TLV197-Q1
  • TI(德州仪器) TLV197-Q1
  • TI(德州仪器) TLV197-Q1
  • TI(德州仪器) TLV197-Q1
  • TI(德州仪器) TLV197-Q1
立即查看
您当前的位置: 首页 > 放大器 > 运算放大器 (op amps) > 精密运算放大器 (Vos<1mV) > TLV197-Q1
TLV197-Q1

TLV197-Q1

正在供货

汽车类、单通道、高电压、精密 RRIO 运算放大器

产品详情
  • 说明
  • 特性
  • 参数
  • 封装 | 引脚 | 尺寸

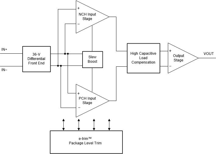
The TLV197-Q1, TLV2197-Q1 and TLV4197-Q1 (TLVx197-Q1) family of devices are part of a new generation, of low-cost, 36-V, automotive-qualified, operational amplifiers. The TLVx197-Q1 family uses a method of package-level trim for offset and offset temperature drift implemented during the final steps of manufacturing after the plastic molding process. This method minimizes the influence of inherent input transistor mismatch, as well as errors induced during package molding.

Good dc precision and ac performance including rail-to-rail input/output, an optimized cost structure, and AEC-Q100 grade 1 qualification, make this family an excellent choice for low-side current-sensing and signal-conditioning applications in the automotive space.

More unique features, such as a differential input-voltage range to the supply rail, a high output current (±65 mA), a heavy capacitive load drive of up to 1 nF, and a high slew rate (20 V/µs), make these devices a robust, high-performance operational amplifier family for high-voltage automotive applications.

The TLVx197-Q1 family of op amps is available in standard packages and is specified from –40°C to +125°C.

  • AEC-Q100 qualified for automotive applications:
    • Temperature grade 1: –40°C to +125°C, TA
  • Low offset voltage: ±500 µV (maximum)
  • Low noise: 5.5 nV/√Hz at 1 kHz
  • High common-mode rejection: 140 dB
  • Low bias current: ±5 pA
  • Rail-to-rail input and output
  • Wide bandwidth: 10-MHz GBW
  • High slew rate: 20 V/µs
  • Low quiescent current: 1 mA per amplifier
  • Wide supply: ±2.25 V to ±18 V, 4.5 V to 36 V
  • EMI/RFI filtered inputs
  • Differential input-voltage range to supply rail
  • High capacitive load drive capability: 1 nF
  • Industry-standard package:
    • Single channel in very small 8-pin VSSOP
    • Dual channel in 8-pin VSSOP
    • Quad channel in 14-pin TSSOP
Number of channels1
Total supply voltage (+5 V = 5, ±5 V = 10) (max) (V)36
Total supply voltage (+5 V = 5, ±5 V = 10) (min) (V)4.5
Vos (offset voltage at 25°C) (max) (mV)0.5
GBW (typ) (MHz)10
FeaturesCost Optimized, EMI Hardened, MUX Friendly, e-Trim™
Slew rate (typ) (V/µs)20
Rail-to-railIn, Out
Offset drift (typ) (µV/°C)1
Iq per channel (typ) (mA)1
Vn at 1 kHz (typ) (nV√Hz)5.5
CMRR (typ) (dB)140
RatingAutomotive
Operating temperature range (°C)-40 to 125
TI functional safety categoryFunctional Safety-Capable
Input bias current (max) (pA)20
Iout (typ) (A)0.065
ArchitectureCMOS
Input common mode headroom (to negative supply) (typ) (V)-0.1
Input common mode headroom (to positive supply) (typ) (V)0.1
Output swing headroom (to negative supply) (typ) (V)0.095
Output swing headroom (to positive supply) (typ) (V)0.095
THD + N at 1 kHz (typ) (%)0.00008
VSSOP (DGK)814.7 mm² 3 x 4.9
产品购买
  • 商品型号
  • 封装
  • 工作温度
  • 包装
  • 价格
  • 现货库存
  • 操作
10s
温馨提示:
订单商品问题请移至我的售后服务提交售后申请,其他需投诉问题可移至我的投诉提交,我们将在第一时间给您答复
返回顶部