h1_key

TI(德州仪器) CDCM61004
德州仪器 (TI) 全系列产品在线购买
  • TI(德州仪器) CDCM61004
  • TI(德州仪器) CDCM61004
  • TI(德州仪器) CDCM61004
  • TI(德州仪器) CDCM61004
  • TI(德州仪器) CDCM61004
  • TI(德州仪器) CDCM61004
立即查看
您当前的位置: 首页 > 时钟和计时 > 时钟发生器 > CDCM61004
CDCM61004

CDCM61004

正在供货

1:4 超低抖动晶振时钟发生器

产品详情
  • 说明
  • 特性
  • 参数
  • 封装 | 引脚 | 尺寸

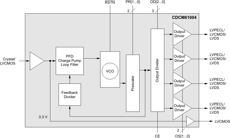
The CDCM61004 is a highly versatile, low-jitter frequency synthesizer capable of generating four low-jitter clock outputs, selectable between low-voltage positive emitter coupled logic (LVPECL), low-voltage differential signaling (LVDS), or low-voltage complementary metal oxide semiconductor (LVCMOS) outputs, from a low-frequency crystal of LVCMOS input for a variety of wireline and data communication applications. The CDCM61004 features an onboard PLL that can be easily configured solely through control pins. The overall output random jitter performance is less than 1 ps, RMS (from 10 kHz to 20 MHz), making this device a perfect choice for use in demanding applications such as SONET, Ethernet, Fibre Channel, and SAN. The CDCM61004 is available in a small, 32-pin, 5-mm × 5-mm VQFN package.

The CDCM61004 is a high-performance, low-phase noise, fully-integrated voltage-controlled oscillator (VCO) clock synthesizer with four universal output buffers that can be configured to be LVPECL, LVDS, or LVCMOS compatible. Each universal output can also be converted to two LVCMOS outputs. Additionally, an LVCMOS bypass output clock is available in an output configuration which can help with crystal loading to achieve an exact desired input frequency. It has one fully-integrated, low-noise, LC-based VCO that operates in the
1.75 GHz to 2.05 GHz range.

The phase-locked loop (PLL) synchronizes the VCO with respect to the input, which can either be a low-frequency crystal. The output share an output divider sourced from the VCO core. All device settings are managed through a control pin structure, which has two pins that control the prescaler and feedback divider, three pins that control the output divider, two pins that control the output type, and one pin that controls the output enable. Any time the PLL settings (including the input frequency, prescaler divider, or feedback divider) are altered, a reset must be issued through the Reset control pin (active low for device reset). The reset initiates a PLL recalibration process to ensure PLL lock. When the device is in reset, the outputs and dividers are turned off.

The output frequency (fOUT) is proportional to the frequency of the input clock (fIN). The feedback divider, output divider, and VCO frequency set fOUT with respect to fIN.

The output divider can be chosen from 1, 2, 3, 4, 6, or 8 through the use of control pins. Feedback divider and prescaler divider combinations can be chosen from 25 and 3, 24 and 3, 20 and 4, or 15 and 5, respectively, also through the use of control pins. CDCM61004 Block Diagram shows a high-level diagram of the CDCM61004.

The device operates in a 3.3-V supply environment and is characterized for operation from –40°C to 85°C.

  • One Crystal/LVCMOS Reference Input
    Including 24.8832 MHz, 25 MHz, and 26.5625 MHz
  • Input Frequency Range: 21.875 MHz to
    28.47 MHz
  • On-Chip VCO Operates in Frequency Range of

    1.75 GHz to 2.05 GHz
  • 4x Output Available:
    • Pin-Selectable Between LVPECL, LVDS, or
      2-LVCMOS; Operates at 3.3 V
  • LVCMOS Bypass Output Available
  • Output Frequency Selectable by /1, /2, /3, /4, /6,
    /8 from a Single Output Divider
  • Supports Common LVPECL/LVDS Output
    Frequencies:
    • 62.5 MHz, 74.25 MHz, 75 MHz, 77.76 MHz,
      100 MHz, 106.25 MHz, 125 MHz, 150 MHz,
      155.52 MHz, 156.25 MHz, 159.375 MHz,
      187.5 MHz, 200 MHz, 212.5 MHz, 250 MHz,
      311.04 MHz, 312.5 MHz, 622.08 MHz,
      625 MHz
  • Supports Common LVCMOS Output Frequencies:
    • 62.5 MHz, 74.25 MHz, 75 MHz, 77.76 MHz,
      100 MHz, 106.25 MHz, 125 MHz, 150 MHz,
      155.52 MHz, 156.25 MHz, 159.375 MHz,
      187.5 MHz, 200 MHz, 212.5 MHz, 250 MHz
  • Output Frequency Range: 43.75 MHz to
    683.264 MHz
  • Internal PLL Loop Bandwidth: 400 kHz
  • High-Performance PLL Core:
    • Phase Noise typically at –146 dBc/Hz at
      5-MHz Offset for 625-MHz LVPECL Output
    • Random Jitter typically at 0.509 ps, RMS
      (10 kHz to 20 MHz) for 625-MHz LVPECL Output
  • Output Duty Cycle Corrected to 50% (± 5%)
  • Low Output Skew of 30 ps on LVPECL Outputs
  • Divider Programming Using Control Pins:
    • Two Pins for Prescaler/Feedback Divider
    • Three Pins for Output Divider
    • Two Pins for Output Select
  • Chip Enable Control Pin Available
  • 3.3-V Core and I/O Power Supply
  • Industrial Temperature Range: –40°C to 85°C
  • 5-mm × 5-mm, 32-pin, VQFN (RHB) Package
  • ESD Protection Exceeds 2 kV (HBM)
FunctionClock generator
Number of outputs4
Output frequency (max) (MHz)683.264
Core supply voltage (V)3.3
Output supply voltage (V)3.3
Input typeLVCMOS, XTAL
Output typeLVPECL
Operating temperature range (°C)-40 to 85
Features3.3-V VCC/VDD, Pin programmable
RatingCatalog
VQFN (RHB)3225 mm² 5 x 5
产品购买
  • 商品型号
  • 封装
  • 工作温度
  • 包装
  • 价格
  • 现货库存
  • 操作
10s
温馨提示:
订单商品问题请移至我的售后服务提交售后申请,其他需投诉问题可移至我的投诉提交,我们将在第一时间给您答复
返回顶部