h1_key

TI(德州仪器) LMX2487E
德州仪器 (TI) 全系列产品在线购买
  • TI(德州仪器) LMX2487E
  • TI(德州仪器) LMX2487E
  • TI(德州仪器) LMX2487E
  • TI(德州仪器) LMX2487E
  • TI(德州仪器) LMX2487E
  • TI(德州仪器) LMX2487E
立即查看
您当前的位置: 首页 > 射频与微波 > 射频 PLL 与合成器 > LMX2487E
LMX2487E

LMX2487E

正在供货

用于射频个人通信的 3GHz 至 7.5GHz Δ-Σ 低功耗双路 PLL

产品详情
  • 说明
  • 特性
  • 参数
  • 封装 | 引脚 | 尺寸

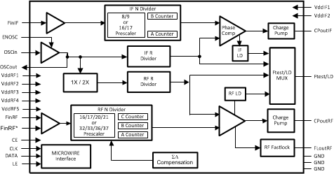
The LMX2487E device is a low power, high performance delta-sigma fractional-N PLL with an auxiliary integer-N PLL. It is fabricated using TI’s advanced process.

With delta-sigma architecture, fractional spurs at lower offset frequencies are pushed to higher frequencies outside the loop bandwidth. The ability to push close in spur and phase noise energy to higher frequencies is a direct function of the modulator order. Unlike analog compensation, the digital feedback technique used in the LMX2487E is highly resistant to changes in temperature and variations in wafer processing. The LMX2487E delta-sigma modulator is programmable up to fourth order, which allows the designer to select the optimum modulator order to fit the phase noise, spur, and lock time requirements of the system.

Serial data for programming the LMX2487E is transferred through a three-line, high-speed (20-MHz) MICROWIRE interface. The LMX2487E offers fine frequency resolution, low spurs, fast programming speed, and a single-word write to change the frequency. This makes it ideal for direct digital modulation applications, where the N-counter is directly modulated with information. The LMX2487E is available in a 24-lead 4.0 × 4.0 × 0.8 mm WQFN package.

  • Quadruple Modulus Prescaler for Lower Divids
    • RF PLL: 16/17/20/21 or 32/33/36/37
    • IF PLL: 8/9 or 16/17
  • Advanced Delta Sigma Fractional Compensation
    • 12-Bit or 22-Bit Selectable Fractional Modulus
    • Up to 4th Order Programmable Delta-Sigma
      Modulator
  • Features for Improved Lock Time
    • Fastlock / Cycle Slip Reduction that Requires
      Single-Word Write
    • Integrated Time-Out Counter
  • Wide Operating Range
    • LMX2487E RF PLL: 3.0 GHz to 7.5 GHz
  • Useful Features
    • Digital Lock Detect Output
    • Hardware and Software Power-Down Control
    • On-Chip Crystal Reference Frequency Doubler
    • RF Phase Comparison Frequency Up to 50
      MHz
    • 2.5-V to 3.6-V Operation With ICC = 8.5 mA
      at 3.0 V
Integrated VCONo
Output frequency (min) (MHz)3000
Output frequency (max) (MHz)7500
Normalized PLL phase noise (dBc/Hz)-210
Current consumption (mA)5.7
FeaturesAdvanced delta-sigma fractional compensation, Cycle slip reduction, Dual PLL, Fastlock, Integrated timeout counter, On-chip input frequency doubler
1/f noise (10-kHz offset at 1-GHz carrier) (dBc/Hz)-104
RatingCatalog
Operating temperature range (°C)-40 to 85
Lock time (µs) (typ)Loop BW dependent
WQFN (RTW)2416 mm² 4 x 4
产品购买
  • 商品型号
  • 封装
  • 工作温度
  • 包装
  • 价格
  • 现货库存
  • 操作
10s
温馨提示:
订单商品问题请移至我的售后服务提交售后申请,其他需投诉问题可移至我的投诉提交,我们将在第一时间给您答复
返回顶部