h1_key

TI(德州仪器) CDCP1803
德州仪器 (TI) 全系列产品在线购买
  • TI(德州仪器) CDCP1803
  • TI(德州仪器) CDCP1803
  • TI(德州仪器) CDCP1803
  • TI(德州仪器) CDCP1803
  • TI(德州仪器) CDCP1803
  • TI(德州仪器) CDCP1803
立即查看
您当前的位置: 首页 > 时钟和计时 > 时钟缓冲器 > CDCP1803
CDCP1803

CDCP1803

正在供货

具有可编程分频器的 1:3 LVPECL 时钟缓冲器

产品详情
  • 说明
  • 特性
  • 参数
  • 封装 | 引脚 | 尺寸

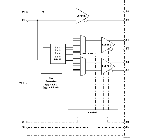
The CDCP1803 clock driver distributes one pair of differential clock inputs to three pairs of LVPECL differential clock outputs Y[2:0] and Y[2:0] with minimum skew for clock distribution. The CDCP1803 is specifically designed for driving 50-Ω transmission lines.

The CDCP1803 has three control terminals, S0, S1, and S2, to select different output mode settings; see for details. The CDCP1803 is characterized for operation from –40°C to 85°C. For use in single-ended driver applications, the CDCP1803 also provides a VBB output terminal that can be directly connected to the unused input as a common-mode voltage reference.

  • Distributes One Differential Clock Input to Three LVPECL Differential Clock Outputs
  • Programmable Output Divider for Two LVPECL Outputs
  • Low-Output Skew 15 ps (Typical)
  • VCC Range 3 V–3.6 V
  • Signaling Rate Up to 800-MHz LVPECL
  • Differential Input Stage for Wide Common-Mode Range
  • Provides VBB Bias Voltage Output for Single-Ended Input Signals
  • Receiver Input Threshold ±75 mV
  • 24-Terminal QFN Package (4 mm × 4 mm)
  • Accepts Any Differential Signaling:
    LVDS, HSTL, CML, VML, SSTL-2, and
    Single-Ended: LVTTL/LVCMOS

FunctionDifferential, Fanout
Additive RMS jitter (typ) (fs)150
Output frequency (max) (MHz)800
Number of outputs3
Output supply voltage (V)3.3
Core supply voltage (V)3.3
Output skew (ps)15
FeaturesPin programmable
Operating temperature range (°C)-40 to 85
RatingCatalog
Output typeLVPECL
Input typeLVPECL
VQFN (RGE)2416 mm² 4 x 4
产品购买
  • 商品型号
  • 封装
  • 工作温度
  • 包装
  • 价格
  • 现货库存
  • 操作
10s
温馨提示:
订单商品问题请移至我的售后服务提交售后申请,其他需投诉问题可移至我的投诉提交,我们将在第一时间给您答复
返回顶部