h1_key

TI(德州仪器) ADC3421-Q1
德州仪器 (TI) 全系列产品在线购买
  • TI(德州仪器) ADC3421-Q1
  • TI(德州仪器) ADC3421-Q1
  • TI(德州仪器) ADC3421-Q1
  • TI(德州仪器) ADC3421-Q1
  • TI(德州仪器) ADC3421-Q1
  • TI(德州仪器) ADC3421-Q1
立即查看
您当前的位置: 首页 > 数据转换器 > 模数转换器 (ADC) > 高速 ADC (≥10MSPS) > ADC3421-Q1
ADC3421-Q1

ADC3421-Q1

正在供货

汽车类、四通道、12 位、25MSPS 模数转换器 (ADC)

产品详情
  • 说明
  • 特性
  • 参数
  • 封装 | 引脚 | 尺寸

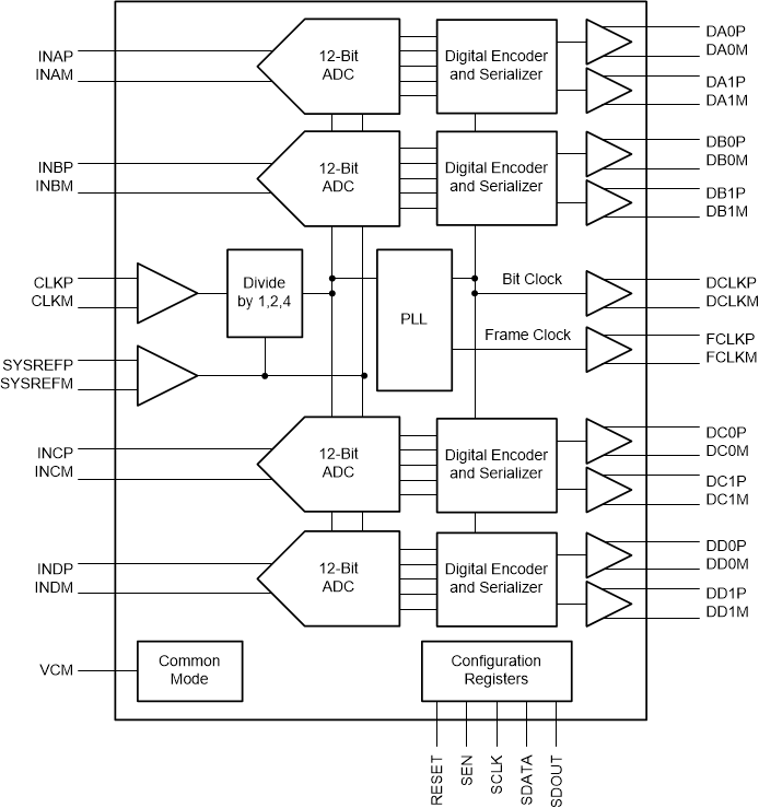
ADC3421-Q1 是一款汽车级、高线性度、超低功耗、四通道、12 位、25MSPS 模数转换器 (ADC)。该器件专门用于支持具有宽动态范围需求且要求苛刻的高输入频率信号。输入时钟分频器使得系统时钟架构设计更加灵活,SYSREF 输入可实现系统完全同步。ADC3421-Q1 支持串行低压差分信令 (LVDS),从而减少接口线路的数量,实现高系统集成密度。串行 LVDS 接口为双线制,通过两个 LVDS 对串行输出每个 ADC 数据。内部锁相环 (PLL) 会将传入的 ADC 采样时钟加倍,以获得串行输出各通道的 12 位输出数据时所使用的位时钟。除了串行数据流之外,数据帧和位时钟也作为 LVDS 输出进行传送。

  • 符合面向汽车 标准
    • 温度等级 1:–40°C 至 125°C TA
  • 四通道
  • 12 位分辨率
  • 单电源:1.8V
  • 串行 LVDS 接口
  • 支持 1 分频、2 分频和 4 分频的灵活输入时钟缓冲器
  • fIN = 10MHz 时,SNR = 71.1dBFS,
    SFDR = 90dBc
  • 超低功耗:
    • 25MSPS 时为每通道 44mW
  • 通道隔离:105dB
  • 内部抖动和斩波
  • 支持多芯片同步
Sample rate (max) (Msps)125
Resolution (Bits)12
Number of input channels4
Interface typeSerial LVDS
Analog input BW (MHz)540
FeaturesHigh Dynamic Range, High Performance, Low Power
RatingAutomotive
Peak-to-peak input voltage range (V)2
Power consumption (typ) (mW)177
ArchitecturePipeline
SNR (dB)70.2
ENOB (bit)11.5
SFDR (dB)87
Operating temperature range (°C)-40 to 125
Input bufferYes
VQFNP (RWE)5664 mm² 8 x 8
产品购买
  • 商品型号
  • 封装
  • 工作温度
  • 包装
  • 价格
  • 现货库存
  • 操作

很抱歉,暂时无法提供与“ADC3421-Q1”系列相匹配的产品,您可以联系专属客服快速找货或在现货搜索框中重新搜索。

10s
温馨提示:
订单商品问题请移至我的售后服务提交售后申请,其他需投诉问题可移至我的投诉提交,我们将在第一时间给您答复
返回顶部