h1_key

TI(德州仪器) ADS131M08
德州仪器 (TI) 全系列产品在线购买
  • TI(德州仪器) ADS131M08
  • TI(德州仪器) ADS131M08
  • TI(德州仪器) ADS131M08
  • TI(德州仪器) ADS131M08
  • TI(德州仪器) ADS131M08
  • TI(德州仪器) ADS131M08
立即查看
您当前的位置: 首页 > 数据转换器 > 模数转换器 (ADC) > 精密 ADC > ADS131M08
ADS131M08

ADS131M08

正在供货

24 位 32kSPS 8 通道同步采样 Δ-Σ ADC

产品详情
  • 说明
  • 特性
  • 参数
  • 封装 | 引脚 | 尺寸

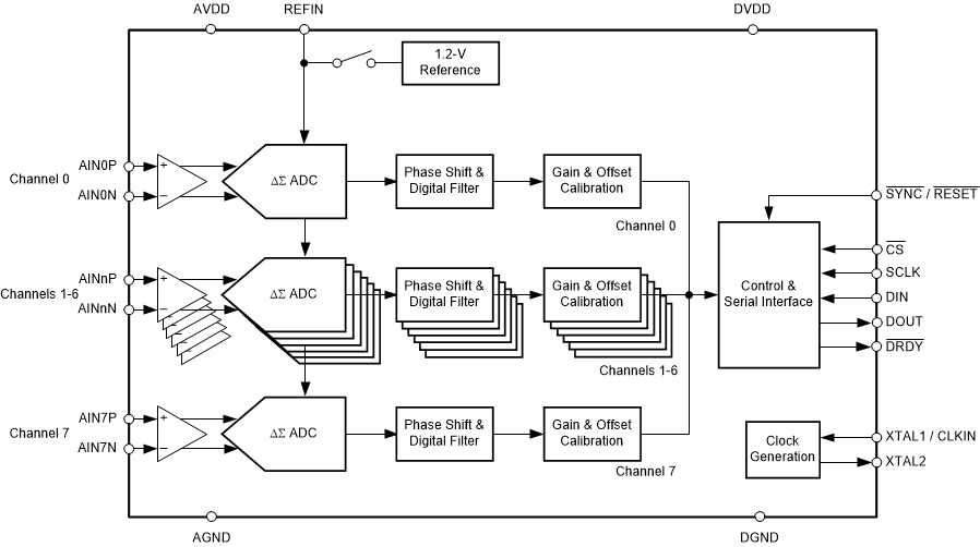
ADS131M08 是一款 eight 通道、同步采样、24 位、Δ-Σ 模数转换器 (ADC),具有宽动态范围、低功耗和电能测量特定功能,因此非常适合电能计量、功率计量和断路器应用。ADC 输入可以直接连接到电阻分压器网络或电源变压器来测量电压,或连接到电流互感器或 Rogowski 线圈来测量电流。

单独 ADC 通道可以根据传感器输入进行独立配置。低噪声、可编程增益放大器 (PGA) 提供了从 1 到 128 的增益,以放大低电平信号。此外,该器件集成了通道间相位校准、偏移和增益校准寄存器,有助于消除信号链误差。

该器件集成了低漂移、1.2V 基准,减小了印刷电路板 (PCB) 面积。数据输入、数据输出和寄存器映射中可选的循环冗余校验 (CRC) 可以确保通信完整性。

完整的模拟前端 (AFE) 采用 32 引脚 TQFP 封装或无引线 32 引脚 WQFN 封装,额定工业级温度范围为 –40°C 至 +125°C。

  • 8 同步采样差分输入
  • 可编程数据速率高达 32kSPS
  • 可编程增益高达 128
  • 噪声性能:
    • 当增益为 1.4kSPS 时,动态范围为 102dB
    • 当增益为 64.4kSPS 时,动态范围为 80dB
  • 总谐波失真:-100dB
  • 用于直接传感器连接的高阻抗输入:
    • 当增益为 1、2 和 4 时, 输入阻抗为 330kΩ
    • 当增益为 8、16、32、64 和 128 时, 输入阻抗为 ≥ 1MΩ
  • 可编程的通道间相位延迟校准:
    • 分辨率为 244ns,fCLKIN 为 8.192MHz
  • 电流监测模式可实现超低功耗篡改监测
  • 快速启动:电压斜升 0.5ms 内的第一个数据
  • 集成的负电荷泵允许输入信号低于接地值
  • 通道间串扰:-120dB
  • 低漂移内部电压基准
  • 用于通信和寄存器映射的循环冗余校验器 (CRC)
  • 2.7V 至 3.6V 模拟和数字电源
  • 低功耗:3V AVDD 和 DVDD 下为 6.0mW
  • 封装:32 引脚 TQFP 或 32 引脚 WQFN
  • 工作温度范围:–40°C 至 +125°C
Resolution (Bits)24
Sample rate (max) (ksps)32
Number of input channels8
Interface typeSPI
ArchitectureDelta-Sigma
Input typeDifferential, Single-ended
Multichannel configurationSimultaneous Sampling
RatingCatalog
Reference modeExternal, Internal
Input voltage range (max) (V)3.6
Input voltage range (min) (V)-1.3
FeaturesPGA, Small Size
Operating temperature range (°C)-40 to 125
Power consumption (typ) (mW)6
Analog supply (min) (V)2.7
Analog supply voltage (max) (V)3.6
SNR (dB)101
Digital supply (min) (V)1.65
Digital supply (max) (V)3.6
TQFP (PBS)3249 mm² 7 x 7
WQFN (RSN)3216 mm² 4 x 4
产品购买
  • 商品型号
  • 封装
  • 工作温度
  • 包装
  • 价格
  • 现货库存
  • 操作
10s
温馨提示:
订单商品问题请移至我的售后服务提交售后申请,其他需投诉问题可移至我的投诉提交,我们将在第一时间给您答复
返回顶部