h1_key

TI(德州仪器) AFE44S30
德州仪器 (TI) 全系列产品在线购买
  • TI(德州仪器) AFE44S30
  • TI(德州仪器) AFE44S30
  • TI(德州仪器) AFE44S30
  • TI(德州仪器) AFE44S30
  • TI(德州仪器) AFE44S30
  • TI(德州仪器) AFE44S30
立即查看
您当前的位置: 首页 > 数据转换器 > 集成型和特殊功能数据转换器 > 医疗 AFE > AFE44S30
AFE44S30

AFE44S30

正在供货

用于可穿戴式光学生物传感、具有 FIFO 和 SPI 的超低功耗集成模拟前端 (AFE)

产品详情
  • 说明
  • 特性
  • 参数
  • 封装 | 引脚 | 尺寸

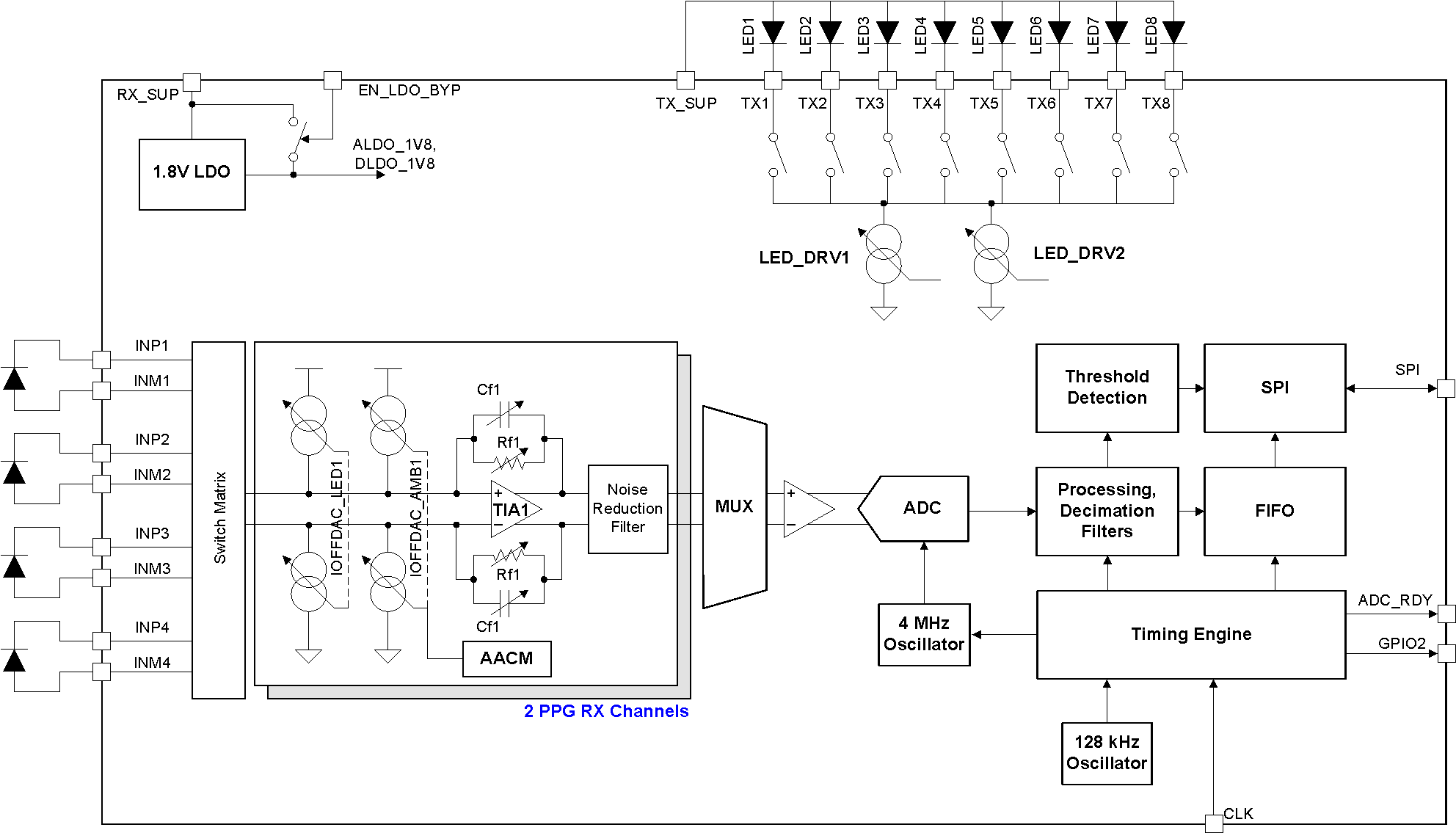
AFE44S30 是一款模拟前端,面向光学生物传感 应用,例如心率监测 (HRM) 和周围毛细血管氧饱和度 (SpO2) 测量。该器件支持多达八个可切换发光二极管 (LED) 和四个光电二极管。可以定义多达 24 个信号相位,并且能够以同步方式从每个相位获取信号。光电二极管的电流通过跨阻放大器 (TIA) 转换为电压,并使用模数转换器 (ADC) 进行数字化。ADC 代码可存储在 128 样本的先入先出 (FIFO) 块中。可以使用 SPI 接口对 FIFO 进行读取。这款 AFE 还配有带 8 位电流控制的全集成 LED 驱动器。该器件具有宽动态范围的发送和接收电路,有助于检测超小信号电平。

  • 支持多达 24 个相位的信号采集
  • 在每个相位内均可实现灵活的 8 个 LED、4 个 PD 分配
  • 从不同的传感器以不同的数据速率同时采集信号
  • 精确、连续的心率监测:
    • 在 16µA PD 电流下系统 SNR 高达 108dB
    • 以低电流在可穿戴设备上持续运行,其典型值为:LED 为 15µA,接收器为 20µA
  • 发送器:
    • 支持共阳极 LED 配置
    • 8 位可编程 LED 电流,可调范围为 25mA 至 250mA
    • 可点亮两个并联 LED 且具有独立的每相位电流控制功能的模式
    • 每相位可编程 LED 导通时间
    • 同时支持 8 个 LED,适用于 SpO2、HRM 或多波长 HRM
  • 接收器:
    • 支持 4 路时分多路复用光电二极管输入
    • 2 个并行接收器(两组 TIA/滤波器)
    • 每个 TIA 输入端具有单独的环境失调电压消减 DAC,具有 8 位的每相位控制功能和高达 255µA 的可调范围
    • 每个 TIA 输入端具有单独的 LED 失调电压消减 DAC,具有 5 位的每相位控制功能和 15.5µA 的范围
    • 接近 100dB 的环境抑制,频率高达 10Hz
    • 具有可编程带宽的噪声滤波功能
    • 跨阻增益:3.7kΩ 至 1MΩ
  • 支持外部时钟和内部振荡器模式
  • 可选择以与系统主时钟同步的方式获取数据
  • 自动环境、LED 直流消除
  • 采样深度为 128 的 FIFO
  • SPI 接口
  • 2.6mm × 2.1mm DSBGA 封装,0.4mm 间距
  • 电源:Rx:1.7V-1.9V(LDO 旁路);1.9V-3.6V(LDO 启用),Tx:3V-5.5V,IO:1.7-3.6V
ApplicationsHRV, Optical-HRM, SpO2, Vo2 max
Number of input channels4
Resolution (Bits)22
Number of LEDs8
Interface typeSPI
Operating temperature range (°C)-40 to 85
RatingCatalog
DSBGA (YZ)304.8 mm² 2.4 x 2
产品购买
  • 商品型号
  • 封装
  • 工作温度
  • 包装
  • 价格
  • 现货库存
  • 操作
10s
温馨提示:
订单商品问题请移至我的售后服务提交售后申请,其他需投诉问题可移至我的投诉提交,我们将在第一时间给您答复
返回顶部