h1_key

TI(德州仪器) ADC12DJ3200QML-SP
德州仪器 (TI) 全系列产品在线购买
  • TI(德州仪器) ADC12DJ3200QML-SP
  • TI(德州仪器) ADC12DJ3200QML-SP
  • TI(德州仪器) ADC12DJ3200QML-SP
  • TI(德州仪器) ADC12DJ3200QML-SP
  • TI(德州仪器) ADC12DJ3200QML-SP
  • TI(德州仪器) ADC12DJ3200QML-SP
立即查看
您当前的位置: 首页 > 数据转换器 > 模数转换器 (ADC) > 高速 ADC (≥10MSPS) > ADC12DJ3200QML-SP
ADC12DJ3200QML-SP

ADC12DJ3200QML-SP

正在供货

耐辐射加固保障 (RHA)、QMLV、300krad、12 位、双通道 3.2GSPS 或单通道 6.4GSPS ADC

产品详情
  • 说明
  • 特性
  • 参数
  • 封装 | 引脚 | 尺寸

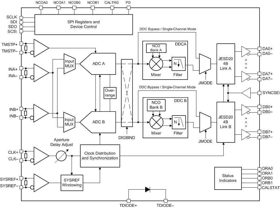
ADC12DJ3200QML-SP 器件是一款射频采样千兆采样模数转换器 (ADC),可对从直流到 10GHz 以上的输入频率进行直接采样。在双通道模式下,ADC12DJ3200QML-SP 的采样率高达 3200MSPS。在单通道模式下,该器件的采样率高达 6400MSPS。通道数(双通道模式)和奎斯特带宽(单通道模式)的可编程交换功能可用于开发灵活的硬件,以满足高通道数或宽瞬时信号带宽应用的需求。7GHz 的全功率输入带宽 (–3dB),可用频率在双通道和单通道模式下均超过 –3dB,可对频率捷变系统的 L、S、C 和 X 带进行直接射频采样。

ADC12DJ3200QML-SP 采用具有多达 16 个串行信道和子类 1 合规性的高速 JESD204B 输出接口,可实现确定性延迟和多器件同步。串行输出信道支持高达 12.8Gbps 的速率,并可通过配置来进行位速率与信道数之间的折衷。无噪声孔径延迟 (tAD) 调节和 SYSREF 窗口等创新的同步特性,简化了合成孔径雷达 (SAR) 和相控阵 MIMO 通信的系统设计。采用双通道模式的可选数字下变频器 (DDC) 可以降低接口速率(实际和复杂抽取模式),支持数字化信号混合(仅复杂抽取模式)。

  • ADC 内核:
    • 12 位分辨率
    • 单通道模式下的采样率高达 6.4GSPS
    • 双通道模式下的采样率高达 3.2GSPS
  • 本底噪声(无信号,VFS = 1VPP-DIFF):
    • 双通道模式:-149.5dBFS/Hz
    • 单通道模式:-152.4dBFS/Hz
  • 峰值噪声功率比 (NPR):45.4dB
  • VCMI 为 0V 时的缓冲模拟输入:
    • 模拟输入带宽 (-3dB):7GHz
    • 可用输入频率范围:>10GHz
    • 满量程输入电压(VFS,默认值):0.8V VPP
  • 无噪声孔径延迟 (tAD) 调节:
    • 精确采样控制:19fs 步长
    • 温度和电压不变延迟
  • 简便易用的同步特性
    • 自动 SYSREF 计时校准
    • 样片标记时间戳
  • 符合 JESD204B 子类 1 标准的接口:
    • 最大通道速率:12.8Gbps
    • 多达 16 个通道可降低通道速率
  • 双通道模式下的数字下变频器:
    • 实际输出:DDC 旁路或双倍抽取
    • 复杂输出:4 倍、8 倍或 16 倍抽取
  • 辐射性能:
    • 电离辐射总剂量 (TID):300krad (Si)
    • 单粒子锁定 (SEL):120 MeV-cm2/mg
    • 单粒子翻转 (SEU) 抗扰度寄存器
  • 功耗:3W
Sample rate (max) (Msps)3200, 6400
Resolution (Bits)12
Number of input channels1, 2
Interface typeJESD204B
Analog input BW (MHz)7300
FeaturesUltra High Speed
RatingSpace
Peak-to-peak input voltage range (V)0.8
Power consumption (typ) (mW)3000
ArchitectureFolding Interpolating
SNR (dB)57.2
ENOB (bit)8.9
SFDR (dB)76
Operating temperature range (°C)-55 to 125
Input bufferYes
Radiation, TID (typ) (krad)300
Radiation, SEL (MeV·cm2/mg)120
CCGA-FC (NWE)196225 mm² 15 x 15
CLGA-FC (ZMX)196225 mm² 15 x 15
产品购买
  • 商品型号
  • 封装
  • 工作温度
  • 包装
  • 价格
  • 现货库存
  • 操作

很抱歉,暂时无法提供与“ADC12DJ3200QML-SP”系列相匹配的产品,您可以联系专属客服快速找货或在现货搜索框中重新搜索。

10s
温馨提示:
订单商品问题请移至我的售后服务提交售后申请,其他需投诉问题可移至我的投诉提交,我们将在第一时间给您答复
返回顶部