h1_key

TI(德州仪器) ADC12DJ3200
德州仪器 (TI) 全系列产品在线购买
  • TI(德州仪器) ADC12DJ3200
  • TI(德州仪器) ADC12DJ3200
  • TI(德州仪器) ADC12DJ3200
  • TI(德州仪器) ADC12DJ3200
  • TI(德州仪器) ADC12DJ3200
  • TI(德州仪器) ADC12DJ3200
立即查看
您当前的位置: 首页 > 数据转换器 > 模数转换器 (ADC) > 高速 ADC (≥10MSPS) > ADC12DJ3200
ADC12DJ3200

ADC12DJ3200

正在供货

12 位双通道 3.2GSPS 或单通道 6.4GSPS 射频采样模数转换器 (ADC)

产品详情
  • 说明
  • 特性
  • 参数
  • 封装 | 引脚 | 尺寸

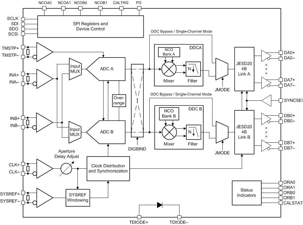
ADC12DJ3200 器件是一款射频采样千兆采样模数转换器 (ADC),可对从直流到 10GHz 以上的输入频率进行直接采样。在双通道下,ADC12DJ3200 的最大采样率为 3200MSPS,单通道模式下的最大采样率为 6400MSPS。通道数(双通道模式)和奎斯特带宽(单通道模式)的可编程交换功能可用于开发灵活的硬件,以满足高通道数或宽瞬时信号带宽 应用的需求。8.0GHz 的全功率输入带宽 (-3dB),可用频率在双通道和单通道模式下均超过 -3dB,可对频率捷变系统的 L、S、C 和 X 频带进行直接射频采样。

ADC12DJ3200 采用具有多达 16 个串行通道和子类 1 兼容性的高速 JESD204B 输出接口,可实现确定性延迟和多器件同步。串行输出通道支持高达 12.8Gbps 的速率,并可配置交换位速率和通道数。 创新同步 具有无噪声孔径延迟 (TAD) 调节和 SYSREF 窗口等创新的同步特性,简化了相控阵雷达和 MIMO 通信的系统设计。 采用双通道模式的可选数字下变频器 (DDC) 可以降低接口速率(实际和复杂抽取模式),支持数字化信号混合(仅复杂抽取模式)。

  • ADC 内核:
    • 12 位分辨率
    • 单通道模式下采样率高达 6.4GSPS
    • 双通道模式下采样率高达 3.2GSPS
  • 性能规格:
    • 本底噪声(无信号,VFS = 1.0VPP-DIFF):
      • 双通道模式:–151.8dBFS/Hz
      • 单通道模式:–154.6dBFS/Hz
    • HD2、HD3:–65dBc,高达 3GHz
  • VCMI 为 0V 时的缓冲模拟输入:
    • 模拟输入带宽 (-3dB):8.0GHz
    • 可用输入频率范围:>10GHz
    • 满量程输入电压(VFS,默认值):0.8VPP
    • 模拟输入共模电压 (VICM):0V
  • 无噪声孔径延迟 (TAD) 调节:
    • 采样精度控制:19fs 步长
    • 简化同步和交错
    • 温度和电压不变延迟
  • 简便易用的同步 特性:
    • 自动 SYSREF 计时校准
    • 样片标记时间戳
  • JESD204B 串行数据接口:
    • 支持子类 0 和 1
    • 最大通道速率:12.8Gbps
    • 多达 16 个通道可降低通道速率
  • 双通道模式下的数字下变频器:
    • 实际输出:DDC 旁路或双倍抽取
    • 复杂输出:4 倍、8 倍或 16 倍抽取
    • 每个 DDC 均具有四个独立的 32 位 NCO
  • 功耗:3W
  • 电源电压:1.1V、1.9V
Sample rate (max) (Msps)3200, 6400
Resolution (Bits)12
Number of input channels1, 2
Interface typeJESD204B
Analog input BW (MHz)8000
FeaturesUltra High Speed
RatingCatalog
Peak-to-peak input voltage range (V)0.8
Power consumption (typ) (mW)3000
ArchitectureFolding Interpolating
SNR (dB)57.6
ENOB (bit)9
SFDR (dB)75
Operating temperature range (°C)-40 to 85
Input bufferYes
FCCSP (AAV)144100 mm² 10 x 10
FCCSP (ZEG)144100 mm² 10 x 10
产品购买
  • 商品型号
  • 封装
  • 工作温度
  • 包装
  • 价格
  • 现货库存
  • 操作
10s
温馨提示:
订单商品问题请移至我的售后服务提交售后申请,其他需投诉问题可移至我的投诉提交,我们将在第一时间给您答复
返回顶部