h1_key

TI(德州仪器) ADS131E08S
德州仪器 (TI) 全系列产品在线购买
  • TI(德州仪器) ADS131E08S
  • TI(德州仪器) ADS131E08S
  • TI(德州仪器) ADS131E08S
  • TI(德州仪器) ADS131E08S
  • TI(德州仪器) ADS131E08S
  • TI(德州仪器) ADS131E08S
立即查看
您当前的位置: 首页 > 数据转换器 > 模数转换器 (ADC) > 精密 ADC > ADS131E08S
ADS131E08S

ADS131E08S

正在供货

用于电源监控和保护、具有快速启动功能的 24 位 64kSPS 8 通道同步采样 Δ-Σ ADC

产品详情
  • 说明
  • 特性
  • 参数
  • 封装 | 引脚 | 尺寸

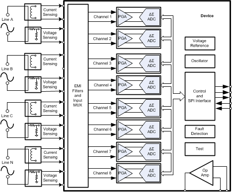
ADS131E08S 是一款多通道、同步采样、24 位 Δ-Σ (ΔΣ) 模数转换器 (ADC)。该转换器内置可编程增益放大器 (PGA)、内部基准和内部振荡器。凭借 DC 的宽动态范围、可扩展数据传输速率以及内部故障监视器,ADS131E08S 受到工业电源监控、控制和保护 应用的青睐的严格功耗要求。短暂上电时间支持在由线路供电的电源应用上电后的 3ms 内 提供数据的严格功耗要求。真正的高阻抗输入支持 ADS131E08S 直接与电阻分压器网络或电压互感器相连以测量线路电压或与电流互感器或罗戈夫斯基线圈相连来测量电流。凭借高集成度和优异性能,ADS131E08S 可在大幅缩减尺寸、降低功耗并削减总成本的前提下构建可扩展的工业电源系统。

ADS131E08S 的各通道均配有一个独立的输入多路复用器。该多路复用器可独立连接内部生成的信号,从而进行测试以及温度和故障检测。故障检测可使用集成比较器以及由数模转换器 (DAC) 控制的触发电平在器件内部实现。ADS131E08S 最高可在 64kSPS 的数据传输速率下运行。

这种完整的模拟前端 (AFE) 解决方案采用 64 引脚 TQFP 封装,其额定工业温度范围为 -40°C 至 +105°C。

  • 上电时间:3ms
  • 八个差分同步采样输入
  • 高性能:
    • 1kSPS 时的动态范围:118dB
    • 串扰:-125dB
    • 总谐波失真 (THD):50Hz 和 60Hz 频率下为 -100dB
  • 低功耗:2mW/通道
  • 数据传输速率:1、2、4、8、16、32 和 64kSPS
  • 增益选项:1、2、4、8 和 12
  • 内部基准电压温漂:8ppm/°C
  • 电源电压范围:
    • 模拟:
      • 2.7V 至 5.25V(单极)
      • ±2.5V(双极)
    • 数字:1.7V 至 3.6V
  • 故障检测和器件自测功能
  • SPI™兼容数据接口和四个 GPIO
  • 封装:64 引脚 TQFP
  • 工作温度范围:–40°C 至 +105°C
Resolution (Bits)24
Sample rate (max) (ksps)64
Number of input channels8
Interface typeSPI
ArchitectureDelta-Sigma
Input typeDifferential, Pseudo-Differential
Multichannel configurationSimultaneous Sampling
RatingCatalog
Reference modeInternal
Input voltage range (max) (V)4
Input voltage range (min) (V)0
FeaturesDaisy-Chainable, GPIO, Oscillator, PGA
Operating temperature range (°C)-40 to 105
Power consumption (typ) (mW)2
Analog supply (min) (V)2.7
Analog supply voltage (max) (V)5.25
SNR (dB)108
Digital supply (min) (V)1.7
Digital supply (max) (V)3.6
TQFP (PAG)64144 mm² 12 x 12
产品购买
  • 商品型号
  • 封装
  • 工作温度
  • 包装
  • 价格
  • 现货库存
  • 操作
10s
温馨提示:
订单商品问题请移至我的售后服务提交售后申请,其他需投诉问题可移至我的投诉提交,我们将在第一时间给您答复
返回顶部