h1_key

TI(德州仪器) ADC3444
德州仪器 (TI) 全系列产品在线购买
  • TI(德州仪器) ADC3444
  • TI(德州仪器) ADC3444
  • TI(德州仪器) ADC3444
  • TI(德州仪器) ADC3444
  • TI(德州仪器) ADC3444
  • TI(德州仪器) ADC3444
立即查看
您当前的位置: 首页 > 数据转换器 > 模数转换器 (ADC) > 高速 ADC (≥10MSPS) > ADC3444
ADC3444

ADC3444

正在供货

四通道、14 位、125MSPS 模数转换器 (ADC)

产品详情
  • 说明
  • 特性
  • 参数
  • 封装 | 引脚 | 尺寸

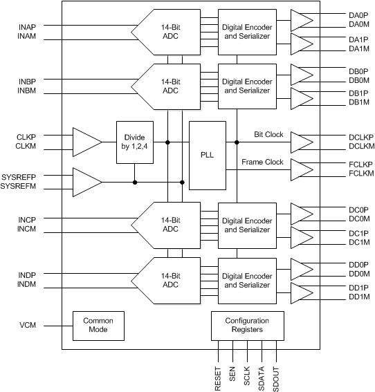
ADC344x 器件属于高线性度、超低功耗、四通道、14 位、25MSPS 至 125MSPS 模数转换器 (ADC) 系列。此类器件专门设计用于支持具有宽动态范围需求且要求苛刻的高输入频率信号。输入时钟分频器可给予系统时钟架构设计更高的灵活性,同时 SYSREF 输入可实现整个系统同步。

ADC344x 系列支持串行低压差分信令 (LVDS),从而减少接口线路的数量,实现高系统集成密度。串行 LVDS 接口为双线制,通过两个 LVDS 对串行输出每个 ADC 数据。此外,也可提供单线制串行 LVDS 接口。内部锁相环 (PLL) 会将传入的 ADC 采样时钟加倍,以获得串行输出各通道的 14 位输出数据时所使用的位时钟。除了串行数据流之外,数据帧和位时钟也作为 LVDS 输出进行传送。

  • 四通道
  • 14 位分辨率
  • 单电源:1.8V
  • 串行低压差分信号 (LVDS) 接口
  • 支持 1 分频、2 分频和 4 分频的灵活输入时钟缓冲器
  • fIN = 70MHz 时,信噪比 (SNR) = 72.4dBFS,无杂散动态范围 (SFDR) = 87dBc
  • 超低功耗:
    • 125MSPS 时为每通道 98mW
  • 通道隔离:105dB
  • 内部抖动和斩波
  • 支持多芯片同步
  • 与 12 位版本器件之间具有引脚到引脚兼容性
  • 封装:超薄四方扁平无引线 (VQFN)-56 (8mm x 8mm)
Sample rate (max) (Msps)125
Resolution (Bits)14
Number of input channels4
Interface typeSerial LVDS
Analog input BW (MHz)540
FeaturesLow Power
RatingCatalog
Peak-to-peak input voltage range (V)2
Power consumption (typ) (mW)391
ArchitecturePipeline
SNR (dB)73
ENOB (bit)11.8
SFDR (dB)93
Operating temperature range (°C)-40 to 85
Input bufferNo
VQFN (RTQ)5664 mm² 8 x 8
产品购买
  • 商品型号
  • 封装
  • 工作温度
  • 包装
  • 价格
  • 现货库存
  • 操作
10s
温馨提示:
订单商品问题请移至我的售后服务提交售后申请,其他需投诉问题可移至我的投诉提交,我们将在第一时间给您答复
返回顶部