h1_key

TI(德州仪器) ADC31JB68
德州仪器 (TI) 全系列产品在线购买
  • TI(德州仪器) ADC31JB68
  • TI(德州仪器) ADC31JB68
  • TI(德州仪器) ADC31JB68
  • TI(德州仪器) ADC31JB68
  • TI(德州仪器) ADC31JB68
  • TI(德州仪器) ADC31JB68
立即查看
您当前的位置: 首页 > 数据转换器 > 模数转换器 (ADC) > 高速 ADC (≥10MSPS) > ADC31JB68
ADC31JB68

ADC31JB68

正在供货

16 位、500MSPS 模数转换器 (ADC)

产品详情
  • 说明
  • 特性
  • 参数
  • 封装 | 引脚 | 尺寸

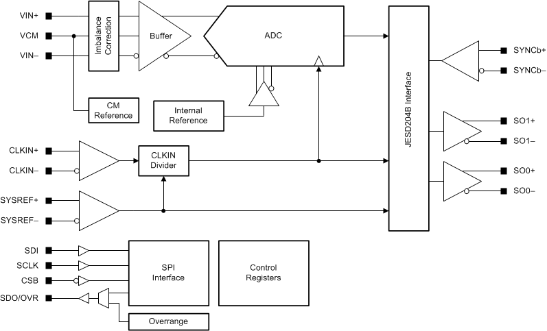
ADC31JB68 是一款低功耗、宽带宽、16 位、500MSPS 模数转换器 (ADC)。已缓冲模拟输入在最大程度减少采样保持毛刺脉冲能量的同时,在宽频率范围内提供统一的输入阻抗。该器件的旨在对高达 1.3GHz 的输入信号进行采样。

ADC31JB68 以超低功耗在较大输入频率范围内提供出色的无杂散动态范围 (SFDR)。片上抖动提供非常干净的本底噪声。嵌入式前景和背景校准在温度范围内提供稳定性能,并将零件间偏差降到最低。

该器件支持 JESD204B 串行接口,两个通道的数据速率均高达 5Gbps,从而实现高系统集成密度。

ADC31JB68 采用 6mm × 6mm、40 引脚 QFN 封装。


  • 单通道
  • 16 位分辨率
  • 最大时钟速率:500Msps
  • 小型 40 引脚四方扁平无引线 (QFN) 封装 (6mm x 6mm)
  • 输入缓冲器输入带宽 (3dB):1300MHz
  • 孔径抖动:80fs
  • 片上时钟分频器:/1、/2 和 /4
  • 片上抖动
  • 使用前台和后台校准实现稳定动态性能
  • 输入幅值和相位调整
  • 输入满量程:1.7 Vpp
  • 电源:1.2/1.8/3V
  • JESD204B 接口
    • 与子类别 1 兼容
    • 双通道,速率为 5Gbps
  • 支持多芯片同步
  • 主要技术规格
    • 功耗:500Msps 时为 915mW
    • fin = 210MHz (–1dBFS) 条件下的性能
      • 信噪比 (SNR):69.3dBFS
      • 噪声频谱密度 (NSD):–153.3dBFS/Hz
      • 无杂散动态范围 (SFDR):80dBc
      • 非 HD2,HD3:–91dBFS
    • fin = 450MHz (–1dBFS) 条件下的性能
      • SNR:67dBFS
      • NSD:–151dBFS/Hz
      • SFDR:77dBc(HD2,HD3)
      • 非 HD2,HD3:-89dBFS
Sample rate (max) (Msps)500
Resolution (Bits)16
Number of input channels1
Interface typeJESD204B
Analog input BW (MHz)1300
FeaturesHigh Performance
RatingCatalog
Peak-to-peak input voltage range (V)1.7
Power consumption (typ) (mW)915
ArchitecturePipeline
SNR (dB)70.6
ENOB (bit)11.3
SFDR (dB)83
Operating temperature range (°C)-40 to 85
Input bufferYes
WQFN (RTA)4036 mm² 6 x 6
产品购买
  • 商品型号
  • 封装
  • 工作温度
  • 包装
  • 价格
  • 现货库存
  • 操作
10s
温馨提示:
订单商品问题请移至我的售后服务提交售后申请,其他需投诉问题可移至我的投诉提交,我们将在第一时间给您答复
返回顶部