h1_key

TI(德州仪器) ADS4146
德州仪器 (TI) 全系列产品在线购买
  • TI(德州仪器) ADS4146
  • TI(德州仪器) ADS4146
  • TI(德州仪器) ADS4146
  • TI(德州仪器) ADS4146
  • TI(德州仪器) ADS4146
  • TI(德州仪器) ADS4146
立即查看
您当前的位置: 首页 > 数据转换器 > 模数转换器 (ADC) > 高速 ADC (≥10MSPS) > ADS4146
ADS4146

ADS4146

正在供货

14 位、160MSPS 模数转换器 (ADC)

产品详情
  • 说明
  • 特性
  • 参数
  • 封装 | 引脚 | 尺寸

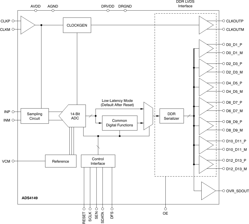
The ADS412x/4x are a family of 12-bit/14-bit analog-to-digital converters (ADCs) with sampling rates up to 250MSPS. These devices use innovative design techniques to achieve high dynamic performance, while consuming extremely low power at 1.8V supply. The devices are well-suited for multi-carrier, wide bandwidth communications applications.

The ADS412x/4x have fine gain options that can be used to improve SFDR performance at lower full-scale input ranges, especially at high input frequencies. They include a dc offset correction loop that can be used to cancel the ADC offset. At lower sampling rates, the ADC automatically operates at scaled down power with no loss in performance.

The ADS412x/4x are available in a compact QFN-48 package and are specified over the industrial temperature range (–40°C to +85°C)

  • Maximum Sample Rate: 250MSPS
  • Ultralow Power with 1.8V Single Supply:
    • 201mW Total Power at 160MSPS
    • 265mW Total Power at 250MSPS
  • High Dynamic Performance:
    • SNR: 70.6dBFS at 170MHz
    • SFDR: 84dBc at 170MHz
  • Dynamic Power Scaling with Sample Rate
  • Output Interface:
    • Double Data Rate (DDR) LVDS with Programmable Swing and Strength
      • Standard Swing: 350mV
      • Low Swing: 200mV
      • Default Strength: 100Ω Termination
      • 2x Strength: 50Ω Termination
    • 1.8V Parallel CMOS Interface Also Supported
  • Programmable Gain up to 6dB for SNR/SFDR Trade-Off
  • DC Offset Correction
  • Supports Low Input Clock Amplitude Down To 200mVPP
  • Package: QFN-48 (7mm × 7mm)

PowerPAD is a trademark of Texas Instruments Incorporated.
All other trademarks are the property of their respective owners.

Sample rate (max) (Msps)160
Resolution (Bits)14
Number of input channels1
Interface typeDDR LVDS, Parallel CMOS
Analog input BW (MHz)800
FeaturesLow Power
RatingCatalog
Peak-to-peak input voltage range (V)2
Power consumption (typ) (mW)200
ArchitecturePipeline
SNR (dB)72.2
ENOB (bit)11.5
SFDR (dB)88
Operating temperature range (°C)-40 to 85
Input bufferNo
VQFN (RGZ)4849 mm² 7 x 7
产品购买
  • 商品型号
  • 封装
  • 工作温度
  • 包装
  • 价格
  • 现货库存
  • 操作
10s
温馨提示:
订单商品问题请移至我的售后服务提交售后申请,其他需投诉问题可移至我的投诉提交,我们将在第一时间给您答复
返回顶部