h1_key

TI(德州仪器) ADS62P48
德州仪器 (TI) 全系列产品在线购买
  • TI(德州仪器) ADS62P48
  • TI(德州仪器) ADS62P48
  • TI(德州仪器) ADS62P48
  • TI(德州仪器) ADS62P48
  • TI(德州仪器) ADS62P48
  • TI(德州仪器) ADS62P48
立即查看
您当前的位置: 首页 > 数据转换器 > 模数转换器 (ADC) > 高速 ADC (≥10MSPS) > ADS62P48
ADS62P48

ADS62P48

正在供货

双通道、14 位、210MSPS 模数转换器 (ADC)

产品详情
  • 说明
  • 特性
  • 参数
  • 封装 | 引脚 | 尺寸

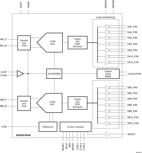
The ADS62Px9/x8 is a family of dual channel 14-bit and 12-bit A/D converters with sampling rates up to 250 MSPS. It combines high dynamic performance and low power consumption in a compact 64 QFN package. This makes it well-suited for multi-carrier, wide band-width communications applications.

The ADS62Px9/x8 has gain options that can be used to improve SFDR performance at lower full-scale input ranges. It includes a dc offset correction loop that can be used to cancel the ADC offset. Both DDR LVDS (Double Data Rate) and parallel CMOS digital output interfaces are available.

It includes internal references while the traditional reference pins and associated decoupling capacitors have been eliminated. Nevertheless, the device can also be driven with an external reference. The device is specified over the industrial temperature range (–40°C to 85°C).

  • Maximum Sample Rate: 250 MSPS
  • 14-Bit Resolution – ADS62P49/ADS62P48
  • 12-Bit Resolution – ADS62P29/ADS62P28
  • Total Power: 1.25 W at 250 MSPS
  • Double Data Rate (DDR) LVDS and Parallel CMOS Output Options
  • Programmable Gain up to 6dB for SNR/SFDR Trade-Off
  • DC Offset Correction
  • 90dB Cross-Talk
  • Supports Input Clock Amplitude Down to 400 mVPP Differential
  • Internal and External Reference Support
  • 64-QFN Package (9 mm × 9 mm)

Sample rate (max) (Msps)210
Resolution (Bits)14
Number of input channels2
Interface typeDDR LVDS, Parallel CMOS
Analog input BW (MHz)700
FeaturesHigh Performance
RatingCatalog
Peak-to-peak input voltage range (V)2
Power consumption (typ) (mW)1140
ArchitecturePipeline
SNR (dB)73.4
ENOB (bit)11.4
SFDR (dB)98
Operating temperature range (°C)-40 to 85
Input bufferNo
VQFN (RGC)6481 mm² 9 x 9
产品购买
  • 商品型号
  • 封装
  • 工作温度
  • 包装
  • 价格
  • 现货库存
  • 操作
10s
温馨提示:
订单商品问题请移至我的售后服务提交售后申请,其他需投诉问题可移至我的投诉提交,我们将在第一时间给您答复
返回顶部