h1_key

TI(德州仪器) TLV2553-Q1
德州仪器 (TI) 全系列产品在线购买
  • TI(德州仪器) TLV2553-Q1
  • TI(德州仪器) TLV2553-Q1
  • TI(德州仪器) TLV2553-Q1
  • TI(德州仪器) TLV2553-Q1
  • TI(德州仪器) TLV2553-Q1
  • TI(德州仪器) TLV2553-Q1
立即查看
您当前的位置: 首页 > 数据转换器 > 模数转换器 (ADC) > 精密 ADC > TLV2553-Q1
TLV2553-Q1

TLV2553-Q1

正在供货

具有断电功能的汽车类 12 位 200KSPS 11 通道低功耗串行 ADC

产品详情
  • 说明
  • 特性
  • 参数
  • 封装 | 引脚 | 尺寸

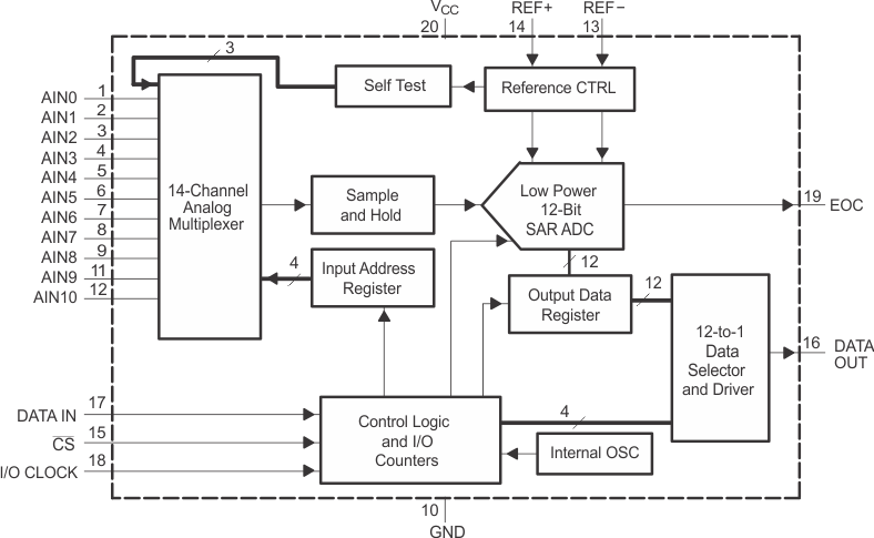
The TLV2553-Q1 is a 12-bit switched-capacitor successive-approximation analog-to-digital converter (ADC). The ADC has three control inputs [chip select (CS), the input-output clock, and the address/control input (DATAIN)] designed for communication with the serial port of a host processor or peripheral through a serial 3-state output.

In addition to the high-speed converter and versatile control capability, the device has an on-chip 14-channel multiplexer that can select any one of 11 inputs or any one of three internal self-test voltages using configuration register 1. The sample-and-hold function is automatic. At the end of conversion, when programmed as EOC, the pin 19 output goes high to indicate that conversion is complete. The converter incorporated in the device features differential high-impedance reference inputs that facilitate ratiometric conversion, scaling, and isolation of analog circuitry from logic and supply noise. A switched-capacitor design allows low-error conversion over the full operating temperature range.

The TLV2553-Q1 is characterized for operation from TA = –40°C to 85°C.

  • Qualified for Automotive Applications
  • 12-Bit-Resolution Analog-to-Digital Converter
    (ADC)
  • Up to 200-KSPS (150-KSPS for 3 V) Throughput
    Over Operating Temperature Range With 12-Bit
    Output Mode
  • 11 Analog Input Channels
  • Three Built-In Self-Test Modes
  • Inherent Sample and Hold Function
  • Linearity Error of +1 LSB (Max)
  • On-Chip Conversion Clock
  • Unipolar or Bipolar Output Operation
  • Programmable Most Significant Bit (MSB) or Least
    Significant Bit (LSB) First
  • Programmable Power Down
  • Programmable Output Data Length
  • SPI Compatible Serial Interface With I/O Clock
    Frequencies up to 15 MHz (CPOL = 0, CPHA = 0)
Resolution (Bits)12
Sample rate (max) (ksps)200
Number of input channels11
Interface typeSPI
ArchitectureSAR
Input typeSingle-ended
Multichannel configurationMultiplexed
RatingAutomotive
Reference modeExternal
Input voltage range (max) (V)5.5
Input voltage range (min) (V)0
FeaturesOscillator
Operating temperature range (°C)-40 to 85
Power consumption (typ) (mW)2.43
Analog supply (min) (V)2.7
Analog supply voltage (max) (V)5.5
Digital supply (min) (V)2.7
Digital supply (max) (V)5.5
SOIC (DW)20131.84 mm² 12.8 x 10.3
TSSOP (PW)2041.6 mm² 6.5 x 6.4
产品购买
  • 商品型号
  • 封装
  • 工作温度
  • 包装
  • 价格
  • 现货库存
  • 操作
10s
温馨提示:
订单商品问题请移至我的售后服务提交售后申请,其他需投诉问题可移至我的投诉提交,我们将在第一时间给您答复
返回顶部