h1_key

TI(德州仪器) ADS62P43
德州仪器 (TI) 全系列产品在线购买
  • TI(德州仪器) ADS62P43
  • TI(德州仪器) ADS62P43
  • TI(德州仪器) ADS62P43
  • TI(德州仪器) ADS62P43
  • TI(德州仪器) ADS62P43
  • TI(德州仪器) ADS62P43
立即查看
您当前的位置: 首页 > 数据转换器 > 模数转换器 (ADC) > 高速 ADC (≥10MSPS) > ADS62P43
ADS62P43

ADS62P43

正在供货

双通道、14 位、80MSPS 模数转换器 (ADC)

产品详情
  • 说明
  • 特性
  • 参数
  • 封装 | 引脚 | 尺寸

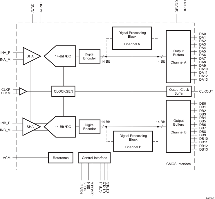
ADS62P4X is a dual channel 14-bit A/D converter family with maximum sample rates up to 125 MSPS. It combines high performance and low power consumption in a compact 64 QFN package. Using an internal sample and hold and low jitter clock buffer, the ADC supports high SNR and high SFDR at high input frequencies. It has coarse and fine gain options that can be used to improve SFDR performance at lower full-scale input ranges.

ADS62P4X includes a digital processing block that consists of several useful and commonly used digital functions such as ADC offset correction, fine gain correction (in steps of 0.05 dB), decimation by 2,4,8 and in-built and custom programmable filters. By default, the digital processing block is bypassed, and its functions are disabled.

Two output interface options exist – parallel CMOS and DDR LVDS (Double Data Rate). ADS62P4X includes internal references while traditional reference pins and associated decoupling capacitors have been eliminated. Nevertheless, the device can also be driven with an external reference. The device is specified over the industrial temperature range (–40°C to 85°C).

  • Maximum Sample Rate: 125 MSPS
  • 14-Bit Resolution with No Missing Codes
  • 95 dB Crosstalk
  • Parallel CMOS and DDR LVDS Output Options
  • 3.5 dB Coarse Gain and Programmable Fine Gain
    up to 6 dB for SNR/SFDR Trade-Off
  • Digital Processing Block with:
    • Offset Correction
    • Fine Gain Correction, in Steps of 0.05 dB
    • Decimation by 2/4/8
    • Built-in and Custom Programmable 24-Tap Low-/High-/
      Band-Pass Filters
  • Supports Sine, LVPECL, LVDS and LVCMOS Clocks and
    Amplitude Down to 400 mVPP
  • Clock Duty Cycle Stabilizer
  • Internal Reference; Supports External Reference also
  • 64-QFN Package (9mm × 9mm)
  • Pin Compatible 12-Bit Family (ADS62P2X)
Sample rate (max) (Msps)80
Resolution (Bits)14
Number of input channels2
Interface typeDDR LVDS, Parallel CMOS
Analog input BW (MHz)450
FeaturesHigh Performance
RatingCatalog
Peak-to-peak input voltage range (V)2
Power consumption (typ) (mW)587
ArchitecturePipeline
SNR (dB)74.8
ENOB (bit)12
SFDR (dB)93
Operating temperature range (°C)-40 to 85
Input bufferNo
VQFN (RGC)6481 mm² 9 x 9
产品购买
  • 商品型号
  • 封装
  • 工作温度
  • 包装
  • 价格
  • 现货库存
  • 操作
10s
温馨提示:
订单商品问题请移至我的售后服务提交售后申请,其他需投诉问题可移至我的投诉提交,我们将在第一时间给您答复
返回顶部