h1_key

TI(德州仪器) ADS61B23
德州仪器 (TI) 全系列产品在线购买
  • TI(德州仪器) ADS61B23
  • TI(德州仪器) ADS61B23
  • TI(德州仪器) ADS61B23
  • TI(德州仪器) ADS61B23
  • TI(德州仪器) ADS61B23
  • TI(德州仪器) ADS61B23
立即查看
您当前的位置: 首页 > 数据转换器 > 模数转换器 (ADC) > 高速 ADC (≥10MSPS) > ADS61B23
ADS61B23

ADS61B23

正在供货

12 位、80MSPS 模数转换器 (ADC)

产品详情
  • 说明
  • 特性
  • 参数
  • 封装 | 引脚 | 尺寸

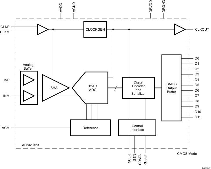
ADS61B23 is a 12-bit A/D converter (ADC) with a maximum sampling frequency of 80 MSPS. It combines high performance and low power consumption in a compact 32-QFN package. The analog inputs use buffers to isolate the switching transients of the internal sample & hold from the external driving circuit. The buffered inputs present very low input capacitance (< 2pF) & wide bandwidth. This makes it easy to drive them at high input frequencies, compared to an ADC without the input buffers.

ADS61B23 has coarse and fine gain options that are used to improve SFDR performance at lower full-scale analog input ranges.

The digital data outputs are parallel CMOS or DDR LVDS (Double Data Rate). Several features exist to ease data capture—controls for output clock position and output buffer drive strength, plus LVDS current and internal termination programmability.

The output interface type, gain, and other functions are programmed using a 3-wire serial interface. Alternatively, some of these functions are configured using dedicated parallel pins so the device starts in the desired state after power-up.

ADS61B23 includes internal references, while eliminating the traditional reference pins and associated external decoupling. External reference mode is also supported.

  • Maximum Sample Rate: 80 MSPS
  • 12-bit Resolution with No Missing Codes
  • Buffered Analog Inputs with
    • Very Low Input Capacitance (< 2 pF)
    • High DC Resistance (5 k)
  • 82 dBc SFDR and 70 dBFS SNR
    (-1 BFS or 1.8 Vpp input)
  • 85 dBc SFDR (-6 dBFS or 1 Vpp input)
  • 3.5 dB Coarse Gain and up to 6 dB Programmable Fine Gain for SNR and SFDR Trade-Off
  • Parallel CMOS and Double Data Rate (DDR) LVDS Output Options
  • Supports Sine, LVCMOS, LVPECL, LVDS Clock Inputs and Clock Amplitude Down to 400 mVPP
  • Clock Duty Cycle Stabilizer
  • Internal Reference with Support for External Reference
  • External Decoupling Eliminated for References
  • Programmable Output Clock Position and Drive Strength to Ease Data Capture
  • 3.3 V Analog and 1.8 V to 3.3 V Digital Supply
  • 32-pin QFN Package (5 mm × 5 mm)
  • Pin Compatible 12-Bit Family (ADS612X)
  • Temperature range -40°C to 85°C
  • APPLICATIONS
    • Wireless Communications Infrastructure
    • Software Defined Radio
    • Power Amplifier Linearization
    • 802.16d/e
    • Test and Measurement Instrumentation
    • High Definition Video
    • Medical Imaging
    • Radar Systems

Sample rate (max) (Msps)80
Resolution (Bits)12
Number of input channels1
Interface typeDDR LVDS, Parallel CMOS
Analog input BW (MHz)450
FeaturesLow Power
RatingCatalog
Peak-to-peak input voltage range (V)2
Power consumption (typ) (mW)351
ArchitecturePipeline
SNR (dB)70.2
ENOB (bit)11.3
SFDR (dB)87
Operating temperature range (°C)-40 to 85
Input bufferYes
VQFN (RHB)3225 mm² 5 x 5
产品购买
  • 商品型号
  • 封装
  • 工作温度
  • 包装
  • 价格
  • 现货库存
  • 操作
10s
温馨提示:
订单商品问题请移至我的售后服务提交售后申请,其他需投诉问题可移至我的投诉提交,我们将在第一时间给您答复
返回顶部