h1_key

TI(德州仪器) ADS6124
德州仪器 (TI) 全系列产品在线购买
  • TI(德州仪器) ADS6124
  • TI(德州仪器) ADS6124
  • TI(德州仪器) ADS6124
  • TI(德州仪器) ADS6124
  • TI(德州仪器) ADS6124
  • TI(德州仪器) ADS6124
立即查看
您当前的位置: 首页 > 数据转换器 > 模数转换器 (ADC) > 高速 ADC (≥10MSPS) > ADS6124
ADS6124

ADS6124

正在供货

12 位、105MSPS 模数转换器 (ADC)

产品详情
  • 说明
  • 特性
  • 参数
  • 封装 | 引脚 | 尺寸

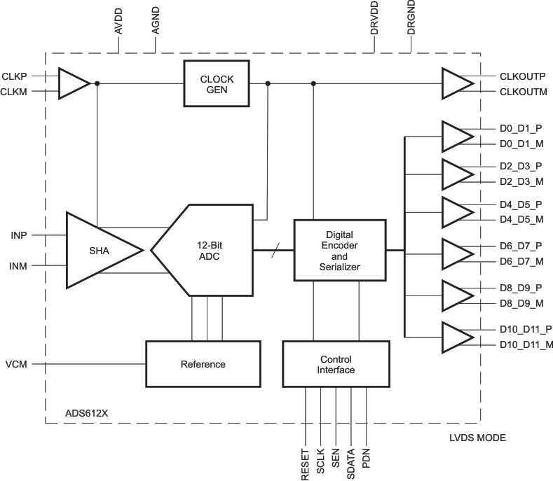
ADS6125/ADS6124/ADS6123/ADS6122 (ADS612X) is a family of 12-bit A/D converters with sampling frequencies up to 125 MSPS. It combines high performance and low power consumption in a compact 32 QFN package. Using an internal high bandwidth sample and hold and a low jitter clock buffer helps to achieve high SNR and high SFDR even at high input frequencies.

It features coarse and fine gain options that are used to improve SFDR performance at lower full-scale analog input ranges.

The digital data outputs are either parallel CMOS or DDR LVDS (Double Data Rate). Several features exist to ease data capture such as — controls for output clock position and output buffer drive strength, and LVDS current and internal termination programmability.

The output interface type, gain, and other functions are programmed using a 3-wire serial interface. Alternatively, some of these functions are configured using dedicated parallel pins so that the device comes up in the desired state after power-up.

ADS612X includes internal references, while eliminating the traditional reference pins and associated external decoupling. External reference mode is also supported.

The devices are specified over the industrial temperature range (-40°C to 85°C).

  • Maximum Sample Rate: 125 MSPS
  • 12-Bit Resolution with No Missing Codes
  • 3.5 dB Coarse Gain and up to 6 dB Programmable Fine Gain for SNR/SFDR Trade-Off
  • Parallel CMOS and Double Data Rate (DDR) LVDS Output Options
  • Supports Sine, LVCMOS, LVPECL, LVDS Clock Inputs and Clock Amplitude Down to 400 mVPP
  • Clock Duty Cycle Stabilizer
  • Internal Reference with Support for External Reference
  • No External Decoupling Required for References
  • Programmable Output Clock Position and Drive Strength to Ease Data Capture
  • 3.3 V Analog and 1.8 V to 3.3 V Digital Supply
  • 32-QFN Package (5 mm × 5 mm)
  • Pin Compatible 12-Bit Family (ADS612X)
  • APPLICATIONS
    • Wireless Communications Infrastructure
    • Software Defined Radio
    • Power Amplifier Linearization
    • 802.16d/e
    • Test and Measurement Instrumentation
    • High Definition Video
    • Medical Imaging
    • Radar Systems
Sample rate (max) (Msps)105
Resolution (Bits)12
Number of input channels1
Interface typeDDR LVDS, Parallel CMOS
Analog input BW (MHz)500
FeaturesLow Power
RatingCatalog
Peak-to-peak input voltage range (V)2
Power consumption (typ) (mW)374
ArchitecturePipeline
SNR (dB)71.5
ENOB (bit)11.5
SFDR (dB)91
Operating temperature range (°C)-40 to 85
Input bufferNo
VQFN (RHB)3225 mm² 5 x 5
产品购买
  • 商品型号
  • 封装
  • 工作温度
  • 包装
  • 价格
  • 现货库存
  • 操作
10s
温馨提示:
订单商品问题请移至我的售后服务提交售后申请,其他需投诉问题可移至我的投诉提交,我们将在第一时间给您答复
返回顶部