h1_key

TI(德州仪器) TSC2046E
德州仪器 (TI) 全系列产品在线购买
  • TI(德州仪器) TSC2046E
  • TI(德州仪器) TSC2046E
  • TI(德州仪器) TSC2046E
  • TI(德州仪器) TSC2046E
  • TI(德州仪器) TSC2046E
  • TI(德州仪器) TSC2046E
立即查看
您当前的位置: 首页 > 数据转换器 > 集成型和特殊功能数据转换器 > 触摸屏控制器 > TSC2046E
TSC2046E

TSC2046E

正在供货

具有低压数字 I/O 和扩展 ESD 保护的 4 线触摸屏控制器

产品详情
  • 说明
  • 特性
  • 参数
  • 封装 | 引脚 | 尺寸

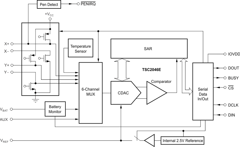
The TSC2046E is the next-generation version of the ADS7846 4-wire touch screen controller, supporting a low-voltage I/O interface from 1.5V to 5.25V. The TSC2046E is 100% pin-compatible with the existing ADS7846, and drops into the same socket. This design allows for an easy upgrade of current applications to the new version. The TSC2046E also has an on-chip 2.5V reference that can be used for the auxiliary input, battery monitor, and temperature measurement modes. The reference can also be powered down when not used to conserve power. The internal reference operates down to a supply voltage of 2.7V, while monitoring the battery voltage from 0V to 6V.

The low-power consumption of < 0.75mW typ at 2.7V (reference off), high-speed (up to 125kHz sample rate), and on-chip drivers make the TSC2046E an ideal choice for battery-operated systems such as personal digital assistants (PDAs) with resistive touch screens, pagers, cellular phones, and other portable equipment. The TSC2046E is available in TSSOP-16, QFN-16, and VFBGA-48 packages and is specified over the -40°C to +85°C temperature range.

  • Same Pinout as ADS7846
  • 2.2V to 5.25V Operation
  • 1.5V to 5.25V Digital I/O
  • Internal 2.5V Reference
  • Direct Battery Measurement (0V to 6V)
  • OnChip Temperature Measurement
  • Touch-Pressure Measurement
  • QSPi™ and SPI™ 3-Wire Interface
  • Auto Power-Down
  • Exceeds IEC 61000-4-2 ESD Requirements
    • ±15V Contact Discharge
    • No External Components Needed
  • Available In TSSOP-16, QFN-16, and VFBGA-48 Packages
  • APPLICATIONS
    • Personal Digital Assistants
    • Portable Instruments
    • Point-of-Sale Terminals
    • Pagers
    • Touch Screen Monitors
    • Cellular Phones

SPI and QSPI are trademarks of Motorola Inc.

Microwire is a trademark of National Semiconductor Corporation.

All other trademarks are the property of their respective owners.

SAR ADC resolution (Bits)12
SAR sample rate (max) (ksps)125
Touch panel4-Wire
Control interfaceSPI
Vref (int/ext)Internal
RatingCatalog
Operating temperature range (°C)-40 to 85
Analog supply (min) (V)2.2
Analog supply voltage (max) (V)5.25
I/O supply voltage (min) (V)1.5
I/O supply voltage (max) (V)5.25
Input typeSingle-ended
TSSOP (PW)1632 mm² 5 x 6.4
VQFN (RGV)1616 mm² 4 x 4
产品购买
  • 商品型号
  • 封装
  • 工作温度
  • 包装
  • 价格
  • 现货库存
  • 操作
10s
温馨提示:
订单商品问题请移至我的售后服务提交售后申请,其他需投诉问题可移至我的投诉提交,我们将在第一时间给您答复
返回顶部