h1_key

TI(德州仪器) TLV2556
德州仪器 (TI) 全系列产品在线购买
  • TI(德州仪器) TLV2556
  • TI(德州仪器) TLV2556
  • TI(德州仪器) TLV2556
  • TI(德州仪器) TLV2556
  • TI(德州仪器) TLV2556
  • TI(德州仪器) TLV2556
立即查看
您当前的位置: 首页 > 数据转换器 > 模数转换器 (ADC) > 精密 ADC > TLV2556
TLV2556

TLV2556

正在供货

具有内部参考的 12 位 200KSPS 11 通道低功耗串行 ADC

产品详情
  • 说明
  • 特性
  • 参数
  • 封装 | 引脚 | 尺寸

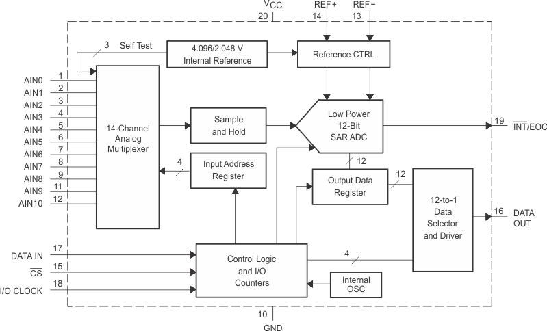
The TLV2556 device is a 12-bit switched-capacitor successive-approximation analog-to-digital converter (ADC). The ADC has three control inputs: chip select (CS), the input-output clock, and the address and control input (DATAIN). These inputs communicate with the serial port of a host processor or peripheral through a serial 3-state output.

In addition to the high-speed converter and versatile control capability, the device has an on-chip 14-channel multiplexer that can select any one of 11 inputs or any one of three internal self-test voltages using configuration register 1. The sample-and-hold function is automatic. At the end of conversion, when programmed as EOC, the pin 19 output goes high to indicate that conversion is complete. If pin 19 is programmed as INT, the signal goes low when the conversion is complete. The converter incorporated in the device features differential, high-impedance reference inputs that facilitate ratiometric conversion, scaling, and isolation of analog circuitry from logic and supply noise. A switched-capacitor design allows low error conversion over the full operating temperature range. An internal reference is available and its voltage level is programmable through configuration register 2 (CFGR2).

The TLV2556 is characterized for operation from TA = –40°C to +85°C.

  • 12-Bit Resolution Analog-to-Digital Converter
    (ADC)
  • Up to 200-kSPS (150-kSPS for 3 V) Throughput
    Over Operating Temperature Range With 12-Bit
    Output Mode
  • 11 Analog Input Channels
  • Three Built-In Self-Test Modes
  • Inherent Sample and Hold Function
  • Programmable Reference Source (2.048 / 4.096 V
    Internal or External)
  • Inherent Sample and Hold Function
  • Linearity Error of ±1 LSB (Maximum)
  • On-Chip Conversion Clock
  • Programmable Conversion Status Output: INT
    or EOC
  • Unipolar or Bipolar Output Operation
  • Programmable Most Significant Bit (MSB) or Least
    Significant Bit (LSB) First
  • Programmable Power Down
  • Programmable Output Data Length
  • SPI-Compatible Serial Interface With I/O Clock
    Frequencies Up to 15 MHz (CPOL = 0,
    CPHA = 0)
Resolution (Bits)12
Sample rate (max) (ksps)200
Number of input channels11
Interface typeSPI
ArchitectureSAR
Input typeSingle-ended
Multichannel configurationMultiplexed
RatingCatalog
Reference modeExternal, Internal
Input voltage range (max) (V)5.5
Input voltage range (min) (V)0
FeaturesOscillator
Operating temperature range (°C)-40 to 85
Power consumption (typ) (mW)2.43
Analog supply (min) (V)2.7
Analog supply voltage (max) (V)5.5
SNR (dB)69.5
Digital supply (min) (V)2.7
Digital supply (max) (V)5.5
SOIC (DW)20131.84 mm² 12.8 x 10.3
TSSOP (PW)2041.6 mm² 6.5 x 6.4
产品购买
  • 商品型号
  • 封装
  • 工作温度
  • 包装
  • 价格
  • 现货库存
  • 操作
10s
温馨提示:
订单商品问题请移至我的售后服务提交售后申请,其他需投诉问题可移至我的投诉提交,我们将在第一时间给您答复
返回顶部