h1_key

TI(德州仪器) OPA197-Q1
德州仪器 (TI) 全系列产品在线购买
  • TI(德州仪器) OPA197-Q1
  • TI(德州仪器) OPA197-Q1
  • TI(德州仪器) OPA197-Q1
  • TI(德州仪器) OPA197-Q1
  • TI(德州仪器) OPA197-Q1
  • TI(德州仪器) OPA197-Q1
立即查看
您当前的位置: 首页 > 放大器 > 运算放大器 (op amps) > 精密运算放大器 (Vos<1mV) > OPA197-Q1
OPA197-Q1

OPA197-Q1

正在供货

汽车类单通道 36V、轨至轨输入/输出、低失调电压精密运算放大器

产品详情
  • 说明
  • 特性
  • 参数
  • 封装 | 引脚 | 尺寸

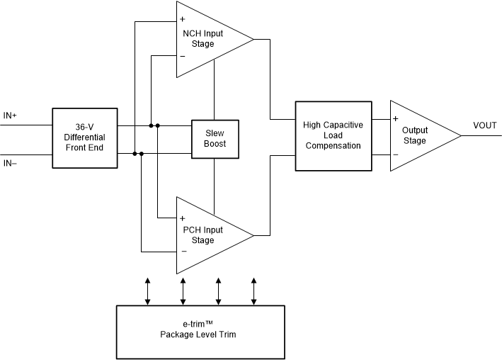
OPAx197-Q1 系列(OPA197-Q1、OPA2197-Q1 和 OPA4197-Q1)是新一代 36V e-trim™ 运算放大器的一部分。OPAx197-Q1 系列 e-trim 运算放大器使用专有的封装级修整方法,在塑模成型工艺之后的最后制造步骤中实现失调和失调温度漂移。该方法可更大限度地减少固有的输入晶体管不匹配的影响和在封装成型过程中引入的误差。

这些器件具有出色的直流精度和交流性能,包括轨至轨输入/输出、低失调电压(典型值为 ±5µV)、低温漂(典型值为 ±0.2µV/°C)和 10MHz 带宽。

OPAx197-Q1 具有独特功能,例如电源轨的差分输入电压范围、高输出电流 (±65mA)、高达 1nF 的高容性负载驱动以及高压摆率 (20V/µs),是一款稳定可靠的高性能运算放大器,适用于各种高电压工业应用。

  • 符合面向汽车应用的 AEC-Q100 标准:
    • 温度等级 1:–40°C 至 +125°C,TA
  • 低失调电压:±250µV(最大值)
  • 低失调电压漂移:±0.2µV/°C
  • 低噪声:1 kHz 时为 5.5nV/√Hz
  • 高共模抑制:140 dB
  • 低偏置电流:±5pA
  • 轨至轨输入和输出
  • 宽带宽:10 MHz GBW
  • 高压摆率:20V/µs
  • 低静态电流:每个放大器 1 mA
  • 宽电源电压:±2.25V 至 ±18V,4.5V 至 36V
  • EMI/RFI 滤波输入
  • 电源轨的差分输入电压范围
  • 高容性负载驱动能力:1nF
  • 行业标准封装:
    • 采用超小型 8 引脚 VSSOP 封装的单通道和双通道
    • 14 引脚 TSSOP 四通道
Number of channels1
Total supply voltage (+5 V = 5, ±5 V = 10) (max) (V)36
Total supply voltage (+5 V = 5, ±5 V = 10) (min) (V)4.5
Vos (offset voltage at 25°C) (max) (mV)0.25
GBW (typ) (MHz)10
FeaturesEMI Hardened, High Cload Drive, MUX Friendly, e-Trim™
Slew rate (typ) (V/µs)20
Rail-to-railIn, Out
Offset drift (typ) (µV/°C)0.5
Iq per channel (typ) (mA)1
Vn at 1 kHz (typ) (nV√Hz)5.5
CMRR (typ) (dB)140
RatingAutomotive
Operating temperature range (°C)-40 to 125
TI functional safety categoryFunctional Safety-Capable
Input bias current (max) (pA)20
Iout (typ) (A)0.065
ArchitectureCMOS
Input common mode headroom (to negative supply) (typ) (V)-0.1
Input common mode headroom (to positive supply) (typ) (V)0.1
Output swing headroom (to negative supply) (typ) (V)0.095
Output swing headroom (to positive supply) (typ) (V)-0.095
THD + N at 1 kHz (typ) (%)0.00008
VSSOP (DGK)814.7 mm² 3 x 4.9
产品购买
  • 商品型号
  • 封装
  • 工作温度
  • 包装
  • 价格
  • 现货库存
  • 操作
10s
温馨提示:
订单商品问题请移至我的售后服务提交售后申请,其他需投诉问题可移至我的投诉提交,我们将在第一时间给您答复
返回顶部