h1_key

TI(德州仪器) DAC7634
德州仪器 (TI) 全系列产品在线购买
  • TI(德州仪器) DAC7634
  • TI(德州仪器) DAC7634
  • TI(德州仪器) DAC7634
  • TI(德州仪器) DAC7634
  • TI(德州仪器) DAC7634
  • TI(德州仪器) DAC7634
立即查看
您当前的位置: 首页 > 数据转换器 > 数模转换器 (DAC) > 精密 DAC (≤10MSPS) > DAC7634
DAC7634

DAC7634

正在供货

16 位四通道电压输出数模转换器

产品详情
  • 说明
  • 特性
  • 参数
  • 封装 | 引脚 | 尺寸

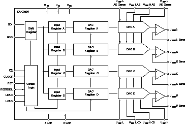
The DAC7634 is a 16-bit, quad voltage output, digital-to-analog converter with specified 15-bit monotonic performance over the specified temperature range. It accepts 24-bit serial input data, has double-buffered DAC input logic (allowing simultaneous update of all DACs), and provides a serial data output for daisy-chaining multiple DACs. Programmable asynchronous reset clears all registers to a mid-scale code of 8000H or to a zero-scale of 0000H. The DAC7634 can operate from a single 5-V supply or from 5-V and -5 V supplies.

Low power and small size per DAC make the DAC7634 ideal for automatic test equipment, DAC-per-pin programmers, data acquisition systems, and closed-loop servo-control. The DAC7634 is available in a 48-lead SSOP package and offers specifications over the -40°C to 85°C temperature range.

  • Low Power: 10 mW
  • Unipolar or Bipolar Operation
  • Settling Time: 10 µs to 0.003%
  • 15-Bit Linearity and Monotonicity: -40°C to 85°C
  • Programmable Reset to Mid-Scale or Zero-Scale
  • Double-Buffered Data Inputs
  • APPLICATIONS
    • Process Control
    • Closed-Loop Servo-Control
    • Motor Control
    • Data Acquisition Systems
    • DAC-Per-Pin Programmers

Resolution (Bits)16
Number of DAC channels4
Interface typeSPI
Output typeBuffered Voltage
Settling time (µs)10
FeaturesReset to Mid-Scale, SDO
Reference typeExt
ArchitectureR-2R
RatingCatalog
Output range (max) (mA/V)2.5
Output range (min) (mA/V)-2.5
Sample/update rate (Msps)0.089
Power consumption (typ) (mW)7.5
Operating temperature range (°C)-40 to 85
SSOP (DL)48164.358 mm² 15.88 x 10.35
产品购买
  • 商品型号
  • 封装
  • 工作温度
  • 包装
  • 价格
  • 现货库存
  • 操作
10s
温馨提示:
订单商品问题请移至我的售后服务提交售后申请,其他需投诉问题可移至我的投诉提交,我们将在第一时间给您答复
返回顶部