h1_key

TI(德州仪器) ADS800
德州仪器 (TI) 全系列产品在线购买
  • TI(德州仪器) ADS800
  • TI(德州仪器) ADS800
  • TI(德州仪器) ADS800
  • TI(德州仪器) ADS800
  • TI(德州仪器) ADS800
  • TI(德州仪器) ADS800
立即查看
您当前的位置: 首页 > 数据转换器 > 模数转换器 (ADC) > 高速 ADC (≥10MSPS) > ADS800
ADS800

ADS800

正在供货

12 位、40MSPS ADC 单端/差分输入内部基准电压,引脚与 ADS801/2 兼容

产品详情
  • 说明
  • 特性
  • 参数
  • 封装 | 引脚 | 尺寸

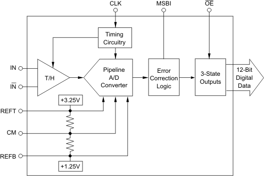
The ADS800 is a low power, monolithic 12-bit, 40MHz Analog-to-Digital (A/D) converter utilizing a small geometry CMOS process. This complete converter includes a 12-bit quantizer, wideband track/hold, reference and three-state outputs. It operates from a single +5V power supply and can be configured to accept either differential or single-ended input signals.

The ADS800 employs digital error correction to provide excellent Nyquist differential linearity performance for demanding imaging applications. Its low distortion, high SNR and high oversampling capability give it the extra margin needed for telecommunications, test instrumentation and video applications.

This high performance A/D converter is specified over temperature for AC and DC performance at a 40MHz sampling rate. The ADS800 is available in an SO-28 package.

  • LOW POWER: 390mW
  • INTERNAL REFERENCE
  • WIDEBAND TRACK/HOLD: 65MHz
  • SINGLE +5V SUPPLY
  • APPLICATIONS
    • IF AND BASEBAND DIGITIZATION
    • DIGITAL COMMUNICATIONS
    • ULTRASOUND IMAGING
    • GAMMA CAMERAS
    • TEST INSTRUMENTATION
    • CCD IMAGING
      • Copiers
      • Scanners
      • Cameras
    • VIDEO DIGITIZING

All trademarks are the property of their respective owners.

Sample rate (max) (Msps)40
Resolution (Bits)12
Number of input channels1
Interface typeParallel CMOS
Analog input BW (MHz)65
FeaturesLow Power
RatingCatalog
Peak-to-peak input voltage range (V)2
Power consumption (typ) (mW)390
ArchitecturePipeline
SNR (dB)64
ENOB (bit)10
SFDR (dB)72
Operating temperature range (°C)-40 to 85
Input bufferNo
SOIC (DW)28184.37 mm² 17.9 x 10.3
产品购买
  • 商品型号
  • 封装
  • 工作温度
  • 包装
  • 价格
  • 现货库存
  • 操作
10s
温馨提示:
订单商品问题请移至我的售后服务提交售后申请,其他需投诉问题可移至我的投诉提交,我们将在第一时间给您答复
返回顶部